При наличии в основании покрытий пучинистых и просадочных грунтов вместо дождеприемных колодцев устраиваются дождеприемники мелкого заложения – дождеприемные воронки.
Дождеприемники и тальвежные колодцы устанавливаются Сбольшей стороной, перпендикулярно оси лотка, а также во всех замкнутых понижениях и в конце лотков. Расстояния между колодцами принимаются в пределах 100–300 м. Указанные расстояния уточня-
ются г дравл ческ ми расчетами [4].
Водозахватывающая (пропускная) способность дождеприемных приемныхи тальвежных колодцев должна обеспечивать отвод расчетных расходов, форм рующ хся в открытых лотках. Основные размеры дожде-
тальвежных колодцев, т. е. принимающие отверстие, емкость, д аметрбАотводящей тру ы (перепуска), определяют гидравлическим расчетом.
Д И
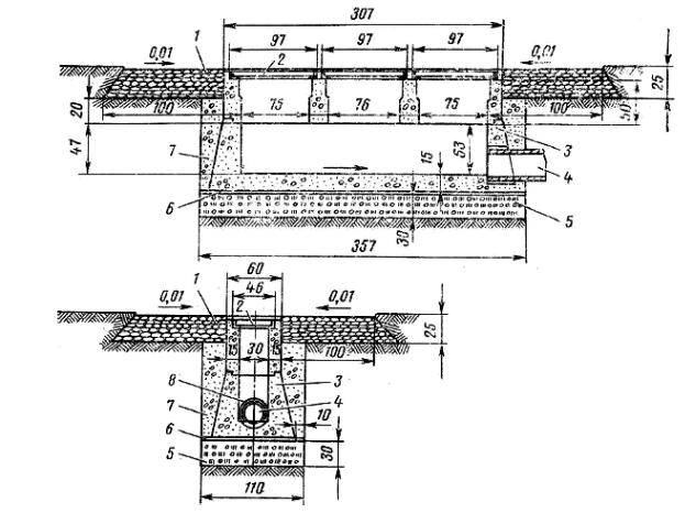
Рис. 6.7. Конструкция тальвежного колодца:
1 – щебеночная отмостка с пропиткой битумом на 6–8 см; 2 – решетка; 3 – стенки колодца; 4 – перепуск; 5 – шлаковая подушка;
6 – слой цементного раствора состава 1:6–1:8; 7 – водоустойчивый грунт; 8 – прокладка из просмоленной пеньки толщиной 1,0–1,5 см
81
Расчет водозахватывающей способности дождеприемных и тальвежных колодцев производят по формулам
|
|
|
|
V2 |
|
3 |
|
|
|
|
|
|
|
|
|
|
|
|
|
|
|
|||||||
|
|
|
2 |
|
|
|
|
|
|
|
|
|
отв |
|
|
|
||||||||||||
Q |
1,45 L h |
|
|
|
|
|
|
|
|
при h0 ≤c |
|
|
, |
|
(6.24) |
|||||||||||||
|
|
|
|
|
|
|
|
|
|
|
|
|||||||||||||||||
С |
|
|
|
|
|
|
|
|
|
|
|
|
|
|
|
|
|
|
|
|
|
|
|
|
|
|
||
П |
|
|
2g |
|
|
|
|
|
|
|
|
|
|
|
|
р |
|
|
||||||||||
|
|
|
|
|
|
|
|
|
|
|
|
|
|
|
|
|
|
|
||||||||||
QП |
2 отв |
h |
V2 |
при h0 |
> c |
отв |
, |
|
(6.25) |
|||||||||||||||||||
и |
|
|
2g |
|
|
|
|
|
|
|
|
|
|
|
|
|
|
р |
|
м3/с; |
||||||||
|
|
|
способность дождеприемника, |
|
||||||||||||||||||||||||
где QП – водозахватывающая |
|
|||||||||||||||||||||||||||
L – дл на водосл вного фронта по периметру решетки, м; h – глуби- |
||||||||||||||||||||||||||||
на потока перед решеткой, м; h0 – напор потока перед решеткой, м |
||||||||||||||||||||||||||||
бА |
|
|
||||||||||||||||||||||||||
|
|
|
|
h0=h + |
V2 |
, |
|
|
|
|
|
|
(6.26) |
|||||||||||||||
|
|
|
|
|
|
|
|
|
|
|
|
|
|
|
2g |
|
|
|
|
|
|
|
|
|
||||
где V – скорость подхода воды к решетке, равная Vлот, м/с; ωр – пло- |
||||||||||||||||||||||||||||
щадь всей решетки, м2; ωотв |
|
|
– |
|
|
площадь |
|
отверстий решетки, м2; |
||||||||||||||||||||
с – ширина дождеприемника, м. |
|
|
|
|
|
|
|
|
|
|
|
|
|
|
|
|
|
|
|
|
|
|
||||||
Диаметр перепускных труб от дождеприемных и тальвежных |
||||||||||||||||||||||||||||
колодцев к коллекторам определяют по формуле |
|
|
||||||||||||||||||||||||||
|
|
|
|
|
|
|
|
|
|
|
|
|
|
|
|
|
|
|||||||||||
|
D=0,536 |
|
|
|
|
|
Q |
, |
|
|
|
|
|
|
(6.27) |
|||||||||||||
|
|
|
|
|
|
|
|
|
|
|
|
|
|
|
|
|
||||||||||||
|
|
|
|
|
|
H |
|
|
|
|
|
|||||||||||||||||
|
|
|
|
|
|
|
|
|
|
|
|
|
|
|
|
|
|
|
|
|
|
|
||||||
где Q – расчетный расход, равный пропускной способности трубы, м3/с; |
||||||||||||||||||||||||||||
|
|
|
|
|
|
|
|
|
|
|
|
|
|
|
|
|
|
|
|
|
|
И |
||||||
μ – коэффициент расхода, определяемый при длине перепуска |
Ln и |
|||||||||||||||||||||||||||
предварительно принятом диаметреДтруб D по формуле |
|
|
||||||||||||||||||||||||||
|
|
|
|
|
|
|
|
|
|
|
|
I |
|
, |
|
|
|
|
|
(6.28) |
||||||||
|
|
|
|
|
|
|
|
|
|
|
|
LП |
|
|
|
|
|
|
|
|
|
|||||||
|
|
|
0,211 |
|
|
|
1,5 |
|
|
|
|
|
|
|
||||||||||||||
|
|
|
|
|
|
1,33 |
|
|
|
|
|
|
|
|||||||||||||||
|
|
|
|
|
|
|
|
|
|
|
D |
|
|
|
|
|
|
|
|
|
||||||||
где Н = Н' +LП·I – располагаемый напор при истечении воды в смотровом колодце из перепуска в атмосферу (здесь Н'– глубина дождеприемника, м; I – уклон перепуска).
После расчета по (6.28) коэффициента μ при предварительно заданном диаметре трубопровода D производят расчет по (6.27) и срав-
82
нивают полученный диаметр с принятым. Если они отличаются более чем на 5%, изменяют заданный D и повторяют расчет и т.д.
6.1.6. Расчет глубинного дренажа
При проектировании мероприятий по понижению уровня грунтовых вод под искусственными покрытиями и на отдельных участках грунтовых летных полос наиболее часто встречаются следующие
случаи глуб нного дренажа: |
|
имеют |
|
|
- с стемат ческ й, рассчитываемый на случай, когда подземные |
Своды пополняются за счет инфильтрации атмосферных осадков и не |
|
|
ясно выраженного направления потока; |
|
- однол нейный в виде одиночных дрен, рассчитываемых на по- |
|
бА |
нижен е уровня потока грунтовых вод. |
|
|
В случае расчета систематического дренажа определяют рас- |
стояния между дренами в зависимости от нормы осушения и глубины |
|
заложен я дрены, вел чину притока воды в дрены, диаметры труб |
|
дрен, понижение уровня грунтовых вод на различных удалениях от |
|
дрен. |
При расчете одиночных дрен определяют величину притока во- |
|
|
ды в дрену, диаметр труб дрен, величины понижения уровня грунтовой воды на различном удалении от дрены и предел действия (радиуса влияния) дрены.
водоупора производят расчет дренажаДнесовершенного типа, закладываемого выше водоупора. Ниже приведены расчетные формулы для различных случаев расчета глубинных дрен (системы дрен и одиночных дрен).
При неглубоком залегании водоупора производят расчет дренажа совершенного типа, укладываемого с целью полного перехвата подземных вод на поверхность водоупора. При глубоком залегании
6.1.6.1. Систематический дренаж, дрены на водоупоре
И
Расстояние между дренами (рис. 6.8, а, I). определяют по формуле
E = 2 (H – S) |
k |
, |
(6.29) |
|
u |
|
|
83
где Е – расстояние между дренами, м; Н – мощность водоносного слоя до водоупора (глубина дрены), м; S – норма осушения посередине между дренами, м (принимают для песчаных и супесчаных грунтов 0,6 м; для суглинистых и глинистых – 0,8 м); k – коэффициент филь-
С |
|
|
|
|
|
|
|
и |
|
|
|
||||
бА |
|
||||||
Рис. 6.8. Расчетные схемы глубинного дренажа: |
|
||||||
а – систематического; б– однолинейного; |
|
||||||
|
|
|
Д |
|
|||
I – совершенный тип; II – несовершенный тип |
|
||||||
Расход воды (м3/сут), поступающий в одну дрену при питании |
|||||||
ее с двух сторон равен |
Q = k · E · l, |
|
|
(6.30) |
|||
|
|
|
|||||
где l – длина дрены. |
|
|
|
|
И |
||
|
|
|
|
|
|
|
|
Уравнение кривой депрессии определяется уравнением |
|
||||||
|
|
|
|
|
|
|
|
|
y = |
u |
(E x x2 ) h02 , |
(6.31) |
|||
|
|
||||||
|
|
|
k |
|
|
|
|
трации, м/сут, принимаемый для песка 1,0; супеси – 0,3;
суглинка – 0,1 и глины – 0,02 м/сут; u – коэффициент инфильтрации дождевых осадков в грунт, м/сут, принимается для песка – 0,0054; супеси и сугл нка – 0,0041 и глины – 0,0030 м/сут.
где h0 – глубина воды в трубе дрены, м.
84
6.1.6.2. Систематический дренаж, дрена выше водоупора
Расстояние между дренами (рис. 6.8, а, II) находится подбором в соответствии с формулой
С |
|
|
u |
|
|
|
|
Е |
|
|
|
, |
(6.32) |
||||
H |
S |
|
|
|
|
|
Еln |
|
|
(Е d) |
|||||||
2d k |
d |
||||||||||||||||
|
|
|
|
|
|
|
|
|
|
|
|||||||
где d – д аметр трубы дрены радиусом г, м. |
|
|
|||||||||||||||
и |
|
|
|
|
|
|
|
|
|
|
|||||||
Расход воды, поступающей в дрену с двух сторон при длине |
|||||||||||||||||
дрены l в м, рассч тывается по формуле (6.30). |
|
||||||||||||||||
Уравнен е кр вой депрессии |
|
|
|
|
|
||||||||||||
бАq |
|
||||||||||||||||
|
|
|
|
u |
|
|
E |
|
|
|
x |
|
|
(6.33) |
|||
|
y |
|
|
|
|
|
|
2 |
ln |
|
r |
(x r) . |
|||||
|
|
|
|
2d k |
|
|
|
|
|
|
|||||||
6.1.6.3. Однолинейный дренаж, дрена расположена на водоупоре (рис. 6.8, б, 1).
Питание дрены – грунтовый поток, поступающий извне (без пополнения инфильтрацией).
Приток воды, поступающий в дрену с одной стороны, определяется как
|
k(h2 h2 ) |
|
|
|
0 |
, |
(6.34) |
|
2L |
||
где q – приток воды, поступающий на 1 пог. м дрены, м3/сут; |
k – ко- |
||
|
|
И |
|
эффициент фильтрации водоносного слоя, м/сут; h – мощность водо- |
|||
носного слоя и h=H · S, м; h0 |
Д– глубина воды в трубе дрены, м; |
||
L = (h – h0)/Icp – предел действия (радиус влияния) дрены, м; 1ср – средний уклон кривой депрессии, принимаемы для песка – 0,006; су-
песи – 0,035; суглинка – 0,075; глины – 0,125.
Суммарный расход воды в дрене, м3/с |
|
Q = q·l. |
(6.35) |
Уравнение кривой депрессии – формула (6.37). |
|
85