Материал: 1645

Внимание! Если размещение файла нарушает Ваши авторские права, то обязательно сообщите нам

Тема №2

Знакомство с программным продуктом АУРС-СибАДИ – автоматизация управления ресурсами дорожной сети

Цель работы: изучить возможности управление производственной программы по содержанию дорог с использованием программного комплекса АУРС-СибАДИ.

Ход выполнения работы

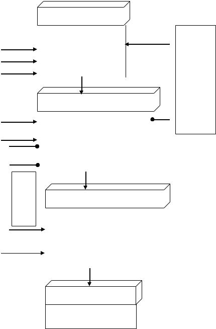
В лабораторной и курсовой работе расчет ведется в двух взаимно увязанных блоках AРС (автоматизированных расчет смет) и УРС (управление региональной сетью), схема взаимодействия которых представлена на рис. 2 ее рекомендуется выполнять в строгом соответствии со следующим алгоритмом (рис.1):

Исходная

 

 

 

 

 

 

 

 

 

 

 

 

 

 

 

 

 

 

 

 

 

 

 

 

 

 

 

 

 

 

 

 

 

 

 

I. AРС

 

 

 

 

 

 

 

 

 

информация

 

 

 

 

 

 

 

 

 

 

 

 

 

 

 

 

 

 

 

 

 

 

 

 

 

 

связьи

 

 

 

 

 

 

 

 

 

 

 

 

 

 

 

 

 

 

 

 

 

 

Создание объектов:

 

 

 

 

 

 

 

 

 

 

 

 

 

 

 

 

 

 

 

Требования

 

 

 

 

 

 

лето

 

 

 

 

 

 

нормативаСоздание соответствующимс интервалом

 

 

 

 

 

 

зима

 

 

 

 

 

 

заказчика.

 

 

 

 

 

 

 

 

 

 

 

 

 

 

 

 

 

Набор видов работ

 

 

 

 

 

 

Нормативные

 

 

 

 

 

 

 

 

 

 

 

требования.

 

 

 

 

 

 

1.Создание базы на сеть дорог

 

 

 

 

 

 

 

 

 

 

 

 

 

 

 

 

 

Парк машин.

 

 

 

 

 

 

 

 

 

 

 

 

 

 

 

 

 

 

 

 

 

 

 

 

 

 

 

 

 

 

 

 

 

 

 

 

 

 

 

 

 

 

 

 

 

 

 

 

 

 

 

 

 

 

 

 

 

 

 

 

 

 

 

 

 

 

II. УРС

 

 

 

 

 

 

 

 

 

 

 

 

 

 

 

 

 

 

 

 

 

 

 

 

 

 

 

 

 

 

 

 

 

 

 

 

 

 

 

 

 

 

 

 

 

 

 

 

 

 

 

 

 

 

 

Паспортные

 

 

 

 

2.Отчет конструктивных

 

 

 

 

 

 

 

данные на

 

 

 

 

 

 

 

 

 

 

элементов на 1км. Получение

 

 

дороги.

 

 

 

 

 

 

 

 

 

 

Э

 

 

Климатические

 

 

 

 

 

 

 

 

 

 

3.Ввод

 

 

данные.

 

 

 

 

 

 

 

 

 

 

Ц, Б

 

 

Нормативные

 

 

 

 

 

 

 

 

 

 

 

 

 

 

 

 

 

 

 

 

 

 

 

 

 

 

 

 

 

 

 

 

 

 

 

 

 

 

 

 

 

требования.

 

•Э

 

 

 

 

 

 

 

 

 

 

 

 

 

 

 

 

 

 

 

 

 

 

 

 

 

 

 

 

 

 

 

 

 

 

 

 

 

 

 

 

 

 

 

 

 

 

 

 

 

 

 

 

 

 

 

 

 

 

 

 

 

 

 

 

Ц•Б

 

 

 

 

III. AРС

 

 

 

 

 

 

 

 

 

 

 

 

 

 

 

 

 

 

 

 

 

 

 

 

 

 

Объекты:

 

 

 

 

W=

 

 

 

 

 

 

 

 

 

 

 

 

лето

 

 

 

 

 

 

 

 

 

 

 

 

 

 

 

 

 

 

зима

 

 

Стоимость

 

 

 

 

 

 

Автоматический ввод объемов

 

 

ресурсов

 

 

 

 

 

 

Расчет ресурсовРасчет смет

 

 

 

 

 

 

 

 

 

 

 

 

 

 

 

 

 

 

 

 

 

 

 

 

 

 

 

 

 

 

 

 

 

 

 

 

IV. УРС

Получение ресурсов на сеть дорог

Рис. 1. Алгоритм работы с программой АУРС – СибАДИ для получения отчетов потребных ресурсов по подрядчику

11

 

Ресурсные нормативы

 

 

Нормативы на содержание 1км дорог,

 

 

 

 

 

 

ресурсы на дорогу,

 

 

 

 

 

 

 

 

 

ресурсы по подрядчику,

 

 

 

 

 

ресурсы на содержание территории

АРС – автоматизированный расчет смет ресурсным методом

 

 

 

 

 

 

РТМ (ресурсно-

Цены

 

технологические

ресурсов

 

модели)

(текущие,

 

 

базисные)

 

 

 

 

Техника

 

Объекты:

 

 

Материалы

 

Калькуляции

лето

 

Трудовые ресурсы

стоимости

зима

 

ресурсов

 

 

 

 

Транспортные схемы

 

 

 

 

 

Локальная

ресурсная

ведомость и смета

Подрядчик

Объемы АРС

УРС - управление ресурсами при содержании сети дорог

Административный

Дорога (элементы

район

дороги)

Дорожно-

 

климатический

Тип местности

район (ДКР)

 

Климатические

Административное

характеристики

значение

Объемно-

Техническая

технологические

категория

параметры (Б)

 

Коэффициенты

Эксплуатационная

цикла (Ц)

категория

Уровни

Вид покрытия

содержания

 

 

 

 

 

 

 

 

Расчет объемов по видам работ в АРС

 

 

 

 

 

 

 

 

Конструктивные

 

Формулы расчета

 

 

 

 

элементы (Э)

Значения Ц, Б, Э

 

 

 

 

Ц ,

Б ,

Э

 

 

 

 

 

 

 

 

 

 

Рис. 2. Схема взаимодействия AРС-УРС

12

Согласно инструкциям по работе с программными комплексами ведется расчет:

I. AРС.

1. В позиции «Сметный расчет» создать два объекта на зимнее и летнее содержание. В каждом объекте набрать виды работ согласно заданной сети дорог, путем выбора заданного шифра, указанного на каждый вид работ. При наборе работ объемы по интервалам не заполняются.

2. Полностью заполнить меню «Подготовка данных».

II. УРС.

1.В массиве «Подготовка данных» заполнить поля в соответствии с заданием:

-административный район; -наименование дороги, сооружения; -подрядчики; -дорожно-климатический район.

Заполнение позиции КОД во всей программе является обязательным.

2.«Ввод параметров дорог и нормативов».

Формирование карточки на дорогу вести в следующей последовательности:

а) вход в меню «Ввод параметров дорог» выводит на экран параметры дороги. Выбрать административный район, наименование дороги, подрядчика и участок обслуживания;

б) ввести соответствующие данные по дорожно-климатическому району, виду покрытия, уровню содержания (в данной работе считать на допустимый уровень содержания), эксплуатационной категории, типу местности, технической категории, начальному и конечному километру участка дороги с данными параметрами;

Категории, характеризующие эксплуатационное состояние дорог присваиваются согласно ГОСТ Р 52398-2005.

в) на экране появится карточка на дорогу (участок дороги) после набора этих параметров. Далее в ней заполнить:

•в «Окно» с наименованием «Протяженность дороги» занести длину дороги, участка в км;

•в поле «Элементы дорог» ввести конструктивные элементы, используя «навигатор». Клавиша «+» вызывает на экран массив с «типами расчетных элементов». В графу «Значение» карточки на дорогу занести количество расчетных элементов на данный участок или дорогу.

13

ББ Х ббб Б Х Б Б ХХХ

Подрядчик, производственная база

Уровень содержания

Административное значение

Техническая категория (1,2,3,4,5)

Эксплуатационная категория (А,Б,В,Г1,Г2)

Тип покрытия (абп,щгп,чщб,грп и т.д.)

Тип местности ( Холмистый, Горный, Равнинный)

Административный район

Рис. 3. Структура норматива на содержание в программе АУРС

Установка административного района

Набор параметров:

•дорожно-климатический район;

•эксплуатационная категория;

•тип покрытия;

•тип местности;

•уровень содержания;

•техническая категория;

 

•административное значение.

Дорога (начальный, конечный км;

протяженность)

Ввод конструктивных элементов

Добавление норматива Тип нормы (лето, зима)

Связь с соответствующим объектом и интервалом (периодом) в программе АРС

Ввод значений параметров для расчета объемов работ по типам норм Ц и Б

Рис. 4. Блок-схема последовательности создания норматива в УРС

14

В карточке на дорогу в правом верхнем углу в автоматическом режиме присваивается код ресурсного норматива на дорогу вида 02РабпБ3ТД021. В работе возможно создание пяти или менее различных типов нормативов.

Структура норматива изображена на рис .3. Блок-схема последовательности создания норматива в УРС представлена на рис. 4.

г) после заполнения карточки на дорогу, на экране выдается поле «Добавление норматива». Нужно выбрать объект и связать его с соответствующим нормативом из программы АРС.

3. «Поиск и редактирование»

а) эта позиция позволяет просматривать и редактировать созданные карточки на дорогу,

б) в подсистеме «Ввод объемно-технологических параметров и коэффициентов необходимо заполнить массивы «Коэффициенты цикла» и «Объемно-технологические параметры» на каждый тип норм. Код коэффициента цикла обозначается буквой Ц и тремя цифрами порядкового кода, код объемнотехнологического параметра обозначается буквой Б и тремя цифрами порядкового кода.

Ввод значений Ц и Б осуществляется в автоматическом режиме при активизации соответствующей клавиши «Ввод данных». В массив данных вводят числовые значения вместо нулей. Эти значения считываются в набранный тип норматива при активизации клавиши «Ввод». Значения Ц и Б из этого массива считываются программой АРС при выполнении процедуры «Автоматический ввод объемов». (Примечание: значения Б и Ц по летне-весенне-осеннему содержанию принять по прил.4,5; по зимнему содержанию по прил. 7, 8, 9).

4. «Отчеты»

Отчет по конструктивным элементам на 1км дорог разных типов является обязательным. Этот отчет создает файл, который используется при автоматическом расчете объемов работ на содержание дорог.

При изменении конструктивных элементов в карточке на дорогу или при изменении любых параметров дорог необходимо повторить составление отчета по конструктивным элементам на 1км.

III. АРС.

1.После занесения всех необходимых данных в УРСе активизируется поле Связка с УРС

нужна

2.Произвести автоматический ввод объемов на каждый объект.

3.Определить объемно-технологический параметр Б114 (расчет приведен в табл. 1), его необходимо занести УРС, после чего сделать вновь автоматический ввод объемов на объект по зимнему содержанию.

4.Рассчитать локальные ресурсные ведомости

5.Рассчитать сметы.

IV. УРС.

1. «Поиск и редактирование».

В каталоге «Нормативы на содержание дорог на 1 км по текущему району» происходит заполнение полей после просчета смет. На основании этих данных заполняются табл. 2, 3

15