Материал: 1644

Внимание! Если размещение файла нарушает Ваши авторские права, то обязательно сообщите нам

 

Расчётные длины элементов главной фермы

Таблица 3.1

 

 

 

 

В плоскости главной фермы

 

Из плоскости главной фермы

 

 

 

 

 

 

 

 

 

 

 

 

 

Нижний пояс (

при езде понизу)

 

 

 

 

 

 

 

 

Расстояние между вертикальными

 

Допускается не рассчитывать ввиду

 

 

элементами главной фермы

 

наличия ортотропной плиты

 

 

 

 

 

 

 

Верхний пояс (

при езде понизу)

 

 

 

 

 

 

 

 

Расстоян е между верт кальными

 

Расстояние между вертикальными

 

 

тойки

 

 

ной фермы

 

 

 

элементами главной фермы

 

элементами главной фермы

 

С

 

 

, подвески, раскосы (при лю ой

решётке главной фермы, кроме кресто-

 

 

 

вой)

 

 

 

 

б

 

 

 

 

80 % дл ны элемента (между узлами

Расстояние между узлами, закреплён-

 

 

ными от смещения из плоскости глав-

 

 

главной фермы)

 

 

 

 

 

 

 

 

 

 

 

 

 

 

Раскосы (при крестовой

решётке главной фермы)

 

 

 

А

 

 

 

80% длины от узла главной фермы до

Расстояние между узлами, закреплён-

 

 

ными от смещения из плоскости глав-

 

 

узла пересечения раскосов

 

 

 

 

 

ной фермы

 

 

 

 

 

 

 

 

 

 

 

 

 

 

 

 

 

 

 

 

Таблица 3.2

 

 

Д

 

Расчётные длины элементов связей

 

 

 

В плоскости связей

 

 

Из плоскости связей

 

 

Распорки продольных связей, распорки фермы поперечных связей

 

 

Расстояние между узлами, закреплён-

Расстояние между узлами, закреплён-

 

 

ными от смещения из плоскости свя-

 

 

ными от смещения в плоскости связей

 

 

 

зей

 

 

 

 

 

 

 

 

 

 

 

 

 

 

 

Продольные связи

 

 

 

 

 

 

 

 

 

 

Расстояние от узла пересечения связи

Расстояние между узлами пересече-

 

 

 

 

 

 

с главной фермой до узла пересечения

ния связиИс главными фермами

 

 

продольных связей

 

 

 

 

 

 

Диагонали фермы

поперечных связей

 

 

 

 

 

 

 

 

Расстояние между узлами, закреплён-

Расстояние между узлами, закреплён-

 

 

ными от смещения из плоскости свя-

 

 

ными от смещения в плоскости связей

 

 

 

зей

 

 

 

 

 

 

 

 

 

 

 

 

 

 

 

21

С

 

и

 

Рис.3.1. Рекомендуемые м нимальные сечения элементов пролётного строения

 

А

 

4. бРАСЧЁТ ЭЛЕМЕНТОВ ГЛ ВНОЙ ФЕРМЫ

 

ПО ПЛОСКОЙ Р СЧЁТНОЙ СХЕМЕ

 

4.1. Сбор нагрузок на главную ферму

 

 

Д

 

Главная ферма воспринимает следующие постоянные нагрузки:

постоянная нагрузка от собственного веса элементов главной фермы;

 

постоянная нагрузка от веса поперечных балок ортотропной

 

плиты;

 

 

постоянная нагрузка от веса продольных ребер ортотропной

 

плиты;

 

постоянная нагрузка от веса листа настила ортотропной плиты;

 

вес дорожной одежды;

И

 

вес барьерных ограждений.

Для определения доли постоянных и временных нагрузок, приходящейся на одну главную ферму, допускается воспользоваться методом рычага.

qпост.нагр

Pпост.нагр

,

 

 

2 Lp

22

где Pпост.нагр - постоянная нагрузка, действующая на пролётное строение;

Lp - расчётный пролёт главной фермы.

С

 

 

 

 

 

 

 

 

и

 

 

 

 

 

 

б

 

 

 

 

 

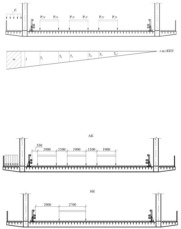
Р с.4.1. С ор временных нагрузок на главную ферму

КПУ

КПУ

 

1

y

y

0,6 y

y

0,3 y

y

;

тел

 

пол

 

А

6

 

 

 

 

2

 

 

 

 

 

 

 

 

КПУпеш w.

Загружение главной фермы временными нагрузками необходимо произвести в соответствии с рис.4.2Д-4.3.

Рис.4.2. Загружение главной фермы нагрузкойИАК

Рис.4.3. Загружение главной фермы нагрузкой НК

23

4.2. Определение усилий в элементах главной фермы

Для возможности расчёта сечений, сварных швов и болтовых

стыков необходимо получить продольную силу во всех элементах

главной фермы путем загружения линий влияния, которые следует

С

получать, используя плоскую расчётную схему главной фермы с уче-

том введения шарниров в её узлах (рис.4.4).

и

 

б

 

А

 

Д

Рис.4.4. Схема для определения продольной силы в элементах главной фермы от

 

постоянной и временной нагрузки

Продольная сила в элементе главной фермы от постоянной на-

грузки:

И

Nпост.нагр.

qпост.нагр.· w w .

Максимальная продольная сила в элементе главной фермы от временной нагрузки:

Nвр.нагр.max P y1 y2 КПУтел 1 f

w КПУпол 1 f w КПУпеш 1 f .

24

Минимальная продольная сила в элементе главной фермы от временной нагрузки:

Nвр.нагр.min P y3 y4 КПУтел 1 f

w КПУпол 1 f w КПУпеш 1 f .

Полученные в результате расчёта продольные силы в элементах главной фермы необходимо свести в таблицы – для расчёта по прочности для расчёта по выносливости (табл.4.1).

 

силы

 

 

 

 

 

 

Таблица 4.1

СПродольные

 

 

 

 

 

 

 

в элементах главной фермы

 

Элемент

 

Т п

 

 

 

 

 

Продольная сила, кН

 

 

 

 

 

 

 

 

 

 

 

 

 

 

 

 

 

 

 

 

 

 

 

 

 

 

 

 

 

 

 

 

б

 

 

 

 

 

 

 

 

ус л я

Пост + АК

 

Пост + НК

 

Пост + 2НК

 

 

В3-Н4

 

Max

 

 

 

 

 

 

 

 

 

 

 

 

 

 

Min

 

 

 

 

 

 

 

 

 

 

 

 

 

 

4.3. Расчёт по прочности элементов главной фермы

 

 

 

 

 

 

 

 

 

Д

 

Проверку по прочности по нормальным напряжениям следует

выполнять по формулеА

 

 

 

 

 

 

 

 

 

N

Ry m ,

И

 

 

 

 

 

 

A

 

 

 

 

 

 

 

 

n

 

 

где N – продольная сила;

 

 

 

 

 

 

 

 

 

 

 

 

An – площадь поперечного сечения нетто;

 

 

 

 

 

 

4.4 Расчёт по устойчивости элементов главной фермы

Расчёт по устойчивости следует выполнять по формуле

 

 

 

 

 

 

 

N

 

c Ry m ,

 

 

 

 

 

 

 

 

 

 

 

 

 

 

 

 

 

 

 

A

 

 

 

 

 

 

 

 

 

 

 

 

 

 

 

 

 

25