Затем формируется комплект землеройной техники, обеспечивающий согласованную работу. Для этого при выборе техники учитывается так называемая линейная производительность, то есть скорость продвижения техники вдоль трассы по мере выполнении работы.
Рекомендации по схеме организации работ приведены в ВСН 179-85. |
|||
Выбор техники для строительства может выполняться с использованием |
|||
С |
|
|
3 |
ЕНиР, ГЭ Н или ТЭР, в которых приведены нормы стоимости работ. |
|||
Техника для производства земляных работ выбирается из каталога. |
|||
Линейная про звод тельность определяется по формуле |
|||
и |
|
|
|
|
П = Пэ/V, |
(1.1) |
|
где Пэ – эксплуатац онная производительность техники, м /ч; V – объем |
|||
земляных работ на 1 м трассы тру опровода, м3. |
|
||
б |
|
||
Про звод тельность ульдозеров определяется по формуле |
|||
|
ПЭ |
3600 Vп kу k п |
(1.2) |
|
Tц kр |
|
|
|
А |
3 |
|
где Vп – объем грунта призмы волочения перед отвалом, м ; kу – |
|||
коэффициент, учитывающий уклон местности; kп – коэффициент, |
|||
учитывающий потери грунта при транспортировке; Тц – время рабочего |
|||
цикла бульдозера, с; kр – коэффициент разрыхления грунта. |
|
||
Для местности не имеющей значительного уклона kу = 1,0. Коэффициент, учитывающий потери грунта при транспортировании
|
kп = 1 – 0,005 · Lт, |
(1.3) |
|||||||
|
|
|
Д |
|
|||||
где Lт – путь транспортирования грунта, м. |
И |
||||||||
Время рабочего цикла бульдозера |
|
|
|
||||||
|
L |
|
|
L |
|
||||
Тц |
|
|
|
|
|
|
2 |
tр tс |
(1.4) |
|
|
|
|
|
|||||
|
р.х. |
з.х. |
|
|
|
||||
|
|
|
|
|
|
||||
где L – путь копания и транспортирования грунта, м; υр.х. – скорость рабочего хода бульдозера, м/с; υз.х. – скорость заднего хода бульдозера при холостом ходе, м/с; tр – время разгона бульдозера, с; tс – время подъема и опускания отвала бульдозера, с.
6
Производительность одноковшовых экскаваторов
ПЭ |
3600 Vк k |
н k в |
(1.5) |
Tц kр |
|
|
|
|
|
|
где Vк – вместимость ковша, м3; kр – коэффициент разрыхления; kн – коэффициент наполнения ковша; Тц – время рабочего цикла, с; kв – коэффициент использования по времени.
Про звод тельность траншейных экскаваторов
С |
Пт.ц |
3600 |
νц qк кн |
|
(1.6) |
|
tк кр |
|
|||
|
|
|
|||
|
Пт.р |
3600 |
qк zк nр |
k н |
(1.7) |
|
|
kр |
|
||
и |
|
|
|
||
где qк – вместобмость ковша, м3; νц – скорость движения цепи, м/с; kр – коэффиц ент разрыхлен я; kн – коэффициент наполнения ковша; tк – шаг установки ковшей, м; zк – количество ковшей на роторе, шт; nр – частота вращения ротора, /с.
Для согласования комплекта техники по производительности могут применяться несколько однотипных машин.
Данные о выбранной технике приводятся в виде таблицы 1.2. |
||||||
|
|
А |
Таблица 1.2. |
|||
|
|
|
|
|
||
|
Комплект техники для производства земляных работ |
|||||
Вид |
|
Наименование |
Линейная |
Количество |
Линейная |
|
выполняемых |
|
применяемой |
производительность |
машин |
производительность |
|
работ |
|
техники |
одной |
|
комплекта |
|
|
|
|
Д |
|
||
|
|
|
машины, м/ч |
|
машин, м/ч |
|
Удаление |
|
|
|
|
|
|
плодородного |
|
|
|
|
|
|
|
|
|
И |
|
||
слоя грунта |
|
|
|
|
||
Разработка |
|
|
|
|
|
|
траншеи |
|
|
|
|
|
|
Засыпка |
|
|
|
|
|
|
траншеи |
|
|
|
|
|
|
|
|
|
|
|
|
|
7
После этого принимается продолжительность смены, рассчитывается продолжительность выполнения работ.
Затем разрабатывается строительный генеральный план (вид сверху), на котором указывается размещение техники на полосе отвода.
Отчет должен содержать: титульный лист, схема полосы отвода с |
||
указанием параметров, строительный генеральный план расположения |
||
С |
|
|
техники на полосе отвода, параметры выбранной техники, расчеты. |
||
|
|
Вопросы для самоконтроля |
1. |
Как выб рается ш рина полосы отвода? |
|
ши |
||
2. |
Как определяются глубина и ширина траншеи? |
|
3. |
От чего зав с |
т угол откоса траншеи? |
4. |
Как определяется рина полосы рекультивации? |
|
5. |
б |
|
Возможно ли отвалы грунта складировать за границей полосы |
||
отведенной под стро |
тельство? |
|
|
|
А |
|
|
Д |
|
|
И |
8
Практическая работа №2
Расчетпараметровтехнологическойоперациипоукладке магистральноготрубопроводавтраншеюивыборэффективнойтехники
Цель – разработать проект организации укладки магистрального
трубопровода в траншею используя нормативные документы. |
|
||||||
Задачи: |
|
|
|
|
|
|
|
1. |
Рассч тать ус л я в точках подъема и расстояния между |
||||||
трубоукладч ками; |
|
|
|
|
|||
2. |
Рассч |
тать требуемое количество трубоукладчиков; |
|
||||
3. |
Выполн ть проверку трубопровода на допускаемые напряжения; |
||||||
С |
и |
грузозахватные приспособления из |
|||||
4. |
Выбрать |
тру |
|||||
каталога; |
|
|
|
|
|
|
|
5. |
Разработать документацию для производства работ (схему укладки |
||||||
трубопровода в траншею); |
|
|
|
|
|||
оукладчик6. Состав ть отчет. |
|
|
|
|
|||
|
|
|
|
Ход работы |
|
|
|
Расчет |
параметров технологической |
операции по |
укладке |
||||
|
|
б |
выполняется |
согласно |
|||
магистрального |
тру опровода |
в |
траншею |
||||
СП 34-112-97 (приложение 4). |
|
|
|
|
|||
Перед выполнением расчетов следует ознакомиться с общими |
|||||||
положениями и порядком производства работ, указанных в документе. |
|||||||
Исходные данныеАдля проектирования указаны в задании: диаметр |
|||||||
трубопровода и толщина стенки, а также грунтовые условия. Варианты |
|||||||
|
|
|
|
Д |
|||
заданий приведены в приложении .
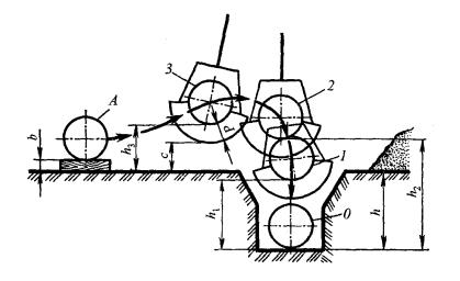
Вначале расчета на основании СП 104-34-96 определяются параметры траншеи и расположение трубопровода на бермеИ(рисунок 2.1).
Рисунок 2.1 – Траектория укладки трубопровода
9
После этого, определяются параметры укладки: высота подъема трубопровода над бермой и смещение трубопровода в горизонтальной плоскости.
Высота подъема должна учитывать технологический зазор для
подвода грузозахватных приспособлений и их размер. В качестве |
||||||||
рекомендаций можно принять технологическую высоту подъема в |
||||||||
С |
|
|
|
|
|
|
||
пределах 0,5 – 1,2 м. |
|
|
|
|
|
|
||
Затем осуществляется расчет оптимального расстояния между |
||||||||
точками подъема трубопровода и определение нагрузок в этих точках |
||||||||
(Рисунок |
2.2). |
Метод ка расчета представлена в СП |
34-112-97 |
|||||
( |
е 4). |
|
|
|
|
|
|
|
приложен |
|
|
|
|
|
|||
|
б |
|
|
|
||||
|
Рисунок 2.2 – Схема укладки трубопровода в траншею |
|
|
|||||
|
|
|
|
Д8 |
|
|||
Модуль упругости для данного расчета выбирается из параметров |
||||||||
материала трубы. |
Для |
Абольшинства сталей модуль упругости составляет |
||||||
Е = 2100 МПа. |
|
|
|
|
И |
|||
Момент инерции трубы |
|
|
||||||
|
|
|
|
J |
D3 |
|||
|
|
|
|
|
|
|
(2.1) |
|
где D – наружный диаметр трубопровода, м; δ – толщина стенки трубы, м.
После этого из каталога техники выбираются трубоукладчики, обеспечивающие требуемую грузоподъемность на необходимом вылете. Для этого используется грузовая характеристика трубоукладчиков. В случае если техника с необходимыми параметрами отсутствует, рассчитывается количество трубоукладчиков, работающих в одной точке подъема.
Далее выполняется проверка трубопровода по напряженному состоянию.
10