дезинтеграторов может отразиться на работе всей технологической линии изготовления золоцементного вяжущего и может явиться причиной значительных потерь рабочего времени. Интенсивный износ деталей и узлов установки увеличивает количество ремонтов, простоев агрегата, что вынуждает содержать большой штат рабочих-ремонтников. Из вышесказанного следует, что проблема повышения надежности приобретает особую актуальность для дезинтеграторов, используемых в дорожном строительстве. Из анализа критериев надежности (рис. 5.3) можно отметить, что повышение ремонтопригодности находится на более низком уровне применения. Однако коэффициент перспективности этого критерия имеет предпочтительное значение, что можно объяснить подачей большого количества патентов в последние годы.
Это обстоятельство можно охарактеризовать тем, что в настоящее время требуется снизить время простоев оборудования путем повышения удобства обслуживания и быстрой заменой изношенных деталей (узлов). Поэтому наблюдается тенденция развития данного направления.
LnNi |
4 |
Y1 |
|
|
|
|
|
Y2 |
|
|
|
|
|||
3 |
|
|
|
|
|||
Y3 |
|
|
|
|
|||
|
2 |
|
|
|
|
||
|
|
|
|
|
|
|
|
|
1 |
|
|
|
|
|
|
|
0 |
1970-75 |
1975-80 |
1980-85 |
1985-90 |
1990-95 |
|
|
|
Годы |
|||||
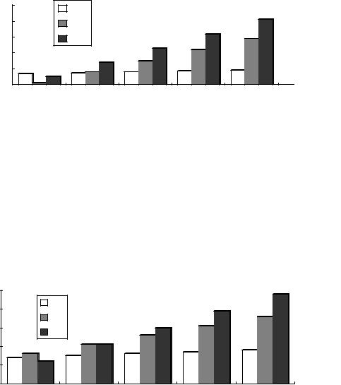
Рис. 5.3. Динамика патентования ударных мельниц по показателям надежности: Y1 – повышение ремонтопригодности (b=0,12); Y2–повышение безотказности (b=0,08); Y3 – снижение удельного износа (b=0,18)
Один из критериев надежности – повышение безотказности – находится на высоком уровне, но имеет тенденцию к снижению интереса со стороны рационализаторов, так как методы, направленные на повышение безотказности (рациональное распределение нагрузок в узлах и подбор оптимальных запасов прочности, совершенствование системы смазки в подшипниковых узлах и совершенствование привода), практически исчерпали свой ресурс, а новые методы еще не найдены.
Снижение удельного износа является одним из конкурентоспособных направлений совершенствования надежности дезинтеграторов. Уменьшить удельный износ можно путем использования износостойких материалов для изготовления или армирования рабочих органов и совершенствования конструкции рабочих органов или отдельных узлов измельчителя, а также применения износостойких материалов с одновременным усовершенствованием конструкции измельчителя /18/. Однако надо помнить, что повы-
шение ресурса рабочих элементов дезинтегратора не должно приводить к снижению эффективности измельчения. Поэтому следующими показателями, направленными на совершенствование повышения эффективности измельчения, активации и гомогенизации, являются изменения конструкций дезинтеграторов: 1) ударных элементов; 2) роторов (дисков); 3) других основных элементов (узлов).
Анализ динамики патентования изменений конструкций ударных элементов (рис. 5.4) показывает, что изменение угла атаки хоть и имеет тенденцию роста, но оно невелико. Поэтому можно сказать, что поиск оптимального угла атаки практически завершен. Однако этого нельзя сказать о других изменениях конструкции ударных элементов, таких, как изменение формы, числа рядов и количества в рядах ударных элементов. Из рисунка 5.4 видно, что при конструировании дезинтеграторов необходимо обратить особое внимание на форму ударных элементов.
LnNi |
10 |
Y 1 |
|
8 |
|||
|
Y 2 |
||
|
6 |
Y 3 |
|
|
4 |
|
|
|
2 |
|
|
|
0 |
Годы |
|
|
1970-75 |
1975-80 1980-85 1985-90 1990-95 |
Рис. 5.4. Динамика патентования изменения конструкции ударных элементов: Y1 – угла атаки (b=0,08); Y2 – числа рядов и количества в рядах ударных
элементов (b=0,28); Y3 – формы (b=0,34)
Практика показывает, что изменение расположения загрузочного патрубка и шнека относительно ротора не влияет на эффективность механоактивации. Анализ динамики патентования изменения конструкции роторов (рис. 5.5) подтверждает это высказывание. Количество патентов, поданных на изменение формы роторов с целью повышения эффективности измельчения активации, намного больше, чем количество патентов предыдущего направления. Это объясняется тем, что, изменяя форму роторов, можно получить оптимальную скорость соударения размалываемого материала.
LnN |
5 |
Y1 |
|
|
|
i |
4 |
|
|
|
|
|
Y2 |
|
|
|
|
|
3 |
|
|
|
|
|
Y3 |
|
|
|
|
|
|
|
|
|
|
|
2 |
|
|
|
|
|
1 |
|
|
|
|
|
0 |
1975-80 |
1980-85 |
1985-90 |
Годы |
|
1970-75 |
1990-95 |
Рис. 5.5. Динамика патентования изменения конструкций роторов: Y1 – расположение загрузочного патрубка и шнека относительно роторов (b=0,01); Y2 – формы (b=0,1); Y3 – монтаж дополнительных элементов
на роторах (b=0,18)
Однако самым перспективным направлением преобразования роторов является монтаж на нем дополнительных элементов (рабочего оборудования, проточек и т.д.).
Анализ динамики патентования изменения конструкции других основных элементов (узлов) дезинтеграторов показал, что установка дополнительного оборудования в рабочей камере (отражательных плит и т.д.) и преобразование конструкции корпуса исчерпали свои пути решения и перестали быть актуальными (рис. 5.6). Наряду с ними установление сепарации является одним из главных направлений, способствующих повышению эффективности измельчения активации, что подтверждается высоким коэффициентом перспективности.
LnNi |
4 |
Y1 |
|
|
|
|
3 |
Y2 |
|
|
|
|
Y3 |
|
|
|
|
|
2 |
|
|
|
|
|
|
|
|
|
|
|
1 |
|
|
|
|
|
0 |
1975-80 |
1980-85 |
1985-90 |
1990-95Годы |
|
1970-75 |
Рис.5.6. Динамика патентования изменения конструкции других основных элементов: Y1 – корпуса (b=0,02); Y2 – установки дополнительного оборудования в рабочей
камере (b=0,08); Y3 – установки сепарации (b=0,16)
С целью выявления характеристик работы дезинтеграторов в производственных целях проанализируем динамику патентования основных эксплуатационных показателей качества (рис. 5.7).
Повышение эргономичности (безопасности работы, снижения напряженности и утомляемости обслуживающего персонала и т.д.) растет интенсивнее, чем повышение мобильности и универсальности, так как мобильность дезинтеграторов удовлетворяет технологической линии дорожного строительства, а универсальность была широко изучена еще в начальные годы патентования .
Результаты детального исследования совершенствования качества дезинтеграторов, направленные на повышение эффективности механоактивации, приведены в табл. 5.1.
Если в каждой строке оснований деления по максимальным коэффициентам перспективности обвести кружком один из элементов, а затем со-
единить обведенные элементы, то получится цепочка, факторов направленная на повышение эффективности механоактивации минеральных материалов.
[p1m3] [p2m3] [p3m3] [p4m3] [p5m3] [p6m1].
Эти перспективные факторы могут быть использованы при разработке более совершенного варианта дезинтегратора.
LnNi |
3 |
|
|
Y1 |
2,5 |
|
|
Y2 |
|
|
|
|
||
|
2 |
|
|
Y3 |
|
1,5 |
|
|
|
|
|
|
|
1
0,5
0 




1970-75 1975-80 1980-85 1985-90 1990-95 Годы
Рис.5.7. Динамика патентования дезинтеграторов по эксплуатационным показателям: Y1 – повышение эргономичности (b=0,12); Y2 – повышение мобильности (b=0,1); Y3 – повышение универсальности (b=0,06)
Таблица 5.1
Распределение коэффициента перспективности по классификации, направленной на повышение качества дезинтеграторов
Основания |
|
Варианты исполнения |
|
|
|
|
|
|
|
деления Рi |
у1 |
у2 |
|
у3 |
Р1 |
0,10 |
0,18 |
|
0,26 |
Р2 |
0,12 |
0,08 |
|
0,18 |
Р3 |
0,08 |
0,28 |
|
0,34 |
Р4 |
0,01 |
0,1 |
|
0,18 |
Р5 |
0,02 |
0,08 |
|
0,16 |
Р6 |
0,12 |
0,1 |
|
0,06 |
|
|
|
|
|
6. ЭФФЕКТИВНАЯ ЭНЕРГИЯ АКТИВАЦИИ ПРИ ДЕЗИНТЕГРАЦИИ ЗОЛОЦЕМЕНТНОГО МАТЕРИАЛА
6.1. Устройство и принцип работы дезинтеграторной установки
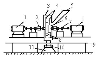
Схема дезинтеграторной установки приведена на рис. 6.1.
Установка состоит из прямоугольной станины, изготовленной методом сварки из двутаврового профиля прямоугольного сечения, на которой
смонтированы два электродвигателя 1 мощностью 4,0 кВт каждый. Электродвигатели соединены с помощью полумуфт сцепления 7 непосредственно с валами дезинтеграторной установки. К рабочей камере жестко закреплен приемный бункер 5, а в нижней части имеется отверстие с патрубком 9. Патрубок через уплотнительное устройство 10 соединен с накопительным бункером 11. Сам дезинтегратор расположен на станине между двумя двигателями. Он состоит из корпуса 3, дисков (левого и правого) 4, пальцев (бил) 8 и шнека 6. Скорость вращения дисков снимается с помощью тахометров 2.
Принцип работы дезинтеграторной установки заключается в следующем: после подачи напряжения на электродвигатели их роторы и соединенные с ними диски дезинтегратора начинают вращаться в разные стороны, затем измельчаемый материал засыпается в приемный бункер, откуда он шнеком подается в рабочее пространство мельницы. Далее частицы материала, попав на первый круг пальцев, получают скорость, соответствующую скорости пальцев, и с этой скоростью вылетают из круга. При этом их путь направлен в одну сторону с вектором скорости тех пальцев, от которого они ушли, и пересекают траекторию движения второго ряда пальцев (движущегося в противоположном направлении). После многократного соударения с пальцами частицы размалываемого материала, вылетев из внешнего круга пальцев, ударяются о внутреннюю часть кожуха и самотёком опускаются в нижнее его отверстие, попадая затем в накопительный бункер.
Рис. 6.1. Схема лабораторной дезинтеграторной установки:
1 – электродвигатель; 2 – тахометр; 3 – корпус; 4 – диск; 5 – приемный бункер; 6 – шнек; 7 – полумуфты сцепления; 8 – палец; 9 – патрубок; 10 – уплотнительное устройство; 11 – накопительный бункер
6.2.Схема движения материала в дезинтеграторе
Кнастоящему времени теоретические работы в этой области практиче-