Материал: Земляные работы 2

Внимание! Если размещение файла нарушает Ваши авторские права, то обязательно сообщите нам
+ tм.п) / tп,

В случае, когда выемка имеет крутые склоны, исключающие движение по ней экскаватора и транспортных средств, более эффективной оказывается разбивка ее лучевыми или веерообразными проходками, направленными под углом к проектной линии. При этом крутизна уклонов для передвижения экскаватора и транспорта не должна превышать 17–24 .

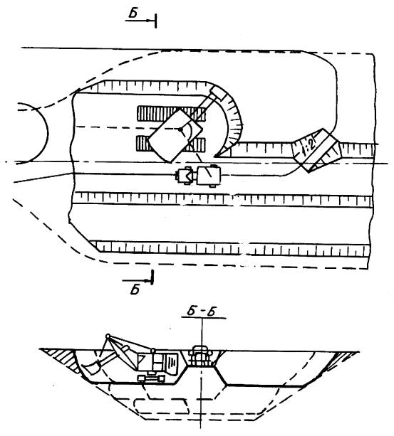
Длинные выемки с большими рабочими отметками могут разрабатываться одновременно с двух концов. В подобных случаях наиболее целесообразной оказывается разбивка на ярусы ломаного профиля, состоящего из двух концевых участков веерообразного профиля и центрального участка с параллельными ярусами. Все эти и другие случаи расположения проходок на продольном профиле выемки приведены в учебнике [1], а ниже (см. рис. 2.3) дан конкретный пример решения этой задачи для одного из поперечников, рассмотренных ранее (см. рис. 2.2,а), и участка продольного профиля.

Как видно из рис. 2.3, план выемки с размещенными на ней проходками фактически представляет из себя третью проекцию, построенную (восстановленную) по известным двум. При этом все проходки пронумерованы с учетом последовательности их разработки, а недобор грунта определяется заштрихованными треугольниками на поперечном сечении выемки.

Технология производства экскаваторных работ. Технологический процесс состоит из разработки грунта в забое экскаватором прямая лопата, погрузки его на автосамосвалы или другие транспортные средства, перемещения и разгрузки грунта в насыпь, кавальер или отвал, послойного разравнивания грунта бульдозером и уплотнения специальными уплотняющими средствами (катками, уплотняющими машинами и др.).

Разработка выемки ведется отдельными проходками в соответствии с ранее составленной схемой их размещения (см. рис. 2.3) и в пределах конкретного рабочего участка продольного профиля.

Типовая технологическая схема производства работ для рассматриваемого примера приведена на рис. 2.4.

При выполнении курсового проекта необходимая грузоподъемность автосамосвалов, технические характеристики и ориентировочное число самосвалов в составе экскаваторного комплекта можно принимать из первой части методических указаний [2, прил. 1]. Точное количество транспортных средств определяют расчетом для каждого конкретного случая с учетом фактических условий работы и дальности возки:

N = Tц / tп = (tп + tгр.х + tp + tм.р + tпор.х

где N – искомое число транспортных средств; tп – продолжительность погрузки, мин;

tгр.х, tпор.х – соответственно продолжительность груженого и порожнего хода автосамосвала;

11

tp – продолжительность разгрузки, мин;

tм.р, tм.п – время на маневры автосамосвала соответственно при разгрузке и погрузке, мин.

Рис. 2.4. Схема разработки выемки экскаватором прямая лопата

Задаваясь средней скоростью движения автосамосвала Vср [2] и дальностью возки l, можно записать:

N= (2 l/Vср + tп + tp + tм.р + tм.п) / tп .

Вкурсовом проекте продолжительность отдельных операций, точное

значение которых устанавливается хронометражем, принимается ориентировочно следующей:

tп = 1,5 мин, tp = 1 мин, tм.р = tм.п = 1,5 мин.

12

Из приведенной формулы следует, что очередной автосамосвал должен прибыть к месту загрузки его грунтом не позднее времени окончания загрузки предыдущего автосамосвала.

При возникновении систематических простоев экскаватора в ожидании прибытия автосамосвалов к месту погрузки следует проверить элементы затрат времени, необходимых для выполнения рейса, и увеличить число автосамосвалов. При простоях транспорта в ожидании погрузки следует принять меры к ускорению работы экскаватора или уменьшить число транспортных средств.

В курсовом проекте в качестве индивидуального задания может быть поставлена задача расчета оптимального количества транспортных средств с применением современных математических методов, например теории массового обслуживания.

Техника безопасности. При производстве работ одноковшовым экскаватором с погрузкой грунта на автосамосвалы и транспортированием его в насыпь необходимо соблюдать следующие основные правила техники безопасности.

Экскаватор во время работы должен устанавливаться на спланированной площадке. Запрещается подкладывать под гусеницы бревна, камни и другие предметы.

Запрещается находиться под ковшом или стрелой экскаватора, выполнять работы со стороны забоя. Посторонним лицам запрещается находиться в радиусе действия экскаватора. Во время перерывов в работе ковш следует опускать на землю.

За участками забоя, где возможны оползни и обрушения грунта, должно устанавливаться постоянное наблюдение. Участки должны ограждаться, а работа на них разрешается только после их осмотра мастером или прорабом и получения письменного разрешения на производство работ.

При работе экскаватора в темное время суток место выгрузки грунта и забой должны иметь хорошее освещение.

Грунт на автосамосвалы следует грузить только со стороны заднего или бокового борта самосвала. Запрещается проносить ковш с грунтом и без грунта над кабиной. Водитель автосамосвала во время погрузки должен выходить из кабины.

Находящийся под погрузкой автосамосвал должен быть заторможен. Во время погрузки людям запрещается находиться между экскаватором и транспортным средством.

13

2.1.3. Указания по организации труда

Разработка выемки экскаватором прямая лопата с погрузкой грунта на автосамосвалы, транспортированием его в насыпь осуществляется комплексной бригадой в зависимости от емкости ковша экскаватора и дальности транспортирования грунта.

Вцелях более полной загрузки машин и механизмов работу целесообразно организовывать в две смены с использованием передвижной электростанции для освещения места работ в темное время суток.

Вначале каждой смены машинисты и водители машин обязаны проверить готовность машин к работе, устранить мелкие неисправности, заправить машину горючим и водой. А в конце смены сообщить механику (помощнику машиниста) о замеченных неисправностях.

Участок производства работ обеспечивается вагончиками для мастера, кладовой инструмента и инвентаря, отдыха рабочих и приема пищи, а также питьевой и технической водой, медицинской аптечкой, средствами связи.

2.1.4.Материально-технические ресурсы

Материально-технические ресурсы включают ведущие и комплек-

тующие машины и механизмы, геодезические инструменты, инвентарь, определяемые на основе разработанных ранее технологических процессов (п. 2.1.1) и представленные в табличной форме (табл. 2.1).

2.1.5.График выполнения производственного процесса по разработке выемки экскаватором прямая лопата

На основании разработанной ранее технологии и организации строительного процесса (п. 2.1.1) в типовой технологической карте обычно приводится почасовой график выполнения работ в течение смены. В условиях курсового проектирования вместо указанного графика разрабатывается календарный график производства земляных работ на весь заданный участок. Методика его проектирования детально рассматривается в разд. 5.

2.1.6. Калькуляция затрат труда

Основными нормативными документами для составления калькуляции затрат труда обычно являются нормы времени и расценки в соответствии со сборниками ЕНиР, ВНиР, ценниками и др. Учитывая, что при разработке первой части проекта широко использовались графики единичной

14

стоимости производства земляных работ, калькуляцию затрат труда к технологической карте в курсовом проекте можно не составлять.

2.1.7. Технико-экономические показатели

Технико-экономические показатели определяются на основании календарного графика производства земляных работ и их стоимости, подсчитанной в первой части проекта. Методика расчета технико-экономических показателей изложена в разд. 6. Результаты определения основных техни- ко-экономических показателей привести в табличной форме (табл. 2.2).

 

 

 

 

Т а б л и ц а 2.1

 

Материально-технические ресурсы

 

 

 

 

 

 

Наименование

Тип

Марка

Количество

Примечание

п/п

 

 

 

 

 

 

 

 

 

 

 

1

Экскаватор

 

 

 

 

 

 

 

 

 

 

2

Автосамосвалы

 

 

 

 

 

 

 

 

 

 

3

Бульдозер

 

 

 

 

 

 

 

 

 

 

4

Автогрейдер

 

 

 

 

 

 

 

 

 

 

5

Пневмоколесный каток

 

 

 

 

 

или уплотняющая машина

 

 

 

 

 

 

 

 

 

 

6

Передвижная электростанция

 

 

 

 

 

мощностью 5–7 кВт

 

 

 

 

 

 

 

 

 

 

Т а б л и ц а 2.2

Технико-экономические показатели

Наименование

Единица

На весь объем

На единицу объема

показателей

измерения

 

 

 

 

 

 

Срок производства работ

дни

 

 

 

 

 

 

Трудоемкость работ

чел.-дни

 

 

Себестоимость

руб.

 

 

 

 

 

 

2.1.8.Карта операционного контроля качества разработки выемки экскаватором прямая лопата

При разработке карты операционного контроля качества производства земляных работ при сооружении железнодорожного земляного полотна пользоваться данными, приведенными в разд. 7 настоящих методических указаний.

15