Материал: Загрязнение почвы отходами машиностроительных предприятий

Внимание! Если размещение файла нарушает Ваши авторские права, то обязательно сообщите нам

. Применение мокрых аппаратов на любом промышленном предприятии будет экономически целесообразно, если на данном предприятии имеется система оборотного водоснабжения и шламопереработки.

Эффективность пылеулавливания в мокрых пылеуловителях зависит от поверхности контакта газообразной и жидкой фаз, а также от вида поверхности контакта, способа ввода одной фазы в другую, способа диспергирования жидкости. По виду контактной поверхности фаз различают поверхности капель, пленки и пузырьков. В ряде аппаратов могут иметь место одновременно два вида поверхности фаз.

Одним из аппаратов «мокрой» очистки является полый скруббер (рис. 6).

Рисунок 6 - Схема полого жидкостного скруббера: 1а-1г - ярусы орошения; 2 - подводы воды; 3 - гидрозатвор с высотой H запирающего столба воды; 4 - клапан; 5 - задвижка; 6 - канал шлаковой воды; 7 - задвижки; 8 - промывка; 9 - люк; 10 - свеча

Конструктивно полый скруббер представляет собой башню цилиндрического или прямоугольного типа. В верхней ее части располагаются форсунки таким образом, чтобы все поперечное сечение аппарата перекрывалось жидкостной завесой. Таким образом, пылегазовый поток движется в скруббере снизу вверх, встречаясь с разбрызгиваемой жидкостью, движущейся навстречу потоку. Такие скрубберы называются противоточными. В случае расположения орошающих форсунок в несколько ярусов, верхний ряд должен быть направлен факелами вниз. В остальных рядах форсунок факелы выброса жидкости направлены вверх, т. е. по ходу движения газового потока. Очищенный газ выводится из скруббера в верхней части. Выделившаяся из потока жидкость вместе с водой образует шлам, который скапливается в бункере-накопителе, откуда через гидравлический затвор выводится в шламовую канализацию. В данном противоточном полом скруббере осуществляется очистка газопылевого потока от пылевых частиц с крупностью 10 мкм и одновременно происходит увлажнение и охлаждение газа. Эти аппараты применяются для грубой очистки. Они устанавливаются перед аппаратами тонкой очистки газопылевого потока. Для улучшения контакта газопылевого потока с жидкостью применяют дополнительную смачивающую насадку, которая в большинстве случаев состоит из керамических колец, втулок или других керамических элементов. Насадку засыпают на специальную решетку, состоящую из керамических элементов. При прохождении газопылевого потока через такую насадку газы меняют направление своего движения, и за счет этого очистка газопылевого потока происходит более эффективно. Недостатком такого способа очистки является трудоемкость регенерации самой осадки. За мокрыми скрубберами необходимо предусмотреть установку каплеуловителей.

В барботажных аппаратах газовый поток, содержащий во взвешенном состоянии частицы пыли или капли жидкости, проходит в виде пузырьков через слой жидкости. При этом происходит образование поверхности соприкосновения газа с жидкостью и за счет этого охлаждение газа и улучшение условий очистки газопылевого потока от взвешенных частиц. В ротоклонах газопылевой поток проходит через щелевые каналы (импеллеры), образованные изогнутыми лопатками, нижняя часть которых опущена в жидкость (рис. 7).

Важную роль для нормальной эксплуатации ротоклона играет поддержание постоянного уровня жидкости в аппарате. Даже незначительное изменение уровня жидкости может привести к резкому снижению эффективности или значительному увеличению гидравлического сопротивления.

Удельный расход воды в данном ротоклоне не превышает 0,03 л/м3.

Рисунок 7 - Схема ротоклона: 1 - устройство для подвода газопылевого потока; 2 - направляющие лопатки; 3 - зона промывки; 4 - каплеотбойники; 5 - вентилятор для вывода газа; 6 - транспортер для удаления шлама

При прохождении газового потока через импеллеры за счет турбулентности создается завеса из разбрызгиваемой жидкости. В данной завесе и происходит очистка газа от содержащейся в нем пыли и его охлаждение. Осаждающийся при таком процессе и накапливающийся шлам по мере его сбора удаляется из аппарата с помощью специального транспортера. В аппаратах данного типа производится улавливание пыли с размером 5 мкм и более. Большим эксплуатационным достоинством ротоклонов является возможность изменения их производительности в пределах 25 % от номинальной без заметного снижения эффективности. Гидравлическое сопротивление аппаратов составляет 1000-1500 Па.

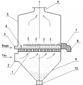
Для эффективной очистки газопылевого потока можно использовать пенные аппараты (рис. 8).

Принцип действия: вода или другая жидкость поступает на перфорированную поверхность решетки, вступая во взаимодействие с газопылевым потоком, идущим снизу вверх. При этом основным условием является превышение скорости газового потока над скоростью свободного всплывания пузырьков при барботаже. В этом случае над слоем воды будет образовываться пена, состоящая из пузырьков газа и капелек воды. В этой пене газопылевой поток будет интенсивно перемешиваться с частицами жидкости. Аппараты, в которых используется данный принцип, называются пенными. При прохождении газопылевого потока через отверстия решетки слой жидкости, образующийся на решетке, делится на три части:

–          сплошной слой жидкости непосредственно на решетке;

–          слой пены;

–          слой брызг, расположенный выше.

Рисунок 8 - Схема пенного аппарата: 1 - решетка с отверстиями диаметром 2-8 мм; 2 - входной патрубок; 3 - приемная коробка; 4 - пороги; 5 - корпус; 6 - выходное отверстие; 7 - сливная коробка;8 - патрубок для выхода газа; 9 - бункер; 10 - затвор для удаления шлама

В основном очистка и охлаждение газопылевого потока происходят в слое пены. Частицы пыли оседают вначале на решетку, а затем вместе с водой удаляются в виде шлама через порог в сливную коробку. При работе такого пенного аппарата около 50 % жидкости сливается в бункер, а остальное количество удаляется через патрубки, которые снабжены гидрозатворами. Аппарат позволяет удерживать частицы пыли от 2 мкм и более.

К недостаткам пенных аппаратов относится недопустимость колебаний расхода очищаемого газа и трудности качественной очистки газов в аппаратах большой производительности из-за неодинаковой толщины слоя пены по всей площади решетки.

Скоростные пылеуловители с трубами Вентури (СПУ) (рис. 9)

Рисунок 9 - Схема пылеуловителя СПУ: 1 - конфузор; 2 - горловина; 3 диффузор; 4 - циклон;5 - инерционный пылеуловитель; 6 -гидрозатвор для удаления шлама

Если в газе содержатся частицы пыли с размером менее 5 мкм, то очистка его в инерционных и центробежных аппаратах будет недостаточно эффективной. В этом случае применяется система аппаратов (например типа СПУ), в которых в качестве коагуляторов мелкой пыли устанавливается труба Вентури. Для очистки газопылевого потока от крупных частиц пыли и капель жидкости обычно после трубы Вентури устанавливаются инерционные аппараты. В качестве последних используются циклоны или скрубберы.

Турбулентный промыватель, основу которого составляет труба Вентури, состоящая из трех частей, работает следующим образом. В горловину аппарата подается вода. Поступающий газопылевой поток вводится в отверстие конфузора, где происходит увеличение его скорости. В данных аппаратах осуществляется диспергирование жидкости потоком газа в горловине трубы при скоростях 40-150 м/c. Тонкость диспергирования жидкости - 10 мкм. При этом получается развитая поверхность контакта между жидкой и газовой фазой, что в сочетании с интенсивной турбулизацией потока создает условия для эффективного захвата даже субмикронных частиц пыли каплями жидкости, которые укрупняясь в диффузоре трубы Вентури, отделяются от газа в каплеуловителе. Кроме высокой эффективности очистки газов, соизмеримой с эффективностью пылеулавливания в тонковолокнистых фильтрах и электрофильтрах, скоростные газопромыватели просты по устройству и эксплуатации, компактны. За счет турбулентности, происходит дробление водного потока на мельчайшие частицы, которые способствуют разрушению газовой оболочки вокруг пылевидных частиц. Чем выше скорость движения газопылевого потока, тем меньший размер имеют образующиеся капельки воды. Эти капельки интенсивно перемешиваются в потоке с частицами пыли, укрупняя их. Вследствие этого происходит процесс коагуляции пыли. Скоагулировавшая пыль через пыле- и брызгоуловитель поступает в бункер для накопления шлама, а параллельно с этим более крупные частицы пыли вытягиваются в циклон, где происходит отделение частиц от газового потока. Затем увлажненная пыль в виде шлама поступает в шламосборник циклона. Давление газа в промышленных трубах Вентури составляет 200-300 Кн/м2.

Данные аппараты позволяют удалять пыль с размером частиц до 1 мкм и более. Однако такие недостатки, как высокие энергозатраты на очистку, обусловленные сопротивлением аппаратов до 20 кПа, повышенные удельные расходы жидкости (0,7-0,8 л/м3) ограничивают область их применения.

Электрофильтры.

Принцип действия электрических фильтров заключается в зарядке частиц пыли, находящейся в газопылевом потоке под воздействием электрического поля. Данные процессы могут протекать в электрических фильтрах как без пространственного разделения (т. е. в одной зоне), так и в двух зонах. При двухзонной системе первая обычно служит для зарядки частиц и называется ионизатор. Вторая, которая служит для выделения пылевидных частиц - осадитель. Необходимый для придания частицам пыли заряд создается потоком ионов за счет коронирующего электрода в неоднородном электрическом поле.

Принципиальная схема аппарата для очистки газопылевого потока с применением электрофильтра представлена на рис. 10.

Рисунок 10 - Схема установки электрофильтрования: 1 - груз; 2 - коронирующий электрод; 3 - осадительный электрод; 4 - изолятор; 5 - выпрямитель; 6 - повышающий трансформатор; 7 - регулятор напряжения; 8 сеть; 9 - заземление

Принцип действия фильтра. После подачи напряжения на коронирующий электрод в фильтр подается запыленный газовый поток.

Находящаяся в потоке пыль при соприкосновении с коронирующим электродом ионизируется и затем выделяется из газопылевого потока на стенках сосуда, которые одновременно служат осадительными электродами.

Очищенный газ поднимается и выходит из аппарата через выходное отверстие. Выпавшая из газопылевого потока пыль накапливается внизу аппарата в бункере и затем удаляется из него через специальный затвор.

Литература

1. Акимова Т.А., Хаскин В.В.. Экология. Человек-экономика-биота-среда., М., «ЮНИТИ», 2007.

. Шилов И.А. Экология. М.: Высшая школа, 2001.

. Ильин В.И.. Экология, М., «Перспектива», 2007.

. Новиков Ю.В. Экология, окружающая среда и человек. М., «ФАИР-ПРЕСС»,2003.

. Никаноров А.М., Хорунжая Т.А.. «Глобальная экология», М., ЗАО, «Книга сервис», 2003.

. Марфенин Н.Н. Концепция «устойчивого развития» в развитии / Россия в окружающем мире: 2002 (Аналитический ежегодник) // Под общей редакцией: Данилова-Данильяна В.И., Степанов С.А. - М.:Изд-во МНЭПУ, 2002.

. Бигалиев А.Б., Халилов М.Ф., Шарипова М.А. Основы общей экологии Алматы, «Қазақ университеті», 2007.

. Колумбаева С.Ж., Бильдебаева Р.М. Общая экология. Алматы, «Қазақ университеті», 2006.

Дополнительная:

. Хандогина Е.К, Герасимова Н.А., Хандогина А.В.. Экологические основы природопользования, М., «Форум», 2007.

. Вернадский В.И. «Философские мысли натуралиста», М., «Наука», 1988.

. Вернадский В.И. «Живое вещество», М., «Наука», 1969 г.

. Доклады Министерства охраны окружающей среды РК «О состоянии природой среды РК» 2000-2007 гг.

. Гутенев В.В., Денисов В.В., Камышев А.П., Москаленко А.П., Нагибеда Б.А., Осадчий С.Ю., Хорунжий Б.И. Промышленная экология, М., «МарТ», 2007.

. Маркович Д. Социальная экология. Москва «РУДН», 1998.

. Медоуз Д.Х., Медоуз Д.Л., Рандерс Й., Беренс В.В. Ш. Пределы роста. Москва: МГУ, 1991.

. Концепция экологического образования Республики Казахстан. Астана, 2002.

. Концепция экологической безопасности Республики Казахстан. Астана, 2002.

. Доклад конференции ООН по окружающей среде и устойчивому развитию, Рио-де-Жанейро, 1992. Том 1, Нью-Йорк, 1993.

. Экологический кодекс РК, Астана 2007 г.

. Экология. Под ред. Денисова В.В. Ростов-на-Дону: МарТ, 2002.

. Арустамов Э.А., Левакова И.В., Баркалова Н.В. Экологические основы природопользования. М.: 2001.

. Ермолаев Б.В. Основные положения о ноосфере. Единство биосферы и человека. - М., 1999.