Карданная передача
Современное транспортное средство состоит из ряда агрегатов (двигателя, коробки передач, заднего моста и т.д.), между которыми необходимо осуществить кинематическую и силовую связь, т. е. передавать вращение и крутящие моменты. Валы различных агрегатов несоосны относительно друг друга. Это объясняется как погрешностями изготовления, так и конструктивными особенностями транспортного средства. Так ведущий задний мост автомобиля подрессорен и положение оси его вала постоянно меняется во время движения. В процессе эксплуатации транспортного средства происходит его старение и как следствие нарушение соосности валов. Для соединения валов агрегатов необходимо применять специальные механизмы компенсирующие несоосности. Для этих целей на автомобилях применяются и соединительные валы с упругими муфтами и карданные передачи. Основной частью карданной передачи является карданное сочленение. Карданное сочленение представляет собой муфту двухшарнирную с расположением шарниров в двух взаимно перпендикулярных плоскостях. Одно карданное сочленение может применяться при углах между валами не более 2. Карданные передачи могут быть асинхронные или неравных угловых скоростей и синхронные или равных угловых скоростей.
Раздаточная коробка
Раздаточные коробки предназначены для распределения (раздачи) крутящего момента между ведущими мостами многоприводных автомобилей и тракторов (колесных).
Раздаточные коробки могут быть одно- или двухступенчатые. В наиболее распространенных конструкциях раздаточных коробок обе ступени двухступенчатой коробки выполняются понижающими, а иногда одна из них - понижающей, а вторая - прямой.
В зависимости от кинематической схемы раздаточные коробки подразделяются на коробки с блокированным и коробки с дифференциальным приводами ведущих мостов.
Межосевой дифференциал раздаточной коробки с дифференциальным приводом обеспечивает вращение передних и задних ведущих колес с различными угловыми скоростями при неодинаковых радиусах их качения, при прохождении различной длины пути в единицу времени и при поворотах; распределяет крутящий момент между ведущими мостами и предотвращает циркуляцию мощности в трансмиссии.
Крутящий момент между ведущими мостами распределяется поровну, если межосевой дифференциал симметричный; в зависимости от распределения вертикальной нагрузки между мостами при несимметричном дифференциале.
К раздаточным коробкам предъявляются те же требования, что и к основным коробкам передач, и дополнительно раздаточные коробки должны обеспечивать два условия:
. Увеличение крутящего момента при включении понижающей (первой) ступени и его распределение между ведущими мостами должно обеспечивать полное использование силу тяги по сцеплению колес с дорогой.
. При движении автомобиля в его трансмиссии не должно возникать
циркуляционной мощности.
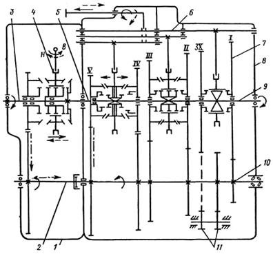
4.3 Кинематическая схема трансмиссии
Кинематическая схема трансмиссии автомобиля Урал-4320 представлена на
рисунке 4.
Рисунок 4 - Кинематическая схема трансмиссии автомобиля Урал-4320: 1 -
двигатель; 2 - сцепление; 4 - коробка передач; 5- карданная передача; 6 -
дифференциал; 7 - средний ведущий мост; 8 - задний ведущий мост; 9 - лебедка;
10 - коробка отбора мощности; 11 - раздаточная коробка; 12 - передний ведущий
мост
5. ТЯГОВАЯ ХАРАКТЕРИСТИКА
Тяговой характеристикой называется зависимость свободной силы на ободе
колеса Ра от скорости движения машины Va:
Pa = f(Va),
где Pa - свободная сила тяги, Н.
Свободная сила тяги определяется следующим образом:
Pa=Pк-Pw, (5.1)
где Pк- касательная сила тяги, Н;
Pw- сила сопротивления воздушной среды, Н.
Силы определяются по следующим зависимостям:
(5.2)
где
Мk-момент, подводимый к ведущим колесам ,Н.
, (5.3)
, (5.4)
. (5.5)
Параметры тяговой характеристики для каждой передачи представлены в табличной форме:
1) Первая передача.
=93.15
|
n, |
Me, |
Mк, |
Va, |
Рк, |
Рw, |
Ра, |
|
об/с |
Нм |
Нм |
м/с |
Н |
Н |
Н |
|
10 |
716 |
56691,09 |
0,40 |
94801,15 |
0,78 |
94800,37 |
|
13 |
747 |
59145,59 |
0,52 |
98905,67 |
1,33 |
98904,35 |
|
16 |
766 |
60649,97 |
0,65 |
101421,35 |
2,01 |
101419,34 |
|
19 |
770 |
60966,68 |
0,77 |
101950,96 |
2,83 |
101948,13 |
|
22 |
767 |
60729,14 |
0,89 |
101553,75 |
3,79 |
101549,96 |
|
25 |
757 |
59937,37 |
1,01 |
100229,71 |
4,90 |
100224,81 |
|
28 |
739 |
58512,17 |
1,13 |
97846,44 |
6,15 |
97840,30 |
|
31 |
703 |
55661,78 |
1,25 |
93079,90 |
7,54 |
93072,37 |
|
34 |
664 |
52573,86 |
1,37 |
87916,15 |
9,06 |
87907,09 |
|
35 |
650 |
51465,38 |
1,41 |
86062,50 |
9,61 |
86052,89 |
|
38 |
595 |
47110,61 |
1,53 |
78780,29 |
11,32 |
78768,97 |
|
41 |
536 |
42439,14 |
1,65 |
70968,46 |
13,18 |
70955,28 |
=63.63
|
n, |
Me, |
Mк, |
Va, |
Рк, |
Рw, |
Ра, |
|
об/с |
Нм |
Нм |
м/с |
Н |
Н |
Н |
|
10 |
716 |
38725,22 |
0,59 |
64757,89 |
1,68 |
64756,21 |
|
13 |
747 |
40401,87 |
0,77 |
67561,65 |
2,84 |
67558,81 |
|
16 |
766 |
41429,49 |
0,94 |
69280,09 |
4,30 |
69275,79 |
|
19 |
770 |
41645,84 |
1,12 |
69641,86 |
6,07 |
69635,80 |
|
22 |
767 |
41483,58 |
1,30 |
69370,53 |
8,13 |
69362,40 |
|
25 |
757 |
40942,72 |
1,48 |
68466,09 |
10,50 |
68455,59 |
|
28 |
739 |
39969,18 |
1,65 |
66838,10 |
13,17 |
66824,93 |
|
31 |
703 |
38022,11 |
1,83 |
63582,12 |
16,15 |
63565,97 |
|
34 |
664 |
35912,77 |
2,01 |
60054,80 |
19,43 |
60035,38 |
|
35 |
650 |
35155,58 |
2,07 |
58788,59 |
20,58 |
58768,00 |
|
38 |
595 |
32180,87 |
2,24 |
53814,17 |
24,26 |
53789,90 |
|
41 |
536 |
28989,83 |
2,42 |
48477,97 |
28,25 |
48449,73 |
Вторая передача: 54.46
|
n, |
Me, |
Mк, |
Va, |
Рк, |
Рw, |
Ра, |
|
об/с |
Нм |
Нм |
м/с |
Н |
Н |
Н |
|
10 |
716 |
33144,36 |
0,69 |
55425,34 |
2,29 |
55423,05 |
|
13 |
747 |
34579,38 |
0,90 |
57825,05 |
3,88 |
57821,17 |
|
16 |
766 |
35458,91 |
1,10 |
59295,83 |
5,87 |
59289,96 |
|
19 |
770 |
35644,07 |
1,31 |
59605,47 |
8,28 |
59597,19 |
|
22 |
767 |
35505,20 |
1,52 |
59373,24 |
11,10 |
59362,14 |
|
25 |
757 |
35042,29 |
1,72 |
58599,14 |
14,34 |
58584,81 |
|
28 |
739 |
34209,05 |
1,93 |
57205,77 |
17,98 |
57187,78 |
|
31 |
703 |
32542,57 |
2,14 |
54419,02 |
22,04 |
54396,97 |
|
34 |
664 |
30737,22 |
2,34 |
51400,04 |
26,52 |
51373,52 |
|
35 |
650 |
30089,15 |
2,41 |
50316,30 |
28,10 |
50288,20 |
|
38 |
595 |
27543,15 |
2,62 |
46058,77 |
33,12 |
46025,65 |
|
41 |
536 |
24811,98 |
2,83 |
41491,60 |
38,56 |
41453,04 |
37.2
|
n, |
Me, |
Mк, |
Va, |
Рк, |
Рw, |
Ра, |
|
об/с |
Нм |
Нм |
м/с |
Н |
Н |
Н |
|
10 |
716 |
22639,92 |
1,01 |
4,92 |
37854,48 |
|
|
13 |
747 |
23620,14 |
1,31 |
39498,56 |
8,31 |
39490,25 |
|
16 |
766 |
24220,92 |
1,62 |
40503,21 |
12,59 |
40490,62 |
|
19 |
770 |
24347,40 |
1,92 |
40714,72 |
17,75 |
40696,97 |
|
22 |
767 |
24252,54 |
2,22 |
40556,09 |
23,80 |
40532,29 |
|
25 |
757 |
23936,34 |
2,52 |
40027,32 |
30,73 |
39996,60 |
|
28 |
739 |
23367,18 |
2,83 |
39075,55 |
38,54 |
39037,01 |
|
31 |
703 |
22228,86 |
3,13 |
37172,01 |
47,25 |
37124,76 |
|
34 |
664 |
20995,68 |
3,43 |
35109,83 |
56,83 |
35053,00 |
|
35 |
650 |
20553,00 |
3,53 |
34369,57 |
60,23 |
34309,34 |
|
38 |
595 |
18813,90 |
3,84 |
31461,37 |
70,99 |
31390,38 |
|
41 |
536 |
16948,32 |
4,14 |
28341,67 |
82,64 |
28259,03 |
3) Третья передача: 31.85
|
n, |
Me, |
Mк, |
Va, |
Рк, |
Рw, |
Ра, |
|
об/с |
Нм |
Нм |
м/с |
Н |
Н |
Н |
|
10 |
716 |
19383,91 |
1,18 |
32414,57 |
6,71 |
32407,86 |
|
13 |
747 |
20223,16 |
1,53 |
33817,99 |
11,33 |
33806,65 |
|
16 |
766 |
20737,54 |
1,89 |
34678,15 |
17,17 |
34660,98 |
|
19 |
770 |
20845,83 |
2,24 |
34859,24 |
24,21 |
34835,03 |
|
22 |
767 |
20764,61 |
2,59 |
34723,42 |
32,46 |
34690,96 |
|
25 |
757 |
20493,88 |
2,95 |
34270,71 |
41,92 |
34228,79 |
|
28 |
739 |
20006,58 |
3,30 |
33455,82 |
52,58 |
33403,23 |
|
31 |
703 |
19031,97 |
3,66 |
31826,03 |
64,45 |
31761,58 |
|
34 |
664 |
17976,14 |
4,01 |
30060,43 |
77,53 |
29982,91 |
|
35 |
650 |
17597,13 |
4,13 |
29426,63 |
82,16 |
29344,47 |
|
38 |
595 |
16108,14 |
4,48 |
26936,68 |
96,85 |
26839,84 |
|
41 |
536 |
14510,86 |
4,83 |
24265,65 |
112,74 |
24152,91 |
21.76
|
n, |
Me, |
Mк, |
Va, |
Рк, |
Рw, |
Ра, |
|
об/с |
Нм |
Нм |
м/с |
Н |
Н |
Н |
|
10 |
716 |
13243,14 |
1,73 |
22145,71 |
14,37 |
22131,34 |
|
13 |
747 |
13816,51 |
2,24 |
23104,54 |
24,28 |
23080,25 |
|
16 |
766 |
14167,94 |
2,76 |
23692,20 |
36,78 |
23655,42 |
|
19 |
770 |
14241,92 |
3,28 |
23815,92 |
51,87 |
23764,05 |
|
22 |
767 |
14186,43 |
3,80 |
23723,13 |
69,54 |
23653,59 |
|
25 |
757 |
14001,47 |
4,31 |
23413,83 |
89,80 |
23324,03 |
|
28 |
739 |
13668,54 |
4,83 |
22857,10 |
112,65 |
22744,45 |
|
31 |
703 |
13002,69 |
5,35 |
21743,63 |
138,08 |
21605,54 |
|
34 |
664 |
12281,34 |
5,87 |
20537,36 |
166,10 |
20371,26 |
|
35 |
650 |
12022,40 |
6,04 |
20104,35 |
176,01 |
19928,33 |
|
38 |
595 |
11005,12 |
6,56 |
18403,21 |
207,48 |
18195,73 |
|
41 |
536 |
9913,86 |
7,08 |
16578,35 |
241,53 |
16336,82 |
Четвертая передача: 18.59
|
n, |
Me, |
Mк, |
Va, |
Рк, |
Рw, |
Ра, |
|
об/с |
Нм |
Нм |
м/с |
Н |
Н |
Н |
|
10 |
716 |
11313,87 |
2,02 |
18919,52 |
19,69 |
18899,84 |
|
13 |
747 |
11803,72 |
2,63 |
19738,66 |
33,27 |
19705,39 |
|
16 |
766 |
12103,95 |
3,23 |
20240,72 |
50,40 |
20190,32 |
|
19 |
770 |
12167,16 |
3,84 |
20346,41 |
71,07 |
20275,34 |
|
22 |
767 |
12119,75 |
4,44 |
20267,14 |
95,28 |
20171,86 |
|
25 |
757 |
11961,74 |
5,05 |
20002,90 |
123,04 |
19879,86 |
|
28 |
739 |
11677,31 |
5,66 |
19527,27 |
154,34 |
19372,93 |
|
31 |
703 |
11108,45 |
6,26 |
18576,01 |
189,19 |
18386,82 |
|
34 |
664 |
6,87 |
17545,48 |
227,58 |
17317,90 |
|
|
35 |
650 |
10270,98 |
7,07 |
17175,54 |
241,16 |
16934,38 |
|
38 |
595 |
9401,89 |
7,68 |
15722,23 |
284,27 |
15437,95 |
|
41 |
536 |
8469,60 |
8,28 |
14163,22 |
330,93 |
13832,29 |