Материал: Универсальная малогабаритная спускаемая капсула

Внимание! Если размещение файла нарушает Ваши авторские права, то обязательно сообщите нам

В процессе сборки, до установки изд. 50, 51, 52 испытывают блок на срабатывание путем подачи сжатого воздуха давлением 30 кгс/см2 во внутреннюю полость корпуса 1 через отверстие перед заглушкой 20. При этом отверстия в корпусах поз. 11 и 12 под пиропатроны 50 должны быть заглушены. Под действием давления поршни 7, 8, 9 должны плавно переместиться до упора, при этом величина хода должна составлять для поршней 9 не менее 10,5 мм, для прошней 7 не менее 16 мм, для поршней 8 не менее 31 мм (перемещение относительно гайки поз. 6). После сброса давления поршни 7, 8, 9 возвращают в исходное положение (до упора) и контролируют размеры С и Т.

Герметичность блока испытывают сжатым воздухом давлением 1 кгс/см2 подведением во внутреннюю полость корпуса 9 через отверстия под заглушкой 10. Проверку герметичности производят в течение 5 мин по падению давления с одновременным контролем герметичности соединения пиропатронов 50 с корпусами 11, 12 методом обмыливания. Негерметичность не допускается. При испытаниях поршни 7, 8, 9 должны быть зафиксированы от перемещения на размерах С и Т с помощью технологического приспособления.

Рис. 7. Блок разделения.

Рис. 7а. Блок разделения.

Рис. 7б. Блок разделения.

Рис. 7в. Блок разделения.

Рис. 7г. Блок разделения.

.5 Парашютная система

Парашютная система предназначена для снижения скорости спуска пенала со специнформацией и обеспечения скорости приземления не более 15 м/с.

Парашютная система включает в себя парашютный отсек, крышку парашютного отсека, парашют площадью 5,6 м2 из СВМ.

Крышка парашютного отсека состоит из основания, изготовленного из алюминиевого сплава, на который устанавливается три кронштейна из титанового сплава и теплозащитная оболочка.

Парашют крепится к кронштейнам крышки парашютного отсека и стакана. Для снятия динамических нагрузок, возникающих при задействовании парашютной системы, применяется рифление парашюта. Кольцевой шнур, установленный вблизи нижней кромки, перетягивает купол и препятствует его полному раскрытию. Разрифовка осуществляется механическим резаком через 12±3 с после вытягивания парашюта.

В момент срабатывания блока разделения телескопические толкатели обеспечивают отделение крышки парашютного отсека и сообщают ей заданную скорость. Крышка вытягивает парашют и тем самым обеспечивается его раскрытие.

Основные характеристики парашютной системы

Масса парашютной системы ..........................…………………………

2 кг.

Площадь парашюта ................................……………………………….

5.6 м2.

15 м/с .

Вероятность безотказной работы ...................………………………..

0.995.


В парашютный отсек помещаются три комплекта дипольных отражателей, которые выбрасываются при задействовании парашютной системы и предназначены для обеспечения обнаружения пенала на участке парашютирования радиолокационными средствами. Комплект дипольных отражателей представляет собой 20 металлизированных лент типа УМ метрового диапазона волн и две галеты по 30 диполей в каждой уголковых отражателей ДОР-50 сантиметрового диапазона.

.6 Система пеленгации

.6.1 Устройство и работа системы пеленгации

Система предназначена для обнаружения УМСК радиотехническими средствами после приземления.

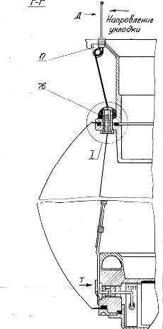
В состав контейнера «Пеленг», общий вид которого представлен на рис. 8-8в, входят баллон надувной 90, аккумулятор давления 3, антенна 1, УКВ радиомаяк 85 и KB радиомаяк 87 (на первых изделиях вместо КВ радиомаяка устанавливался световой импульсный маяк (СИМ)), автономный источник питания 92 и коммутационное устройство 6. Контейнер крепится тросом к СЧК. На рис. 8г-8д показаны отдельные элементы конструкции с увеличением.

После срабатывания блока разделения, при сбросе лобовой теплозащиты освобождаются подпружиненные рычаги, которые вытаскивают штифты фиксации кронштейнов крепления контейнера «Пеленг» к пеналу. Происходит освобождение и выброс контейнера «Пеленг». Задействуется пусковое устройство аккумулятора давления. Баллон наддувается.

При наддуве баллона происходит расфиксация антенно-фидерного устройства КБ радиомаяка. Одновременно срабатывает коммутационное устройство, которое подключает KB и УКВ радиомаяки к автономному источнику питания.

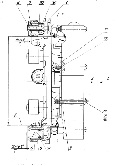
Аккумулятор давления (рис. 9) предназначен для заполнения баллона контейнера «Пеленг» газом и состоит из корпуса 1, мембраны 2, клапана вакуумирсвания 3, заправочного клапана 5 и иглы 7. Игла задействуется с помощью рычага 12 после отделения контейнера от пенала и сброса створок.

Ресурс работы аккумулятора давления: 16 открытий и закрытий клапанов 3 и 1, 15 установок заглушек 17 и одно срабатывание иглой 7 (разрушение мембраны Т). Ресурс проверяется при проведении периодических испытаний.

Основные характеристики системы

Диаметр баллона ..................................……………………………….

530 мм.

Объем баллона ....................................………………………………..

30 дм3.

Масса контейнера «Пеленг» ........................…………………………

6.3 кг.

Мощность УКВ радиомаяка ........................…………………………

0.15 Вт.

Мощность KB радиомаяка ..........................………………………….

0.7 Вт.

Дальность визуального наблюдения СИМ ............………………….

1.4 км.


4.6.2 Испытания аккумулятора давления

В процессе сборки аккумулятора давления проводится проверка герметичности места уплотнения прокладкой 11 в месте Д от 20 до 30 % смесью гелия с воздухом давлением 35 МПа гелиевым течеискателем методом щупа. Проверку производят следующим образом: снимают заглушку 7, устанавливают вместо заглушки технологическое приспособление. Гелиево-воздушная смесь подается через заправочные приспособления. Негерметичность не допускается.

Проверяют герметичность места уплотнения прокладкой 11 в месте Г от 20 до 30 % смесью гелия с воздухом давлением 0,2 МПа гелиевым течеискателем методом щупа. Смесь подают в полость Е, при этом вместо дросселя 24 устанавливают технологическую заглушку. Герметичность проверяется при сжатом клапане 3. Негерметичность не допускается.

Проверяют герметичность места уплотнения кольцами К и 29 от 20 до 30 % смесью гелия с воздухом давлением 0,2 МПа гелиевым течеискателем методом помещения в вакуумную камеру. Проверка производится до установки деталей поз. 12, 13, 21, 22. Гелиево-воздушная смесь подается через технологическое приспособление, установленное вместо дросселя 24. Допускается негерметичность не болеее 0,1 л.·мкм.рт.ст./с.

Производится проверка суммарной герметичности мембраны 2, места уплотнения кольцом Л и места посадки клапана Ж от 20 до 30 % смесью гелия с воздухом давлением 35 МПа гелиевыи течеискателем методом помещения в вакуумную камеру. Проверка производится следующим образом. Вместо заглушки 17 устанавливается технологическое приспособление. С помощью технологического приспособления открывают клапан Ж и подводят во внутреннюю полость аккумулятора давления через штуцер приспособления гелиево-воздушную смесь. Клапан Ж закрывают. Из технологического приспособления стравливают гелиево-воздушную смесь и снимают его. Аккумулятор давления, заполненный гелиево-воздушной смесью помещают в вакуумную камеру. Негерметичность не допускается. Время выдержки под давлением не менее 10 мин. Аккумулятор давления извлекается из вакуумной камеры, смесь стравливается через технологическое приспособление.

Проверяется герметичность посадки клапана 3 на седло корпуса 1 от 20 до 30 % смесью гелия с воздухом давлением 0,2 МПа методом помещения в вакуумную камеру. Негерметичность должна быть не более 5·10-2 л·мкмрт.ст./с. Смесь подводят в полость Е, при этом вместо дросселя 24 устанавливают технологическую заглушку. Клапан 3 заворачивают с помощью технологического приспособления. Негерметичность не допускается.

Проверяют отсутствие гелия во внутренней полости аккумулятора давления: помещают АД в вакуумную камеру, при этом клапан Ж должен быть открыт. Технологическим приспособлением создают разряжение от 0,1 до 0,01 мм рт. ст. (от 13,33 до 1,333 Па) и выдерживают в течение 5 мин. Соединяют вакуумную камеру с течеискателем и проверяют наличие гелия в вакуумной камере. Реакция течеискателя на гелий не допускается.

После испытаний производятся следующие работы: клапан 3 заворачивают до соприкосновения с седлом корпуса 1, прокладки 11 заменяют на новые, заглушки 17 заворачивают до соприкосновения с прокладками 11 и стопорят. Устанавливают дроссель 24, заворачивают его моментом 10 Н·м.

Планка 13 и болт 22 снимаются при установке аккумулятора давления на изделие.

Рис. 8. Контейнер «Пеленг».

Рис. 8а. Контейнер «Пеленг».

Рис. 8б. Контейнер «Пеленг».

Рис. 8в. Контейнер «Пеленг».

Рис. 8г. Контейнер «Пеленг».

Рис. 8д. Контейнер «Пеленг».

Рис. 9. Аккумулятор давления.

Рис. 9а. Аккумулятор давления.

Рис. 9б. Аккумулятор давления