Материал: Универсальная малогабаритная спускаемая капсула

Внимание! Если размещение файла нарушает Ваши авторские права, то обязательно сообщите нам

Универсальная малогабаритная спускаемая капсула

СПИСОК СОКРАЩЕНИЙ

АД    аккумулятор давления;

БР     блок разделения;

ВУ    внешние устройства;

ДО    дипольные отражатели;

КА    космический аппарат;

КАВ  капсульный автомат:

КСДМ        командный сигнализатор давления механический;

ЛТЗ   лобовая теплозащита;

МВУ механическое временное устройство;

ПТД  пороховой тормозной двигатель;

СЧК  спускаемая часть капсулы;

ТЗП  теплозащитное покрытие;

УГУС         устройство гашения угловой скорости;

УМСК        универсальная малогабаритная спускаемая капсула.

1. ОБЩИЕ СВЕДЕНИЯ ОБ УНИВЕРСАЛЬНОЙ МАЛОГАБАРИТНОЙ СПУСКАЕМОЙ КАПСУЛЕ

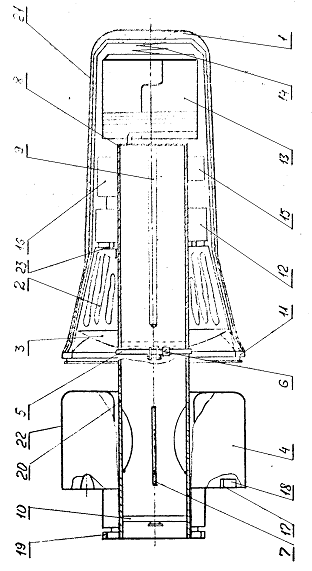
Универсальная малогабаритная спускаемая капсула (УМСК) (рис. 1) предназначена для оперативной и периодической доставки специальной информации с борта космического аппарата (КА) в заданную точку поверхности Земли. УМСК устанавливаются на капсульный автомат (КАВ) (рис. 2), служащий для хранения, снаряжения и отделения капсул в заданный момент времени. В зависимости от типа КА количество УМСК может составлять от 4 до 22 штук. Каждая капсула содержит пенал для загрузки носителя информации и снабжена комплектом устройств, обеспечивающих спуск с орбиты и обнаружение УМСК во время спуска и после приземления.

малогабаритная капсула пороховой двигатель

Основные характеристики УМСК

Масса в сборе................................………...... 60.63 кг

Максимальный диаметр ................................ 355 мм

Максимальные длина .....….......…................. 918 мм

Диаметр пенала........................................…... 180 мм

Длина пенала..........................................……. 400 мм

УМСК (рис. 1) состоит из 2-х основных частей: внешних устройств (ВУ) 22 и спускаемой части капсулы (СЧК) 21.

В состав внешних устройств входят: труба внешних устройств 20, пороховой тормозной двигатель (ПТД) 4, механические временные устройства (МВУ-30 и МВУ-60) 17, 18, тепловой экран МВУ и система отделения ВУ.

Спускаемая часть капсулы состоит из пенала 8 с крышкой 10, предназначенного для загрузки рулона с пленкой, лобовой теплозащиты (ЛТЗ) 1, парашютного отсека 2, крышки парашютного отсека 3, блока разделения 12 и контейнера «Пеленг» 13.

С помощью стяжной ленты 5 основные части капсулы соединяются между собой.



. СПУСК С ОРБИТЫ

К моменту подготовки рулона пленки очередная капсула подается в зону снаряжения и подстыковывается к шлюзовой камере (рис. 2). Манипулятор КАВ захватывает крышку пенала, разворачивается на 90°, захватывает рулон, возвращается в исходное состояние и подает рулон в пенал. Затем вставляется крышка, которая фиксируется с помощью специальной защелки. Снаряженная капсула перемещается в зону пуска, КАВ готов к снаряжению очередной УМСК.

В зоне пуска УМСК раскручивается механическим приводом КАВ до угловой скорости 9-18 рад/с, обеспечивающей сохранение направления вектора тяги ПТД, и отделяется от КА. В момент отделения освобождается пусковое устройство МВУ и происходит расчековка механических временных устройств МВУ-30 и МВУ-60. Через 30 с после отделения капсулы по команде МВУ-30 запускается тормозной двигатель, и через 60 с по команде МВУ-60 происходит сброс внешних устройств. При отделении ВУ снимается блокировка с МВУ-1 и механических командных сигнализаторов давления (КСДМ), освобождаются грузы устройства гашения угловой скорости (УГУС), прикрепленные к СЧК, и вращение капсулы гасится. После прекращения вращения УГУС отделяется от СЧК .

Аэродинамическая схема УМОК обеспечивает спуск с орбиты на поверхность Земли по баллистической траектории, параметры которой определяются скоростью и углом входа в атмосферу. Угол входа зависит от величины и направления тормозного импульса. Заданное направление тормозного импульса обеспечивается соответствующей ориентацией КА.

На высоте 12.3-4.8 км срабатывают механические командные сигнализаторы давления (КСДМ), которые запускают блок разделения (БР). Отделяется крышка парашютного отсека, освобождается лобовая теплозащита, и вытягивается парашют. Сброс ЛТЗ происходит под действием пружины и рывка от задействования парашютной системы. Одновременно освобождением крышки парашютного отсека вводятся в действие дипольные отражатели (ДО), находящиеся под крышкой и служащие для определения района приземления капсулы радиолокационными средствами.

В случае несрабатывания тормозного двигателя блок разделения запускается через 45 минут после отделения внешних устройств от спускаемой части капсулы по команде МВУ-1. Под действием пружины сбрасывается ЛТЗ, а СЧК, когда ее скорость становится недостаточной для нахождения на орбите, сгорает в плотных слоях атмосферы.

После сброса ЛТЗ вводится в действие контейнер «Пеленг». Газ из аккумулятора давления заполняет баллон, и вводятся в действие УКВ и KB передатчики. Контейнер «Пеленг» сохраняет работоспособность в течение двух суток, УМСК и контейнер имеют положительную плавучесть.

Основные этапы функционирования УМСК (рис. 3)

раскрутка;

отделение от КАВ:

включение тормозного двигателя;

гашение угловой скорости;

а- сброс грузов УГУС;

вход в плотные слои атмосферы;

ввод в действие парашютной системы; ввод в действие ДО;

сброс ЛТЗ;

ввод в действие контейнера «Пеленг»;

приземление.

Рис. 3. Спуск УМСК с орбиты.

. КОНСТРУКЦИЯ УНИВЕРСАЛЬНОЙ МАЛОГАБАРИТНОЙ СПУСКАЕМОЙ КАПСУЛЫ

Конструктивно УМСК (рис. 1) состоит из двух основных частей: спускаемой части капсулы 21 и внешних устройств 22.

В состав внешних устройств входят: труба внешних устройств 20, выполненная из титанового сплава, тормозной двигатель 4, два механических временных устройства МВУ-30 поз. 17 и два МВУ-60 поз. 18, тепловой экран МВУ и система отделения ВУ, обеспечивающая фиксацию трубы и пенала между собой и их расстыковку.

Тормозной двигатель предназначен для выдачи тормозного импульса, необходимого для спуска с орбиты. Механические временные устройства МВУ-30 и МВУ-60 (17, 18) управляют запуском двигателя и его отделением от СЧК. Временные устройства запускаются после отделения УМСК от капсульного автомата при освобождении пускового устройства МВУ.

Тормозной двигатель крепится на трубе внешних устройств , которая с одной стороны подстыковывается к СЧК 21, а с другой стороны имеет зубчатый венец 19 и две беговые дорожки, входящие в зацепление с механическим приводом КАВ и предназначенные для раскрутки отделяемых капсул. Внутри трубы расположены пластины 7 , центрирующие рулон относительно пенала при его подаче манипулятором КАВ, а также крышка пенала 10, снимаемая манипулятором КAВ перед загрузкой и герметично закрывающая пенал после подачи рулона.

Труба внешних устройств 20 крепится к СЧК с помощью стяжной ленты 5, натяжение которой регулируется болтом. Стяжная лента разрубается резаками 6 по команде временного устройства МВУ-60.

Спускаемая часть капсулы (СЧК) делится на герметичный и негерметичный отсеки.

Герметичный отсек образуется пеналом 8 и крышкой пенала 10. Пенал предназначен для загрузки рулона, доставляемого на Землю, и для обеспечения сохранности информации во время спуска с орбиты и после приземления до обнаружения наземными службами. На рис. 1 крышка пенала показана в положении, соответствующем нахождению неснаряженной капсулы в составе КАВ. Положение крышки после загрузки рулона показано пунктиром.

Пенал выполнен из алюминиевого сплава, имеет пазы для крепления крышки и направляющий стержень 9, на который одевается рулон.

Негерметичный отсек образуется лобовой теплозащитой 1 и крышкой парашютного отсека 3. В центре негерметичного отсека находится пенал 8, к которому крепится парашютный отсек 2, блок разделения 12, сигнализаторы давления КСДМ 16, временное устройство МВУ-1 поз. 15, а также контейнер «Пеленг» 13.

В лобовой части ЛТЗ устанавливаются вкладыши из свинца в качестве балансировочных грузов.

На высоте 12.3-4.8 км по команде сигнализатора давления срабатывают пиропатроны блока разделения 12. При этом отделяется крышка парашютного отсека 3, а подпружиненные штоки, входящие в пазы лобовой теплозащиты 1, выходят из зацепления, освобождая движение ЛТЗ в продольном направлении. Крышка парашютного отсека вытягивает тормозной парашют и дипольные отражатели, находящиеся под крышкой. После сброса ЛТЗ прокалывается мембрана аккумулятора давления и наддувается баллон. Включаются УКВ и KB передатчики.

Лобовая теплозащита состоит из каркаса, выполненного из алюминиевого сплава, и теплозащитного покрытия из материала КВТАН-50К-ОФ на основе асботекстолита. Между тормозным двигателем и СЧК находится УГУС 11, грузы которого крепятся к СЧК и фиксируются с помощью штифтов, устанавливаемых в кронштейнах трубы внешних устройств.

. ОСНОВНЫЕ СИСТЕМЫ УНИВЕРСАЛЬНОЙ МАЛОГАБАРИТНОЙ СПУСКАЕМОЙ КАПСУЛЫ

К основным системам универсальной малогабаритной спускаемой капсулы относятся

Пороховой тормозной двигатель.

Система отделения внешних устройств.

Устройство гашения угловой скорости.

Блок разделения.

Парашютная система.

Система пеленгации.


ПТД (рис. 4, 4а) предназначен для выдачи импульса торможения УМСК, обеспечивающего спуск с орбиты и посадку в заданном районе. ПТД состоит из металлического разъемного корпуса 1 с внутренним теплозащитным покрытием (ТЗП) 2 и четырьмя соплами 4; вкладного заряда твердого топлива торцевого горения тороидальной формы 3, бронированного по наружной и внутренней поверхностям и переднему днищу 12, двух воспламенителей (в каждом по 11г. пороха ДРП-1-4),. двух накольных пиропатронов ПП-Н-2 и двух временных устройств МВУ-30 поз. 5.

Заднее днище 7 крепится к корпусу 1 при помощи шпоночного соединения 2.

ПТД запускается по команде МВУ-30 через 30 с после отделения капсулы от капсульного автомата.

При достижении давления в камере (1170 ± 300) Па происходит прорыв мембран 10 и начинается истечение газов из сопел.

Рис. 4. Пороховой тормозной двигатель.

Рис. 4а. Пороховой тормозной двигатель.

Основные характеристики ПТД

Суммарный импульс тяги в пустоте …………………...

18800 - 21000 Н·с.

Разброс импульса тяги от ожидаемого значения при температуре от 0 до 40ºС ………………………….

 не более 0,8%.

Максимальная тяга в пустоте …………………………..

не более 2500 Н.

Время выхода тяги на режим R= 0,7·RMAX от момента срабатывания МВУ -3О …………………...

 0,15с.

Масса двигателя ………………………………………....

16,9±0,3 кг.

Вероятность безотказной работы ………………………

0,999.


.2 Система отделения внешних устройств

Система отделения внешних устройств (рис. 5) предназначена для обеспечения стыка трубы внешних устройств 4 и пенала 3 на всех этапах до момента разделения и для отделения внешних устройств от СЧК.

Система состоит из стяжной ленты 1, которая с помощью болта с гайкой поджимает к корпусу установленные на нем подпружиненные механизмы фиксации 2, двух трубопроводов, двух накольных пиропатронов, соединенных с трубопроводами, двух резаков (рис.1, поз. 6; ряс. 6, поз. 6) и двух механических временных устройств МВУ-60 (рис.1, поз. 18).

Работает система следующим образом. Через 60 с после отделения УМСК от КАВ срабатывает МВУ-60. Его игла накалывает пиропатрон ПП-Н-2. Газы по трубопроводу поступают к резаку, который, срабатывая, разрушает стяжную ленту. Освобождаются механизмы фиксация, и внешние устройства отделяются. Заданная величина скорости отделения обеспечивается тремя подпружиненными штоками 5. Подпружиненные штоки, перемещаясь, освобождают пусковые устройства МВУ-1 и двух КСДМ.

Рис. 5. Фрагмент системы отделения внешних устройств.

.3 Устройство гашения угловой скорости

Устройство гашения угловой скорости (рис. 6) предназначено для прекращения вращения спускаемой части капсулы после отработки тормозного двигателя.

Рис. 6. Устройство гашения угловой скорости

УГУС состоит из обода 1 , устанвливаемого на крышке парашютного отсека и балансировочных грузов 2, прикрепленных с помощью тросиков 3. С одной стороны тросики соединены с грузом, а с другой стороны тросики заходят в пазы механизмов фиксации. В исходном состонии грузы находятся в проушинах кольца 1 и зафиксированы с помощью штифтов, закрепляемых на кроншнейнах трубы внешних устройств.

Порядок работы УГУС следующий:

После отделения тормозного двигателя штифты выходят из отверстий, имеющихся в проушинах кольца 1 и в грузах 2, под действием центробежных сил грузы устремляются от оси вращения СЧК. Тросики 3 начинают разматываться. При этом момент инерции СЧК увеличивается. К моменту полной раскрутки тросиков угловая скорость СЧК гасится. Тросики выходят из зацепления с механизмом фиксации, и грузы отделяются.

4.4 Блок разделения

.4.1 Конструкция и работа блока разделения

Блок разделения (БР) предназначен для сброса лобовой теплозащиты и отделения крышки парашютного отсека при спуске с орбиты на высоте 12.3 - 4.8 км или через 45 мин. после отделения от капсульного автомата в случае несрабатывания тормозного двигателя.

На рис. 7-7г представлен общий вид БР, а также отдельные элементы конструкции с увеличением.

Блок разделения состоит из корпуса 1, к которому крепятся два командных сигнализатора давления (КСДМ) 52, механическое временное устройство МВУ-1 поз. 51 и три пиропатрона ПП-Н-2 поз. 50.

КСД-М настроен на давление, соответствующее высоте 12,3 - 4,8 км, а МВУ-1 - на время 45 мин. Блокировка с этих изделий снимается в момент отделения СЧК от тормозного двигателя.

После срабатывания одного из двух пиропатронов 50 газы по каналу попадают в полость корпуса 1 и воздействуют на поршни 7,8,9. Под воздействием газов телескопические поршни перемещаются до упора. Толкатели блока разделения перемещают стакан, который начинает воздействовать на крышку парашютного отсека. Разрываются шпильки, и в конце хода толкателей крышке парашютного отсека сообщается заданная скорость. При перемещении стакана его выступы расфиксируют подпружиненные штоки 19, которые выходят из пазов лобовой теплозащиты и, таким образом, освобождают ЛТЗ.

Сброс лобовой теплозащиты происходит в результате совместного воздействия пружины (рис.1, поз.14) и рывка от задействования парашютной системы.

В случае невыдачи тормозного импульса, БР запускается через 45 минут после отделения внешних устройств от спускаемой части капсулы по команде МВУ-1. При этом сброс ЛТЗ происходит только под воздействием пружины.

При сборке блока разделения и его транспортировке вне состава УМСК особое внимание должно быть уделено требованиям техники безопасности. На изделия поз. 51 и 52 устанавливаются соответственно технологические чека и технологические винты.

Ресурс работоспособности блока - одно срабатывание. Ресурс проверяется при проведении периодических испытаний. Надежность работы блока - 0,999, проверяется при конструкторско-доводочных испытаниях.

.4.2 Испытания блока разделения

В процессе сборки проверяется функционирование фиксаторов 19, приложением к каждому фиксатору в направлении стрелки П усилия от 30 до 35 кгс. Фиксатор перемещается на величину Н. При снятии усилия фиксатор должен возвращаться в исходное положение. После срабатывания производят проверку возвращения фиксатора в исходное положение замером выступания фиксатора до и после срабатывания.