Материал: ТКП-самостоятельная

Внимание! Если размещение файла нарушает Ваши авторские права, то обязательно сообщите нам

Задание № 26

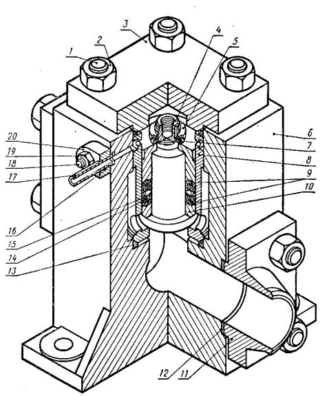
Плавающий клапан

Выполнить сборочный чертеж клапана по рабочим чертежам его деталей и описаниюустройства.Масштабсборочногочертежа1:1.

Прим еч ани е. Рабочие чертежи на детали 1, 2, 5, 7, 17, 18 и 19 не даны: дет. 1 —шпилька АМ24, ГОСТ 11765—66; дет. 2 — гайка М24, ГОСТ 5915—70; дет. 5 — гайка МЗО, ГОСТ 8725—67;

дет. 7 — шайба 30 ГОСТ 8725—67; дет. 17 — труба Б (У) Ц8, ГОСТ 3262—62; дет. 18 — шпилька А М10,ГОСТ11765—66;дет.19— гайкаМ10,ГОСТ5915—70.

Перечисленные детали найти по номеру ГОСТа в технических справочниках. Недостающие размеры стандартных деталей выбрать по таблицам ГОСТов, учитывая назначение этих деталей в сборочной единице; необходимое количество деталей установить самим. Обозначения стандартных деталей в спецификации сборочного чертежа должны отвечать условным обозначениям, принятым в ГОСТах.

Устройство и работа клапана. Изложницы очищают от окалины водой под давлением 50 кгс/см2. Так как давление воды велико, то краны обычной конструкции для перекрытия воды непригодны; в этом случае применяют плавающий клапан. Клапан собирают в следующем порядке.

На золотник 4 до упора в буртик Ø 70 надевают нижнее кольцо 10 канавкой R7,5 от буртика. В эту канавку вставляют манжету 9, в которую закладывают кольцо 14. На кольцо с противоположной стороны надевают вторую манжету 9 и верхнее кольцо 8. Оба кольца стягивают гайкой 5, под которую предварительно закладывают стопорную шайбу 7. На этом заканчивается сборка золотника.

Затем собирают корпус клапана, В расточку Ø 100А3 корпуса 6 закладывают прокладку 13 фаской 1 X 45° вниз. До упора в прокладку 13 запрессовывают седло 15 фаской 6X 45° вниз. В проточку на нижней части корпуса Ø 100А4 закладывают прокладку 12 и ставят фланец 11, который соединяют с корпусом шпильками 1 и гайками 2. К фланцу должна быть приварена встык швом С9 труба Ø 83 X 6,5 (на сборочном чертеже показать части трубы как пограничные детали). В гнезда M10 на верхней части корпуса ввертывают две шпильки 18. На шпильки надевают фланец 20, в который предварительно завернута труба 77. Под трубу в раззенковку Ø 15 на корпусе закладывают медную шайбу 16. Фланец крепят к корпусу шпильками 18 и гайками 19.

Ранее собранный золотник вставляют гайкой вверх в седло 15 до упора; после этого гайку затягивают так, чтобы манжеты упирались в стенки седла и не пропускали воду во время работы клапана. В этом положении гайку стопорят отгибанием лапок шайбы. На седло накладывают вторую прокладку 13 фаской 1 X 45° вниз и крышку 5, которую закрепляют на корпусе 6 шпильками 1 и гайками 2.

Плавающий клапан устанавливают между насосом, подающим воду через верхнее отверстие Ø70 в пространство между корпусом и седлом клапана, и форсункой, разбрызгивающей воду. Чтобы золотник опустился и прекратил подачу воды к форсунке, в пространство между крышкой 3 и собранным золотником через трубу 17 подается вода под давлением 50 кгс/см2. При этом давление на золотник сверху (вследствие большей площади) превысит давление снизу, золотник опустится, отключая трубопровод от насоса. Эта подача осуществляется электромагнитным переключателем (дистрибутором) (рис. 1). При переключении дистрибутора давление в верхней части золотника падает. Давление воды под золотником заставляет его подниматься, а вода из верхней части клапана, расположенной над золотником, свободно вытекает через ту же трубку 17.