Материал: ТКП-самостоятельная

Внимание! Если размещение файла нарушает Ваши авторские права, то обязательно сообщите нам

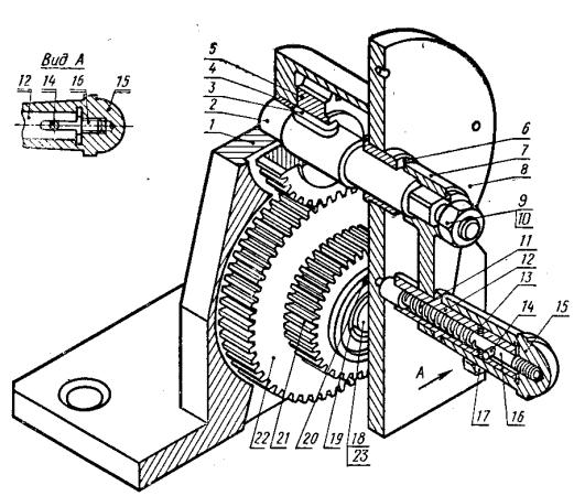
Задание № 23 Длительное приспособление

Выполнить сборочный чертеж приспособления по рабочим чертежам его деталей и описанию устройства. На главном виде сборочного чертежа корпус 1 расположить так, как он изображен на главном виде рабочего чертежа детали. Масштабсборочногочертежа1:1.Приступаяквыполнениюзадания, ознакомьтесь

сконструкциейкаждойдеталиисовсемиобозначенияминарабочихчертежах.

Пр и м е ч а н и е . Чертежи деталей 3, 9, 10, 13, 14, 17, 20 и 23 не даны: дет. 3 — шпонка,

ГОСТ 8789—68*; дет. 9 — гайка, ГОСТ 5927—70; дет. 10 — шайба, ГОСТ 11371—68*; дет. 13

винт M5X3, ГОСТ 1477—64*; дет. 14 — штифт цилиндрический 4Пр2Х 18,ГОСТ 3128—70; дет. 17 — болт, ГОСТ 7808—70; дет. 20 — шпонка, ГОСТ 8789—68*; дет. 23 — винт М6Х8, ГОСТ 1477—64*. Перечисленные стандартные детали надо найти по номеру ГОСТа в технических справочниках. Недостающие размеры этих деталей выбрать по таблицам ГОСТов, учитывая назначение деталей в сборочной единице; необходимое количество их установить самим. Обозначения стандартных деталей в спецификации сборочного чертежа должны отвечать условным обозначениям, принятым в ГОСТах.

Устройство и работа приспособления. При фрезеровании зубчатых реек на горизонтально-фрезерном станке необходимо после изготовления каждой впадины между зубцами перемещать стол станка точно на величину шага рейки. Для этой цели служит делительное приспособление.

Приспособление собирают в следующем порядке.

Приспособление состоит из нескольких узлов, каждый из которых сначала собирают отдельно, а затем монтируют вместе.

Узел I. На валик 2 надевают зубчатое колесо 5 так, что цапфа валика Ø20X

выступает за плоский торец колеса на 19 мм. Валик соединяют с колесом шпонкой 3.

Узел II. В отверстие зубчатого колеса 22 запрессовывают бронзовую втулку 19; фаска втулки должна быть обращена в сторону удлиненной части ступицы колеса. На ступицу Ø40Г зубчатого колеса 22 насаживают зубчатое колесо 21 так, чтобы плоский торец последнего сел на выступ Ø50 детали 22. Зубчатые колеса 22 и 21 скрепляют шпонкой 20.

Узел III. В отверстие Ø18А рычага 7 со стороны фаски запрессовывают до упора коротким концом втулку 12. Фиксатор 16 с надетой на него пружиной 11 вставляют во втулку 12 (резьбой М6 со стороны запрессованного конца втулки). При этом стержень фиксатора Ø 8 проходит между концами винтов 13, а пружина ими задерживается. Чтобы фиксатор не мог выпасть из втулки 12, в его отверстие Ø4А3 через прорези во втулке забивают штифт 14. На конец фиксатора навинчивают до упора ручку 15. Правильно собранный фиксатор должен при оттягивании ручки подаваться вместе с ней, а при отпускании ручки — возвращаться пружиной в первоначальное положение.

Узел IV. В отверстие Ø16Л корпуса 1 запрессовывают до упора палец 18. Для большей надежности палец дополнительно стопорят в корпусе винтами 23. Два отверстия под винты сверлят и нарезают совместно в корпусе и пальце при сборке; оси отверстий располагают в вертикальной плоскости на расстоянии 16 мм. В другое отверстие корпуса Ø25А с внутренней стороны запрессовывают до упора втулку 4.

Узел V. В отверстие Ø 32Л крышки 8 со стороны фаски запрессовывают до упора втулку 6. Втулки 6 и 4 служат подшипниками для валика 2.

Затем монтируют готовые узлы. Валик 2 в сборе вставляют коротким концом во втулку 4. Узел II надевают на палец 18; при этом зубчатые колеса 5 и 22 должны войти в зацепление. Затем корпус закрывают крышкой 8 (гнезда Ø 4А4 в крышке должны быть обращены наружу); крышку крепят к корпусу болтами 17. На квадратный конец выступающего сквозь крышку валика 2 насаживают рычаг 7 в сборе с узлом III и закрепляют на валике гайкой 9, под которую предварительно подкладывают шайбу 10.

Этим заканчивают сборку приспособления. Теперь фиксатор может быть введен в любое отверстие Ø4А4 на крышке приспособления. При повороте фиксатора на 90° поворачивается на некоторый угол и зубчатое колесо 21, которое передает вращение зубчатому колесу привода подачи стола горизонтально-фрезерного станка (не входит в комплект приспособления).

Передаточные числа зубчатых колес заранее подбирают так, чтобы при повороте фиксатора на 90° стол фрезерного станка, на котором закреплено приспособление, передвигался на величину шага нарезаемой рейки.