Материал: ТКП-самостоятельная

Внимание! Если размещение файла нарушает Ваши авторские права, то обязательно сообщите нам

Задание №15

Лубрикатор.

Выполнить сборочный чертеж лубрикатора по рабочим чертежам деталей и описанию устройства. На главном виде сборочного чертежа корпус 1 расположить так, как он изображен на главном виде рабочего чертежа детали. Масштаб сборочного чертежа 2:1.

Прим еч ани е. Чертежи деталей 3, 7, 8, 13, 17, 18 и 20 не даны: дет. 3 винт, ГОСТ

1477—64*; дет. 7 — гайка, ГОСТ 5927—70; дет. 13 — шайба, ГОСТ 11371—68*; дет. 8 — винт М4Х 15 ГОСТ 1476—64*; дет. 17 — винт ГОСТ 17475—72; дет. 18 — шпонка ГОСТ 8792—68;

дет. 20 — винт ГОСТ 1491—72. Перечисленные детали следует найти по номеру ГОСТа в технических справочниках. Недостающие размеры стандартных деталей выбрать по таблицам ГОСТов, учитывай назначение этих деталей в сборочной единице; необходимое количество

деталей установить самим. Обозначения стандартных деталей в спецификации сборочного чертежа должны отвечать условным обозначениям, принятым в ГОСТах.

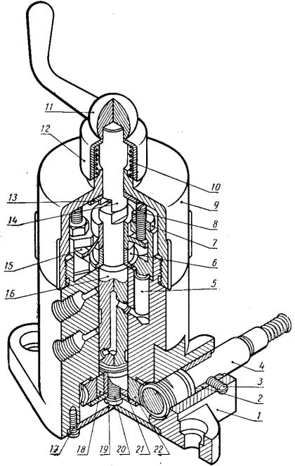
Устройство и работа лубрикатора. Лубрикаторами называют аппараты, предназначенные для централизованной подачи смазки под давлением к поверхностям трения. Подача смазки начинается в момент пуска механизма и продолжается автоматически в течение всего периода его работы. Лубрикатор данной конструкции — двенадцатиточечный: жидкая смазка под давлением периодически подается к двенадцати точкам — поверхностям трения. Собирают лубрикатор в следующем порядке.

В отверстие Ø 14А3 корпуса 1 с задней стороны вставляют втулку 2 пазами к внешней стороне корпуса и закрепляют винтом 3. Затем с передней стороны в отверстие Ø 14А3 корпуса 1 вставляют нарезанным концом червяк 4 до упора. После этого устанавливают вторую втулку 2 пазами к передней стороне корпуса и закрепляют винтом 3. Червяк собран.

На хвостовик Ø10П3 вала 16 насаживают втулку 6 буртиком Ø16 до упора. Вал 16 с втулкой 6 концом со шпоночным пазом вставляют сверху в отверстие Ø15А корпуса 1 до упора. На выступающую часть вала снизу надевают червячное колесо 22, которое входит в зацепление с червяком 4. В шпоночный паз колеса вставляют шпонку 18. Колесо закрепляют на валу 16 винтом 20 с шайбой 21. В расточку Ø45 корпуса / вставляют крышку 19 и прикрепляют к корпусу винтами

17.

На рабочую поверхность изогнутой реборды диска 15 навешивают плунжеры 5, после чего диск вместе с плунжерами опускают на корпус 1; при этом плунжеры должны войти в отверстия Ø5А корпуса, а диск надеться на вал 16, так чтобы зуб диска вошел в вырез втулки 6. В отверстия М4 плунжеров 5 ввертывают заостренными концами винты 8; положение винтов фиксируют гайками 7.

Колпак лубрикатора собирают сначала отдельным узлом из деталей 9, 10, 11, 12, 13 и 14. В расточку Ø10А4 ручки 11 впрессовывают ось 14. На ось надевают до упора стакан 12 дном к ручке, а затем пружину 10. Выступающую часть оси вводят в отверстие Ø10А4 колпака 9. На ось 14 насаживают шайбу 13 заподлицо с дном паза оси. Дно паза расклепывают. Узел собран. Колпак в сборе навинчивают на корпус. Рассмотрим, как работает лубрикатор.

Лубрикатор получает вращение от электродвигателя. Вращение через червяк 4 и червячное колесо 22 передается на рабочий вал 16, на который насажен диск 15. При вращении вала 16 диск 15 вследствие изогнутой поверхности реборды сообщает плунжерам 5 возвратно-поступательное движение. За один оборот вала диск дважды поднимет и опустит каждый плунжер. При подъеме плунжера под ним создается разреженное пространство. Это пространство заполняется маслом, поступающим по маслопроводу через всасывающее отверстие М12 в корпусе 1 и систему распределительных отверстий вала 16 (продольного и двух поперечных Ø3А3) и горизонтальные отверстия Ø3 корпуса. При опускании плунжера масло из полости цилиндра через систему распределительных отверстий рабочего вала 16 поступает в маслопроводы подачи масла к поверхностям трения, подсоединенным

к отверстиям М10 корпуса. Одновременно два плунжера нагнетают масло, два подают смазку в маслопроводы, расположенные один на верхнем, другой на нижнем рядах отверстий М10 корпуса, остальные два плунжера находятся в промежуточных положениях.

Полный цикл работы лубрикатора завершается за один оборот рабочего вала. Интервал между подачами смазки в одну точку равен 1/6 времени цикла. Лубрикатор можно регулировать двумя способами: регулировочными винтами 8 плунжера 5; изменением скорости вращения вала 16. Кроме основного электропривода, лубрикатор оборудован дополнительным устройством, установленным на колпаке 9 для ручной подкачки смазки к поверхностям трения, необходимой во время пуска машины: при нажатии ручки 11 пружина 10 сжимается, паз оси 14 соединяется с выступом рабочего вала 16, и вращательное движение от ручки и передается валу 16.