Материал: ТКП-самостоятельная

Внимание! Если размещение файла нарушает Ваши авторские права, то обязательно сообщите нам

Задание №8

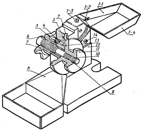
Кондуктор с бункерной загрузкой деталей

Выполнить сборочный чертеж кондуктора по рабочим чертежам его деталей и описанию устройства. Масштаб сборочного чертежа 1:1.

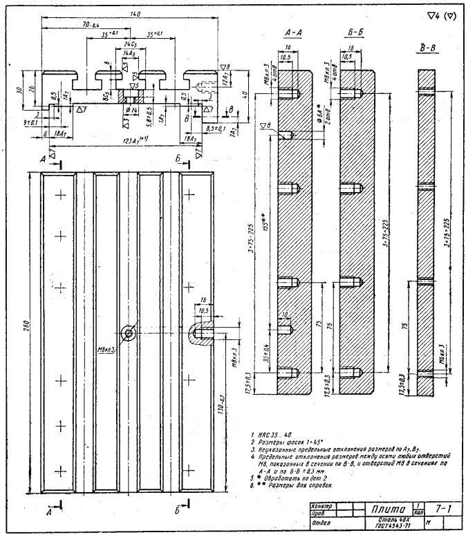
Приступая к выполнению сборочного чертежа, ознакомьтесь с конструкцией каждой детали и со всеми обозначениями на рабочих чертежах.

Примечание. Чертежи деталей 5, 6, 9,13 и 14 не даны: дет. 5 — винт М8,

ГОСТ 1477—64*; дет. 6 — штифт 4ГХ26, ГОСТ 3128—70; дет. 9 — винт М5, ГОСТ 1477—64*; дет. 13 — шарик Ø 6,35, ГОСТ 3722—60, материал ШХ9 (покупной); дет. 14— винт М6, ГОСТ 1491—72.

Перечисленные стандартные детали найти по номеру ГОСТа в технических справочниках. Недостающие размеры этих деталей выбрать по таблицам ГОСТов, учитывая назначение деталей в сборочной единице; необходимое количество деталей установить самим. Обозначения стандартных деталей в спецификации сборочного чертежа должны отвечать условным обозначениям, принятым в ГОСТах.