Материал: ТКП-самостоятельная

Внимание! Если размещение файла нарушает Ваши авторские права, то обязательно сообщите нам

Задание №7

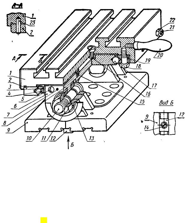
Угловой стол для заточки резцов.

По рабочим чертежам деталей и описанию выполните сборочный чертеж стола в трех проекциях. На месте главного вида выполните продольный разрез по осям отверстий Ø 18 основания 9. Положение основания 9 на главном виде должно быть таким, чтобы риска на нем глубиной 0,6 и шириной 0,6 мм, была видна на виде слева.

Прим еч ани е. Чертежи деталей 3, 5, 7, 11, 13, 14, 16, 17, 18, 20, 21, 22 и 23 не даны: их надо найти по номеру ГОСТа в технических справочниках. Дет. 3, 7, 23 — штифты цилиндрические, ГОСТ 3128—70; дет. 5 — винт, ГОСТ 17473—72; дет. 11 и 22 — гайки, ГОСТ

5915—70; дет. 13 — шайба, ГОСТ 11371—68*; дет. 14, 75 —винты, ГОСТ 1491—72; дет. 17

шарик П Ø 10, 319 мм, ГОСТ 3722—60; дет. 18 — болт, ГОСТ 7805—70; дет. 20 — ручка,

ГОСТ 12485—67; дет. 21 — винт, ГОСТ 1476-64*.

Размеры и количество стандартных деталей выберите сами, учитывая их назначение в сборочной единице. Обозначения стандартных деталей в спецификации сборочного чертежа должны отвечать условным обозначениям, принятым в ГОСТах.

Назначение и устройство стола. Угловой стол предназначен для заточки и доводки резцов. Резцы закрепляют на столе с помощью накладок и Т-образных болтов, головки которых заводят в Т-образные пазы плиты 1. Стол можно

перемещать вручную как в горизонтальной, так и в вертикальной плоскости. При повороте стола в вертикальной плоскости обеспечивается точный угол заточки и доводки резца в пределах от 0 до 30° как в одну, так и в другую сторону. Приспособление устанавливают на столе станка и закрепляют болтами, проходящими через отверстия Ø 14 основания 9.

Стол собирают в следующем порядке. В проушины основания 9 вставляют выступами плиту 8. Затем в отверстия Ø 18 выступов и проушин вставляют пальцы 10 так, чтобы головки пальцев были обращены одна к другой. Пальцы закрепляют гайками 11 с шайбами 13. Со стороны риски основания 9 к плите 8 двумя винтами 5 крепят нониус 6. Перед креплением нониус центрируют двумя установочными штифтами 7, которые вставляют в отверстия нониуса и гнезда Ø 3 плиты 8. При правильной установке шкала нониуса должна быть обращена наружу, а палец 10 со стороны гайки и шайбы должен пройти через отверстие Ø 35 нониуса. В углубления с размерами 30x12x8 на верхней грани плиты 8 укладывают два амортизатора 15 и на них кладут плиту 1. При этом: а) Т- образные пазы ее должны быть сверху; б) продольные оси плиты 8 и среднего Т- образного паза плиты 1 должны находиться во фронтальной плоскости; в) продольная сторона плиты 1 с размером по толщине, равным 40 мм, должна быть ближе к зрителю.

В отверстие М8 (с расточкой Ø 14 под цилиндрическую головку) плиты 1 ввинчивают винт 16. Этот винт играет роль ограничителя хода при продольном перемещении этой же плиты по отношению к плите 8. Со стороны паза шириной 123 мм плиты 1 к выступу высотой 0,5 мм, расположенному в той части плиты, где ее высота равна 30 мм, четырьмя болтами 18 крепят призму 2. Перед закреплением призму центрируют двумя штифтами 23. Продольный паз призмы при этом должен быть обращен внутрь паза шириной 123 мм. Ко второму выступу высотой 0,5 мм плиты 1 крепят четырьмя болтами 18 призму 19 так, чтобы продольный ее паз был обращен к пазу плиты 8. В промежутки, образовавшееся между пазами призм и пазами плиты 5, вставляют два сепаратора 4 с шестью шариками 17 в каждом. Перемещение сепараторов в горизонтальном направлении ограничивается четырьмя штифтами 3, которые вставляют в гнезда Ø 4 плиты 8. Степень зажатия шариков в пазах регулируют четырьмя винтами 21 с гайками 22. Винты 21, ввернутые в отверстия М6 плиты 1, передают усилие призме 19.

Для удобства перемещения плиты / в горизонтальном направлении и вращения стола относительно основания 9 в гнездо М8 плиты /, со стороны регулировочных винтов 21 ввинчивают фасонную ручку 20. Затем закрепляют, например, в средних глухих пазах нижней части основания 9 две шпонки 12 двумя винтами 14, и угловой стол готов к установке его на столе станка.