Из всех типов сужающих устройств выбирается
диафрагма, т.к. она создаёт наибольший перепад давления. Также берётся камерная
диафрагма, т.к. камеры усредняют давление по сечению сужающего устройства.
Рассчитав внутренний диаметр трубопровода, который равен Dв=630 мм,
отказываемся от камерной диафрагмы, т.к. не изготавливают камерные диафрагмы на
такие большие трубопроводы. Выбирается бескамерная диафрагма типа ДБС 1,6 - 600
Б/Б ГОСТ 8.563Х, потому что диаметр округлили до 600 мм (есть запас по
скорости) и давление 0,69 МПа, где ДБС - обозначение диафрагмы, 1,6 - условное
давление Ру, 600 - условный проход Dу,
Б/Б - код материала 12Х18М10Т по ГОСТ 5632, ГОСТ 8.563Х - обозначение
Государственного стандарта или РД.
.4 Выбор сосуда
.4.1 Общие сведения
К сосудам относят уравнительные, уравнительные конденсационные, вспомогательные и разделительные сосуды. Конструктивные особенности этих устройств зависят от рода измеряемой среды, её свойств и характеристик.
Уравнительные сосуды изготавливают по ГОСТ 14319 - 73 приборостроительные предприятия и поставляют в составе измерительных комплектов. Их применяют при измерении расхода горячих жидкостей с температурой выше 1200С для обеспечения равенства плотностей жидкости в плюсовой и минусовой соединительных линиях. Кроме того, уравнительные сосуды применяют при измерении уровня жидкости в резервуарах для исключения влияния на результат измерений высоты столба жидкости в сосуде по отношению к измеряемому переменному уровню в резервуаре. ГОСТ 14319 - 73 предусматривает наличие больших (Б) и малых (М) сосудов. Поэтому тип сосуда обозначают соответственно СУБ и СУМ, где СУ - сосуд уравнительный. В состав обозначения сосудов входят: значение условного давления Pу в магапаскалях; исполнение, предусматривающее комплектацию штуцеров сосуда теми или иными ниппелями, пробками и т.д. и код материала, из которого он изготовлен. Сталь марки 35 по ГОСТ 1050 - 74 обозначают буквой «а», марки 12Х18Н10Т по ГОСТ 5632 - 72 - «б», а Х17Н13М2Т по ГОСТ 5632 - 72 - «в». На Рисунке 3.5 изображена схема уравнительного сосуда.
Уравнительные конденсационные сосуды СКБ, СКМ (Рисунок 3.6) предназначены для поддержания постоянства и равенства уровней конденсата в плюсовой и минусовой импульсных трубах при измерении расхода водяного пара. Обозначение строится аналогично описанному для сосудов СУМ. Буквы СКМ обозначают: сосуд конденсационный малый. Сосуды СКМ изготавливают обычно из стали 20 по ГОСТ 1050 - 74, обозначаемой буквой «а». В технически обоснованных случаях применяют сталь 12Х18Н10Т по ГОСТ 5632 - 72.
Разделительные сосуды (Рисунок 3.7) применяют
при измерении расхода агрессивных, вязких и других сред, вредно влияющих на
чувствительный элемент дифманометра. ГОСТ 14320 - 73 предусматривает три
габаритных размера разделительных сосудов - большой, средний и малый,
обозначаемых соответственно Б, С, М. Сосуды рассчитаны на Ру=6,3; 25 и 40 МПа.
Серийно изготавливают средние сосуды, а также малые на Ру=40 МПа.
Разделительные сосуды СРС и СРМ изготавливают из стали 20 по ГОСТ 1050 - 74,
обозначаемой буквой «а». В технически обоснованных случаях их изготавливают из
сталей 12Х18Н10Т по ГОСТ 5632 - 72 и 10Х17Н13М2Т по ГОСТ 5632, обозначаемых
соответственно буквами «б» и «в». Разделительные сосуды заполняют
разделительной жидкостью, соответствующей условиям эксплуатации и свойствам
измеряемой среды. В качестве разделительных жидкостей обычно применяют воду,
легкие минеральные масла, глицерин и другие. В зависимости от соотношения
плотностей измеряемой среды и разделительной жидкости первая из них подводится
либо в верхнюю, либо в нижнюю часть разделительного сосуда. Особенностью
конструкции всех разделительных сосудов является наличие контрольных пробок для
контроля уровня заполняющей сосуд жидкости. При монтаже разделительных сосудов
их следует располагать возможно ближе к сужающему устройству.
.4.2 Выбор типа и модификации сосуда
При измерении расхода жидкости и пара
устанавливаются уравнительные сосуды. Уравнительные сосуды бывают двух типов - СУ
и СКУР. Выбирается СУ - 6,3 - 2, где СУ - условное обозначение (уравнительный
сосуд); 6,3 - условное давление, МПа; 2 - исполнение.
.5 Выбор преобразователя разности давлений
.5.1 Общие сведения
В курсовом проекте в качестве преобразователя разности давления используется тензометрический преобразователь.
Действие тензометрических преобразователей основано на использовании тензорезистивного эффекта в плёнке кремния, выращенной на поверхности монокристаллической подложки из искусственного сапфира.
Конструкция тензометрического манометра приведена на Рисунке 3.8. Манометр имеет цилиндрический корпус 4, образующий в верхней части упругую мембрану, a в нижней - штуцер для подвода измеряемого давления P. K мембране припаяна круглая сапфировая пластина 1, на поверхность которой нанесены тонкопленочные полупроводниковые тензорезисторы R1…R4 из монокристаллического кремния. Тензорезисторы c помощью припаянных к ним выводных проводов 5, соединены со сборными пластинками 2, закрепленными на кольце из диэлектрика 3. Давление в манометре измеряется схемой неуравновешенного моста, плечами которого являются тензорезисторы R1…R4. B результате деформации мембраны c сапфировой пластинкой 1 и тензорезисторами возникает раз6аланс моста в виде напряжения, которое c помощью усилителя преобразуется в выходной сигнал, пропорциональный измеряемому давлению. R1 и R2 - расположены радиально на диске, и при деформации сопротивления уменьшаются. R3 и R4 - расположены в окружном направлении, поэтому при деформации сопротивления увеличиваются.
В настоящее время современная приборостроительная промышленность выпускает большое количество преобразователей разности давлений:
· Сапфир
· Метран
· Мида
· АИР
· ДОН и т.д.
В таблице 3.2 приведены сравнительные характеристики некоторых типов тензопреобразователей.
Таблица 3.2 - Основные характеристики дифференциальных манометров
|
Наименование параметра |
Наименование |
||
|
Измеряемое давление |
Дифференциальное давление |
||
|
Тип датчика |
АИР - 20 ДД |
Метран 100 ДД |
Сапфир 22 МП ДД |
|
Максимальный верхний предел измерений |
10 МПа |
16 МПа |
16 МПа |
|
Класс точности |
0,1; 0,25% |
0,1; 0,2; 0,25; 0,5; 1% |
0,2; 0,25; 0,5% |
|
Питание, В |
36 |
36; 42 |
12-42 |
|
Конструкция |
мокрая |
сухая |
непосредственно на сенсор |
На примере преобразователя Сапфир - 22 ДД рассмотрится структура и работа преобразователя.
На рисунке 3.9 представлена схема преобразователя. Тензопреобразователь 4 мембранно-рычажного типа размещен внутри основания 9 в замкнутой полости 11, заполненной кремний органической жидкостью, и отделен от измеряемой среды металлическими гофрированными мембранами 8. Мембраны 8 приварены по наружному контуру к основанию 9 и соединены между собой центральным штоком 6, который связан с концом рычага тензопреобразователя 4 с помощью тяги 5. Фланцы 10 уплотнены прокладками 3. Воздействие измеряемой разности давлений (большее давление подаётся в камеру 7, меньшее - в камеру 12) вызывает прогиб мембран 8, изгиб мембраны тензопреобразователя 4 и изменение сопротивление тензорезисторов. Электрический сигнал от тензопреобразователя передаётся из измерительного блока в электронное устройство 1 по проводам через гермоввод 2.
На рисунке 3.10 приведена принципиальная схема.
Электронное устройство выполнено в виде специальной гибридной микросхемы в
герметизированном корпусе. Измерительный тензометрический мост 1 включен в виде
одного из плеч мостовой схемы 2 с термостабильными резисторами. Выходное
напряжение усилителя 13 однозначно связано с температурой моста 1, поэтому
может быть использовано для компенсации температурной погрешности прибора. На
схеме: 12 и 13 - усилители; 9 - сумматор; 4 и 5; 10 и 11 - нормирующие
резисторы; 6 - усилитель рассогласования; 7 - источник стабилизирующего
напряжения; 3 - управляемый источник тока; 8 - блок стандартного сигнала
постоянного тока.
.5.2 Выбор типа и модификации преобразователя разности давлений
Для измерения разности давлений выбирается
преобразователь
где: 1- тип датчика - ДД;
- модель датчика - 2420;
- указывается только для датчиков, поставляемых на объекты атомной энергетики;
- исполнение по материалам, контактирующим с измеряемой средой (36НХТЮ);
- климатическое исполнение;
- абсолютное значение предела допускаемой основной погрешности - 0,5%;
- верхний предел измерений датчика - 6,3 кПа;
- предельное допускаемое рабочее избыточное давление - 4 МПа;
- код выходного сигнала - 4…20мА;
- код скобы и кронштейна;
- код вентильного блока (указывается только при заказе Сапфир - 22М ДД);
- указывается при заказе Сапфир - 22М с
разъемом.
.6 Выбор источника питания
.6.1 Общие сведения
Для работы тензометрических преобразователей
разности давлений для измерения расхода нужно обязательно предусмотреть блок
питания и корнеизвлечения. Блоки питания и корнеизвлечения предназначены для
преобразования сетевого напряжения ~220 В в стабилизированное напряжения
постоянного тока 36 В и функционального преобразования этого сигнала в другие
уровни по каналу с корнеизвлекающей зависимостью.
.6.2 Выбор типа и модификации источника питания
где: 1 - модель прибора; 2 - исполнение; 3 -
питание (220В); 4 - входной сигнал; 5 - выходной сигнал; 6 - обозначение
технических условий.
.7 Выбор вторичного прибора
.7.1 Общие сведения
Для выбора вторичного прибора имеются следующие исходные данные: диапазон входной величины - 4…20мА; функциональные признаки прибора в соответствии с [ ] - прибор показывающий. Этим данным удовлетворяют приборы КП1Т, А100, Метран 620. В таблице 3.3 приведены основные характеристики этих приборов.
Выбирается вторичный прибор А100. Его
достоинствами являются вертикальная шкала, светодиодная индикация включения
прибора, многофункциональность (измерение, регистрация, сигнализация), простота
эксплуатации и ремонта, уставки задаются переменными резисторами - оси в
верхней части шасси прибора, непрерывная линия регистрации на ленточной
диаграмме шириной 100мм, модернизированный лентопротяжный механизм.
Таблица 3.3 - Основные технические характеристики вторичных приборов
|
Характеристика |
КП1Т |
А100 |
Метран 620 |
|
Диапазон входной величины |
0-50; 0-100мВ; 0-5; 0-10В; 0-5; 4-20мА |
0-20мВ; 0-10В; 0-5; 4-20мА |
4-20мА |
|
Точность измерения |
0,5;1% |
0,5% |
0,5% |
|
Количество каналов измерения |
1 |
1-3 |
1 |
|
Потребляемая мощность |
20ВА |
18ВА |
20ВА |
|
Быстродействие |
10; 5; 2,5с |
1с |
5с |
.7.2 Выбор типа и модификации вторичного прибора
где: 1- тип прибора; 2 - модификация - прибор показывающий(4), одноканальный(1), с входным сигналом 4-20мА(2), питание 220В и 50Гц(4); 3 - климатическое исполнение; 4 - обозначение технических условий; 5 - количество приборов; 6 - диапазон входного сигнала - 4-20мА; 7 - диапазон измерения прибора; 8 - быстродействие. Диапазон измерения берётся таким, чтобы максимальное значение параметра находилось примерно на ¾ шкалы.
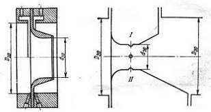
Рисунок 3.2 - Диафрагма: d20 - внутренний
диаметр диафрагмы, D20 -внутренний диаметр трубопровода, 1- кольцевые камеры,
2- отдельные отверстия, 3- тонкий диск с круглым отверстием
Рисунок 3.3 - Сопло
Рисунок 3.4 - Сопло Вентури: 1- входной
патрубок, 2- кольцевые усредняющие камеры, 3- отверстия, 4- входной конус, 5-
горловина, 6- диффузор
Рисунок 3.5 - Уравнительный сосуд
Рисунок 3.6 - Уравнительный конденсационный
сосуд
Рисунок 3.7 - Разделительный сосуд

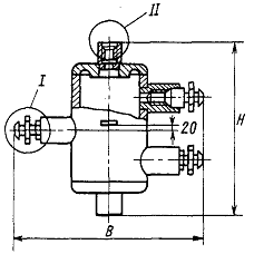
Рисунок 3.8 - Конструкция тензометрического
манометра: 1 - сапфировая пластина; 2 - сборные пластинки; 3 - кольцо из
диэлектрика; 4 - корпус; 5 - выводные провода
Рисунок 3.9 - Принципиальная электрическая схема
Сапфир - 22ДД
4 Индивидуальное задание
Видеографические регистраторы и промышленные контроллеры
Общие сведения.
Рассматривается возможность применения видеографических регистраторов вместо программируемых логических контроллеров (ПЛК) при построении информационных автоматизированных систем.
Малейшая ошибка при выборе оборудования может повлечь либо аппаратный переизбыток и, как следствие, повышение стоимости и снижение надежности, либо систему, не выполняющую свои основные функции.
Для работы с ПЛК нужны подготовленные специалисты. Программирование ПЛК требует знания, как аппаратной части конкретного контроллера, так и языков программирования.
Относительно простую информационную АСУТП можно построить на основе многоканального видеографического регистратора, имеющего элементы сигнализации и/или управления. Конфигурирование и обслуживание подобных приборов не требует специальной подготовки персонала.
Промышленные контроллеры.
Программируемый логический контроллер, ПЛК - микропроцессорное устройство, предназначенное для управления технологическими процессами в промышленности и другими сложными технологическими объектами. Принцип работы ПЛК заключается в сборе сигналов от датчиков и их обработке по прикладной программе пользователя с выдачей управляющих сигналов на исполнительные устройства.
Элементная база и в импортных, и в российских контроллерах применяется одна и та же. На что действительно следует обратить внимание, так это на то, учтена ли при разработке контроллера российская специфика его эксплуатации. К российской специфике можно отнести:
· высокий уровень промышленных помех;
· широкий диапазон изменения параметров атмосферной и промышленной сред;
· возможность информационной связи с рядом морально устаревших, но ещё находящихся в эксплуатации средств автоматизации выпуска российских предприятий 80-х годов;
Область применения.
Специализированный контроллер, программа действия которого заранее прошита в его памяти, а изменению при эксплуатации подлежат только параметры программы. Число и набор модулей ввода/вывода определяется реализуемыми в нем функциями. Часто такие контроллеры реализуют различные варианты функций регулирования. Основные области применения: локальное управление какой-либо малой технологической установкой или механизмом.