Материал: Технология низкотемпературной сепарации газа

Внимание! Если размещение файла нарушает Ваши авторские права, то обязательно сообщите нам

устройство для очистки газа;

Далее рассмотрим подробнее газожидкостный сепаратор.

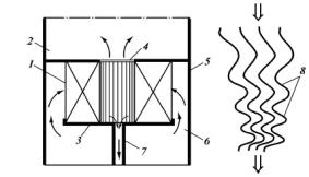
Предложенный газожидкостный сепаратор, схематично показанный на рис. 5, осуществляет процесс очистки газа от капельной жидкости. Газовый поток, содержащий капли жидкости, проходит через кольцевой канал между стенкой корпуса и поддоном и распределяется по каналам, образованных между жалюзийными пластинами. При движении газового потока по извилистым каналам между жалюзийными пластинами увеличивается скорость потока за счет уменьшения поперечного сечения. Крупные капли жидкости осаждаются на стенках жалюзийных гофрированных пластин на начальном участке. Для того, чтобы обеспечить осаждение все более мелких капель жидкости по ходу движения потока газа, нужно увеличить инерционные силы, действующие на капли. Очищенный от жидкости газ собирается в центральной части сепаратора и через отверстие - в крышке отводится. Отделенная жидкость собирается на поддоне и через трубку 7 выводится из сепаратора.

Газожидкостный сепаратор: 1-гофрированные пластины; 2-крышка; 3-поддон; 4-отверстие; 5-стенка корпуса; 6-кольцевой канал; 7-сливвная труба; 8-гофры

Эффективность

Конструкция предложенного сепаратора обеспечивает движение газового потока от периферии к центру, уменьшение площади поперечного сечения в направлении потока газа, увеличение скорости и, как следствие, рост эффективности сепарации газожидкостного потока за счет повышения улавливающей способности. Техническое решение внедрено в промышленность [1].

3. Основные факторы, влияющие на процесс НТС


Эффективность работы установок НТС при совершенном оборудовании и достижении состояния равновесия зависит от давления в низкотемпературном сепараторе, температуры и состава исходной смеси.

Давление сепарации определяется давлением магистрального трубопровода и в пределах обычного используемых давлений (5-7.5 МПа) мало влияет на степень извлечения С5 + высшие.

Влияние температуры и состава исходной смеси хорошо прослеживается на примере извлечения нормального пентана. Здесь в качестве параметра состава используется средняя молярная температура кипения исходной смеси. Из рисунка видно, что при постоянной температуре сепарации, чем тяжелее состав исходной смеси, тем выше степень извлечения данного компонента, однако, начиная с некоторого состава (средняя молярная температура кипения около -133 оС, М≈22), утяжеление состава исходной смеси практически не влияет на увеличение степени извлечения;

снижение температуры сепарации от 0 до -40 оС обеспечивает существенный рост извлечения конденсатообразующих компонентов из газов легкого состава (средняя молярная температура кипение -156 ÷-133 ºС); влияние температуры сепарации на извлечение конденсатобразующих компонентов из жирных газов (средняя молярная температура кипения больше -133ºС, М>22) несущественно; для обеспечения высоких степеней извлечения конденсатообразующих компонентов требуется тем более низкая температура НТС, чем легче состав исходной смеси [2].


4. Совершенствование установок НТС


Для совершенствования процесса НТС были предложены два метода: сорбция в потоке и изоэнтропийное расширение газа.

Сорбция в потоке - впрыск в поток исходной смеси стабильного конденсата или других углеводородных жидкостей на некотором расстоянии от сепаратора, т.е. утяжеление исходной смеси. Как было показано, до определенного предела утяжеление состава тощей исходной смеси позволяет повысить степень извлечения конденсатобразующих компонентов. Но это мероприятие не дает эффекта для жирных смесей.

Замена изоэнтальпийного расширения (дросселирование) на изоэнтропийное (расширение в детандерах) позволяет эффективнее использовать имеющийся свободный перепад давления. Но и в том и в другом случае необходимо иметь этот свободный перепад давления. Замена дросселя на детандер несколько продлевает срок службы НТС, но не решает проблему извлечения жидких углеводородов на период исчерпания свободного перепада давления.

Как видно на рис. 5, по мере разработки месторождения на истощение следовало бы для поддержания заданного уровня извлечения жидких углеводородов из все облегчающегося состава исходной смеси снижать температуру сепарации. На практике же из-за непрерывного снижения свободного перепада давления температура сепарации постоянно повышается. Поэтому на снижение эффективности НТС влияют одновременно два фактора-облегчение состава исходной смеси и повышение температуры сепарации.

Таким образом, главная причина низкой эффективности установок НТС - несовершенство процесса однократной конденсации, когда извлечение целевых компонентов при фиксированных давлении и температуре зависит от состава исходной смеси [2].

5. Достоинства и недостатки установки НТС


К достоинствам установок НТС можно отнести:

низкие капитальные вложения и эксплуатационные затраты при наличии свободного перепада давления;

одновременную осушку газа до точки росы, достаточных для дальнейшего транспорта газа.

Для установок НТС характерны следующие недостатки:

низкие степени извлечения газового конденсата, особенно для тощих газов;

высокие потери целевых компонентов с товарным газом;

снижение эффективности процесса из-за облегчения состава газа ии повышение температуры НТС;

необходимость реконструкции на период исчерпания свободного перепада давления;

применение ингибитора гидратообразования.

Установки НТС могут найти оправданное применение на небольших месторождениях с коротким сроком разработки, когда более сложные установки не успевают окупиться, а так же как метод первичной обработки при подачи газа на переработку на отдаленный НПЗ.

Как показывает зарубежный опыт, процесс НТС перерос в процесс низкотемпературной конденсации, отличающийся значительно более низкими температурами охлаждения потока газа (до -90 ÷ -120 ºС) [2].


Заключение


В ходе выполнения был изучен метод низкотемпературной сепарации газа, технология и оборудование, применяемое в процессах НТС; рассмотрены параметры, влияющие на процесс НТС; определены достоинства и недостатки установки НТС.

Универсальность и высокая эффективность низкотемпературной сепарации газа в сочетании с практически бесплатным холодом, получаемым на промыслах в результате использования энергии, заключенной в самих газовых потоках высокого давления, делает этот процесс незаменимым почти на всех газодобывающих промыслах, где требуется осушить и обезжирить газ.


Список литературы


1.     Зиберт Г.К., Седых А.Д., Кащицкий Ю.А., Михайлов Н.В., Демин В.М. Подготовка и переработка углеводородных газов и конденсата. Технологии и оборудование: Справочное пособ. - М.: ОАО «Недра-Бизнесцентр», 2001. -316 с.;

2.      Балыбердина И.Т. Физические методы переработки и использования газа: Учебник для вузов. - М.: Недра, 1988. -248 с.: ил.;

.        Кулиев А.М., Алекрепов Г.З., Тагиев В.Г. Технология и моделирование процессов подготовки природного газа. М., «Недра», 1978, 232 с.

.        http://mirslovarei.com/content_geoenc/nizkotemperaturnaja-separacija-58328.html

.        Корчажкин М.Т., Технологическая схема сепарации высоконапорного конденсатного газа, в кн.: Добыча газа М., 1961;

.        Базлов М.Н., Жуков А.И., Алексеев Т.С., Подготовка природного газа и конденсата к транспорту, М., 1968.