Материал: Технологии и машины для посева зерновых культур

Внимание! Если размещение файла нарушает Ваши авторские права, то обязательно сообщите нам

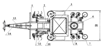
Таблица 3. Коэффициенты устойчивости трактора «Беларус-820» при работе с сеялкой СПУ-6

Масса семян в бункере, кг

Масса сменных грузов на переднем мосту (без учета массы рамки), кг


180

360

440


Нагрузка на передний мост, кг

Коэф. устойчивости Ку

Нагруз-ка на передний мост, кг

Нагруз-ка на передний мост, кг

Коэф. Устойчивости Ку

Нагруз-ка на передний мост, кг

Нагрузка на передний мост, кг

Коэф. устойчивости Ку

Без семян

980

0,25

4265

1170

0,3

4145

1370

0,35

200

855

0,22

4560

1075

0,27

4510

1205

400

-

-

4865

970

0,24

4850

1065

0,27

600

-

-

5180

855

0,21

5180

935

0,21

800

-

-

-

-

-

5490

825

0,21


При уменьшении массы противовеса (360 и 180 кг) нормативный коэффициент устойчивости достигается при максимальной массе семян в бункере соответственно 600 и 200 кг (табл. 3).

Максимальная длина катушки у сеялок типа СПУ составляет 110мм. Задвижка перекрывает катушку, оставляя ее рабочую часть. Шкала на задвижке указывает длину рабочей части катушки. При малом высеве катушка работает с рабочей длиной в пределах 25 мм. Для переключения нормального высева на малый необходимо выполнить три операции: уменьшить глубину желобков катушки, частоту ее вращения и скорость воздушного потока.

Для уменьшения глубины желобков катушки необходимо фиксатор из крайнего левого положения повернуть на 180°, втулку переместить до упора влево и застопорить ее фиксатором в прорези вала катушки.

При нормальном высеве малая шестерня на приводном валу дозатора семян находится внутри большой.

При таком положении шестерен можно высевать повышенные нормы в режиме малого высева. Для высева пониженных норм малую шестерню необходимо переместить влево и ввести ее в зацепление со свободной шестерней на валу катушки.

На выходе вентилятора имеется дроссельная заслонка. При нормальном высеве она должна быть полностью открыта (переключатель находится в положении «А»). В противном случае система забьется семенами. Для предотвращения выдувания легковесных семян из бороздок при малом высеве заслонку надо прикрыть (положение переключателя «Z»).

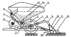
Пневматическая универсальная сеялка С-6 (рис. 4) включает раму, спицу, опорно-приводное и опорное колесо, бункер 5, дозаторы 3 и 4, эжектор 7, вентилятор 8 с механизмом привода, семявоздухопроводы 6 и 10, распределитель потока семян, сошники 11 и загортачи 12, сетку 13 и ворошилку 14. При движении агрегата по полю материал из бункера вращающимися катушками дозатора высевающих агрегатов 3 и 4 подается в эжектор 7, подхватывается потоком воздуха, создаваемого вентилятором 8, и транспортируется по семяпроводам в распределитель 9, затем - в сошники 11 и дальше - на дно бороздок.

Рис..4. Технологическая схема пневматической универсальной сеялки С-6: 1 - опорно-приводное колесо; 2 - цепная передача; 3, 4 - высевающие аппараты; 5 - бункер; 6, 10 - семявоздухопроводы; 7 - эжектор; 8 - вентилятор; 9 - распределитель; 11 - сошник; 12 - пружинный загортач; 13 - сетка; 14 - ворошилка

Привод дозаторов осуществляется от приводного колеса сеялки цепной передачей, а вентилятора - от ВОМ трактора. Вождение сеялки осуществляется по следам маркера, закрепленного на тракторе.

Рабочая ширина захвата - 6 м, производительность - 6 га/ч при рабочей скорости посевного агрегата 12 км/ч, обслуживает сеялку тракторист. Комбинированные сеялки MegaSeеd (рис. 5) имеют различную рабочую ширину захвата - 3; 4; 4,5; 6 м. Межрядковое расстояние при посеве составляет 12,5 см. Сеялка может использоваться в зависимости от состава рабочих органов как для обычного посева по вспаханной почве, так и для мульчированного сева (бесплужная обработка почвы). При этом посев производится в смесь из измельченных остатков растений и земли (поверхностная мульча), которая подготавливается благодаря предшествующей технологической обработке. На относительно легких почвах возможен процесс прямого посева "Direktsaat", т.е. без предварительной обработки почвы может производиться посев с использованием только рабочих органов комбинированной сеялки для мульчированного сева.

Сеялка MegaSeed в зависимости от имеющегося поверхностного слоя почвы может оснащаться по выбору: двухрядной диско-ножевой бороной, комбинацией борон с S-образными вибрационными зубьями, расположенными в два ряда, а также двухрядным зубчатым катком или двухрядными дисковыми мульчирующими рабочими органами для обработки почвы, которые комбинируются соответственно с зубчатым катком диаметром 660 мм, мульчирующим катком (640 мм) или обрезиненным катком (640 мм).

Рабочий процесс комбинированной сеялки MegaSeed протекает следующим образом.

В начале работы гидравлический рычаг управления сеялкой устанавливают в рабочее положение. Глубина хода рабочих органов в зависимости от высеваемой культуры и типа почвы устанавливается регулировочным механизмом относительно прикатывающих катков.

Прикатывающие катки обеспечивают оптимальное уплотнение и равномерную заделку семян на заданную глубину посадки. Широкие гибкие эластичные шины предотвращают их утопание на лёгких почвах, а также налипание клеящихся почв. Вырезные дисковые сошники на шарикоподшипниках нарезают бороздки для посева семян. Высокое давление на сошники (до 800 Н/сошник) обеспечивает устойчивую работу высевающих органов на повышенной и высокой рабочих скоростях и равномерную глубину заделки семян на различных почвах. При недостаточной несущей способности почвы нагрузку на сошники во время работы можно снизить.

а

б

Рис. . Комбинированная сеялка MegaSeed: а - вид сбоку; б - вид сверху: 1 - рама; 2 - вентирятор; 3 - бункер; 4 - распределительная головка; 5 - мульчирующий каток; 6 - пружинный загортач; 7- прикатывающие катки; 8 - дисковые сошники; 9 - опорно-приводное колесо; 10 - зубчатый каток; 11- диско-ножевая борона; 12 - рыхлители; 13 - талреп; 14 - прицепное устройство; А - длина; б - ширина; С - высота сеялки

Идущий сзади пружинный загортач, благодаря изменению угла атаки, позволяет работать на участках с высоким содержанием остатков растений, при этом не забиваясь. Сеялка с диско-ножевыми боронами и мульчирующими дисками рекомендуется для работы с интенсивным заделыванием растительных остатков в почву.

Электронно-механический привод высевающих катушек позволяет точно установить сеялку на заданную норму высева материала и благодаря специальному устройству исключает преждевременный высев семян до начала посева ( при трогании с места).

.3 Применение комбинированных машин для посева зерновых культур

В РУНИП «ИМСХ НАН Беларуси» на базе комбинированного почвообрабатывающего агрегата АКШ-3,6 разработан почвообрабатывающе-посевной агрегат АПП-3,0 (рис. 6).

Рис..6. Комбинированный почвообрабатывающе-посевной агрегат АПП-3,0 (АПП-4,5; АПП-6)

Агрегат предназначен для предпосевной обработки почвы и посева зерновых, зернобобовых, крестоцветных культур и трав. Комплектуется сменными рабочими органами для использования как в отвальных, так и безотвальных технологиях; агрегатируется с тракторами «Беларус-820»; «Беларус-1005»; «Беларус-1025»; производительность за час основного времени - 2,31 - 2,7 га/ч; рабочая скорость - 3,0 км/ч; глубина обработки - до 5,8 см; норма высева семян - 2 - 400 кг/га; глубина заделки семян - 1 - 5 см; масса - 2200 кг.

За рубежом широко используются комбинированные агрегаты, одновременно выполняющие предварительную обработку почвы и посев зерновых культур с использованием тракторов на спаренных колесах, пневматических катков, различных рыхлящих и выравнивающих рабочих органов активного и пассивного действия.

Находят также применение и пахотно-посевные агрегаты на базе обычных и оборотных плугов.

2.4 Образование технологической колеи при посеве

Образование технологической колеи при интенсивной технологии возделывания зерновых культур производят для последующего ухода за посевом. Ширину полос в постоянной технологической колее принимают равной утроенной ширине междурядий для сеялок СЗ-5,4 - 45см, сеялок типа СПУ-6 и С-6 - 37,5 см.

При работе сеялок СПУ-6 (С-6) для образования технологической колеи при отсутствии на сеялке специального устройства наиболее целесообразно в хозяйствах установить постоянно в делительную головку две пробки в отверстия, соединенные пневмосемяпроводами с 7-м и 8-м сошниками с правой стороны сеялки. При этом ширина образуемой колеи будет равна 37,5 см (ширина междурядий 12,5 см). Агрегат должен двигаться челночным способом.

После поворота при движении по маркерному следу правым колесом трактора расстояние между центрами образуемой технологической колеи от двух смежных проходов составит 175 см.

После двух проходов (третьего и четвертого) образуется еще одна такая же технологическая колея. Расстояние между центрами соседних образованных технологических колей составит 12 м.

При такой схеме работы необходимо использовать опрыскиватели с шириной захвата 12 м (ОТМ-2-3) или настраивать другие опрыскиватели на такую же рабочую ширину захвата. При этом расстояние между центрами колес тракторов и опрыскивателя должно составлять 175см. Ширина колес трактора при посеве при этом варианте не регламентируется.

При наличии в хозяйстве трех сеялок СПУ-6 (С-6) наиболее просто и надежно образовать технологическую колею путем постоянного перекрытия подачи семян в четыре сошника средней сеялки, идущих по следам колес трактора.

У пневматических сеялок СПУ-4, СПУ-3 технологическая колея образуется с помощью специальных насадок с управляемыми заслонками, которые закрывают подачу семян в идущие по следам колес трактора сошники через определенное количество проходов агрегата.

На участках неправильной конфигурации, имеющих западины, "блюдца", начало сева с образованием технологической колеи следует начинать в месте, имеющем наибольшую прямолинейную длину гона с последующим засевом участка справа и слева.

3. Организация работы посевных агрегатов

Направление и способ посева следует выбирать с учетом характеристики полей (площади, длины гона, конфигурации, рельефа) и требований агротехники. Направление посева - поперек вспашки и последней предпосевной обработки или под углом к ней; на склонах - под углом к направлению склона или поперек его.

Способы движения посевных агрегатов: челночный - при работе одного, двух и трех агрегатов на полях с длиной гона более 200 м; гоновый - при работе многосеялочных агрегатов на полях прямоугольной формы больших размеров; перекрытием - на полях квадратной формы при гонах до 150 м, где можно разворачивать агрегат в пределах поля, и на очень узких участках - до 60 - 80 м. На этих полях также применяется диагонально-перекрестный способ. Ширину загона при движении агрегата гоновым способом выбирают по табл. 4.

Таблица 4. Рекомендуемая ширина загонов и поворотных полос при работе

 Марка сеялок

Ширина поворотных полос


500

700

при петлевом повороте

при беспетлевом повороте

СПУ-6

72,0

84,0

18,0

12,0

С-6

72,0

84,0

24,0

18,0

СЗ-5,4

57,6

72,0

14,4

10,8

СПУ-3

60,0

76,0

12,0

8,0

СПУ-4

60,0

76,0

12,0

8,0


Маркеры и следоуказатели устанавливают на посевных агрегатах для того, чтобы на двух смежных проходах не было огрехов и пересевов по одному и тому же следу.

Маркер оставляет на поле линию-ориентир, по которой тракторист направляет правое колесо или гусеницу трактора при обратном проходе. Следоуказатель - это брус с подвешенным по краям стержнем или цепочкой, на концах которых укреплен грузик, свободно скользящий по следу колеса от предыдущего прохода или по маркерной линии. При вождении по следу правым колесом или гусеницей правый маркер короче, а левый - длиннее на величину расстояния между серединами передних колес или краями гусениц трактора. Состав посевных агрегатов и вылет маркеров приведен в табл.

Общую оценку состояния посевов делает комиссия, которая учитывает не только выполнение каждого технологического приема, но и значение его для формирования урожая (табл. 6). Если какое-либо требование агротехнически выполнено некачественно, то соответственно ставится прочерк в графе оценочного коэффициента, так как после посева во многих случаях невозможно исправить ошибку и переделать работу.

Таблица Состав посевных агрегатов и установка вылета маркера

Трактор

Число сеялок в агрегате

Ширина захвата, м

Ширина колеи трактора, мм

Вылет маркера, м

Передача трактора





левого

правого


«Беларус-800»

1

3,0

1800

2,48

0,68

VII

«Беларус-800»

1

4,0

1800

2,98

1,18

VII

«Беларус-820»

1

6,0

1800

3,98

2,18

VII