Материал: Технологии и машины для посева зерновых культур

Внимание! Если размещение файла нарушает Ваши авторские права, то обязательно сообщите нам

Технологии и машины для посева зерновых культур














Контрольная работа

Технологии и машины для посева зерновых культур

Введение

Одним из путей увеличения производства зерна является повышение производительности и качества работы сельскохозяйственной техники, занятой на возделывании и уборке зерновых культур.

В общем комплексе технологических операций и приемов при возделывании зерновых важнейшее значение имеют основная и предпосевная обработка почвы и посев, отличительной особенностью которого при интенсивной технологии возделывания является образование технологической колеи. Это позволяет во время вегетации провести многократные подкормки растений минеральными удобрениями, внести ретарданты, обеспечить химическую защиту посевов от сорняков, болезней и вредителей.

Качество выполнения этих технологических операций определяется выбором технических средств для их выполнения, их техническим состоянием, настройкой, регулировкой и проведением работ в оптимальные агротехнические сроки. При этом агрегаты должны быть взаимоувязаны по ширине захвата, производительности, ширине колеи, качеству работы.

1. Агротехнические и технологические требования к посеву зерновых культур при интенсивной технологии возделывания

В зависимости от имеющихся в хозяйстве технических средств применяют рядовой посев с междурядьями 12,5 см и 15 см, а также узкорядный (6,25 и 7,5 см) с образованием технологической колеи, а при использовании сеялок С-6, С-6Т, СЗ-5,4 и с одновременным внесением в рядки гранулированного суперфосфата или аммофоса в дозе до 50 кг/га. При использовании сеялок типа СПУ перед предпосевной обработкой почвы необходимо внести недостающие в почве микроэлементы, а также стартовую дозу фосфорных удобрений. Семена должны быть протравлены.

Посев должен быть проведен в оптимальные агротехнические сроки. В каждом хозяйстве сроки сева как озимых, так и яровых должны корректироваться в зависимости от погодных условий, влажности, состава почвы, высеваемой культуры. Следует учесть, что почти 20% урожая теряется из-за нарушения сроков выполнения посевных работ.

При определении нормы высева следует учитывать качество семян, оцениваемое хозяйственной годностью и полевой всхожестью, которые определяются в лабораторных условиях.

Сеялки должны обеспечивать высокую равномерность высева по ширине захвата, глубине заделки и ходу движения. Максимальное отклонение высева между отдельными высевающими аппаратами допускается в пределах ±4%, всеми аппаратами ±3%. Повреждение семян высевающими аппаратами не должно превышать 1% для зерновых и 2% для зернобобовых. Глубина заделки семян в подготовленную под посев почву зависит от влажности, механического состава почвы, сроков посева и высеваемой культуры. На тяжелых почвах семена высевают на глубину 2 - 3 см, на средненесуглинистых, супесчаных и торфяных - на 3 - 4 см. При запаздывании с посевом и пересыхании почвы глубину увеличивают на 1 - 2 см. Отклонение глубины заделки семян от заданной не должно превышать 15%. Наличие незаделанных в почву семян не допускается. Отклонение ширины стыковых междурядий смежных проходов от основных не должно превышать 15 см.

Норма высева семян (4 - 6 млн. шт/га) зависит от сорта, типа почвы, климатических условий, состояния поля, степени и характера засоренности. В условиях нашей республики по чистому и удобренному полю в начале оптимального срока сева зерновых культур достаточно высевать 4 млн. шт/га (200 кг/га) всхожих семян. В условиях Дании нормы высева зерновых культур корректируются в зависимости от сроков сева, качества предпосевной обработки почвы, массы 1000 зерен (табл. 1).

Таблица 1. Нормы высева семян зерновых культур в условиях Дании, кг/га

Сроки сева

Прохладный климат

Умеренный климат


Масса 1000 зерен

Масса 1000 зерен


45

50

55

45

50

55

До 1 сентября

113

125

138

88

97

107

1 - 5

125

139

153

100

111

122

6 - 10

138

153

168

113

125

138

11 - 15

150

167

183

125

139

153

16 - 20

163

181

199

138

153

168

21 - 25

175

194

214

150

167

183


Поле перед посевом должно быть обработано на глубину заделки семян, не иметь свальных гребней и развальных борозд, скрытых глыб, крупных комков диаметром более 5,0 см, пожнивных остатков. Объемная масса почвы на глубине заделки семян должна составлять 1,1 - 1,25 г/см3. Влажность подготовленной под посев почвы в слое 0 - 10 см не должна превышать 22%. Поворотные полосы засевают сразу после посева основного поля. При посеве должна строго соблюдаться прямолинейность рядков и образование технологической колеи для последующего ухода за посевами.

Рис. .1.Схема оптимальной  заделки семян

В условиях Могилевской и Витебской областей для получения высоких урожаев и снижения себестоимости зерновых и зернобобовых культур весьма важно выбрать норму высева семян на гектар. В условиях нашей республики норма высева семян зерновых культур устанавливается в пределах 4-5 млн. шт/га (200 - 220 кг/га).

Норму высева семян для получения оптимального количества растений на 1м2 необходимо корректировать в зависимости от качества посевного материала, срока посева, температуры воздуха, сорта, получения оптимального количества растений на 1м2, качества подготовки почвы и др. При некачественной предпосевной подготовке почвы, запаздывании со сроками посева необходимо дифференцированное увеличение норм высева семян с целью недопущения изреженности и снижения урожайности высеваемой культуры.

Поверхность засеянного поля должна быть ровной, без следов колес трактора, сцепки и сеялок.

зерновой сеялка комбинированный агротехнический

2. Условия качественного посева зерновых культур при интенсивной технологии возделывания

Наукой установлено и практикой подтверждено, что урожай сельскохозяйственных культур на 25% зависит от качественной и своевременной обработки почвы и на 25% - от качества посева.

.1 Обработка почвы под посев зерновых культур

Многократные проходы однооперационной техники приводят к уплотнению пахотных и подпахотных слоев почвы до 1,47- 1,69 г/см3, что близко к критической (1,6 - 1,7 г/см3). Для устранения этого недостатка необходимо применять разуплотнение почвы или использовать комбинированные почвообрабатывающие машины и агрегаты. Предприятиями Республики Беларусь созданы и выпускаются новые конструкции почвообрабатывающих машин и орудий и рабочих органов к ним на основе новейших достижений науки и практики в области сельхозмашиностроения. Применение их в хозяйствах позволяет повышать качество работ при обработке почвы, снижать расход топлива и затраты труда, увеличивать производительность, выполнять работы в оптимальные агросроки.

Под озимые зерновые культуры - рожь, пшеницу, озимое тритикале - рекомендуется приведенная ниже последовательность выполнения технологических операций предпосевной подготовки почвы:

лущение стерни за уборкой предшественников (на легких почвах):

а) дисковыми лущильниками ЛДГ-5 или ЛДГ-10, на средних и тяжелых почвах);

б) дисковыми боронами БДТ-7, Л-113 или чизельными культиваторами КЧ-5,1; КЧ-5,1М с приставками ПК-5,, ПКД-5,1; КПЧ-6; КПМ-4; КПС-6М; КНЧ-4,2; АЧУ-2,8);

вспашка через 10 - 15 дней после лущения и вслед за внесением минеральных и органических удобрений на глубину 20 - 22 см плугами с соответствующими приспособлениями ПВР-3,5 или ПВР-2,3; ПП-2,8; ПП-2 для разрушения глыб, уплотнения и выравнивания почвы. Заделку развальных борозд производят секциями тяжелой дисковой бороны;

предпосевная обработка почвы комбинированными агрегатами АКШ-3,6; АКШ-6; АКШ-7,2; АКШ-9; АПУ-6,5; АПВ-4,5; АКП-3; АКП-4; АКП-6.

На засоренных полях и при повышенной влажности на глинистых почвах вместо комбинированных агрегатов типа АКШ следует применять агрегаты для предпосевной подготовки почвы КП-3; КПН-8,4; КНС-6,3; КСО-6; КПН-5,6; КПС-6М; КСО-4; КНС-4; КПН-4; КПМ-4 и др. Если после культивации почва остается чрезмерно вспушенной или глыбистой, то ее следует прикатать катками, установленными на комбинированных агрегатах АКШ, выглубив из почвы S-образные зубья.

Весной предпосевная обработка почвы под посев яровых культур (ячменя, овса, пшеницы) начинается с раннего весеннего боронования или культивации на глубину до 8 см с целью закрытия влаги, а финишная обработка - комбинированными агрегатами типа АКШ. При отсутствии последних обработку можно проводить культиваторами типа КПС; КПН; КПМ и др. На глинистых и сильно уплотненных почвах используют чизельные культиваторы КЧ-5,1; КЧ-6; КНЧ-4,2; КПМ-4 с набором сменных рабочих органов на глубину до 30 см с целью разрушения плужной подошвы. Требованиям предпосевной обработки почвы под яровые культуры наиболее полно отвечает следующая схема: ранневесенняя культивация + предпосевная культивация с боронованием и прикатыванием комбинированными агрегатами типа АКШ с учетом состояния почвы и погоды.

Последнюю предпосевную обработку почвы необходимо проводить перед посевом без разрыва во времени, иначе проростки сорняков будут обгонять в развитии и росте культурные растения и угнетать их.

В Дании и других странах Западной Европы вспашка почвы совмещается с предпосевной обработкой за счет использования дополнительных приспособлений к оборотным плугам - кольчато-зубчатых катков, роторных боронок и комбинированных агрегатов на базе вертикально-роторной бороны.

.2 Современные сеялки для посева зерновых культур

В настоящее время хозяйства используют пневматические сеялки СПУ-6; СПУ-4; СПУ-3, С-6, С-6Т производства Республики Беларусь, выпускаемые на предприятиях ПО «Лидагропроммаш» и «Брестский электромеханический завод». Кроме того, находят применение зернотуковые сеялки СЗ-5,4, выпускаемые заводами «Красная Звезда» (Украина), "Белинсксельмаш" (Россия) и др.

Опыт использования сеялок типа СПУ показал, что на глинистых и тяжелых суглинистых почвах и засоренных полях они не всегда в полной мере обеспечивают агротехнические требования заделки семян по глубине. В связи с этим сеялки типа СПУ выпускаются в настоящее время с килевидными (СПУ-6(4;3)) и дисковыми (СПУ-6Д(4;3Д)) сошниками.

В Республике Беларусь на предприятии ОАО "Брестский электромеханический завод" выпускаются комбинированные агрегаты АПП-3, АПП-4,5, АПП-6 к тракторам «Беларус-800/820», «Беларус-1221», «Беларус-1522», которые совмещают предпосевную обработку почвы с посевом и обеспечивают высокий технологический и экономический эффект.

Сеялки типа СЗ-5,4, укомплектованные дисковыми сошниками, могут хорошо работать как на отвальных, так и на мульчированных агрофонах, а также при минимальной подготовке почвы к посеву; однако они имеют большую металлоемкость, громоздкость, неравномерно заделывают семена по глубине, особенно по следам колес трактора, где разброс по глубине находится в пределах 0 - 10 см, и не обеспечивают уплотненное ложе для семян. При использовании килевидных и катковых сошников на хорошо выровненных почвах колебания составляют 0,6 - 1,1 см, они образуют уплотненное ложе для семян.

Зернотуковые сеялки типа СЗ-5,4 комплектуются разными сошниковыми группами (анкерными, килевидными, одно- и двухдисковыми, катковыми и др.) для различных почвенно-климатических зон. В зависимости от типа почв применяется та или другая сошниковая группа: на легких окультуренных, песчаных и супесчаных - килевидные и анкерные; на средних, тяжелых глинистых - дисковые. Кроме этого разные типы почв требуют неодинаковой предпосевной обработки почвы. Наличие пожнивных, растительных остатков, а также камней влияет на качество подготовки почвы и не позволяет применять в любых условиях одну какую-либо сошниковую группу (табл. 2).

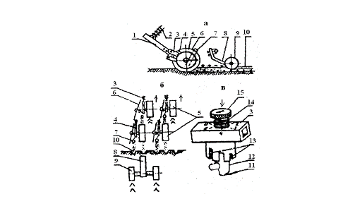
В БГСХА разработана однодисковая сошниковая группа с опорно-прикатывающими каточками к серийной зернотуковой сеялке СЗ-5,4, представленная на рис. 2, в которой устранены недостатки серийных сошников.

     

Рис..2. Однодисковая сошниковая группа: к сеялке СЗ-5,4: а,б - схемы работы сошников; в - регулятор глубины: 1 - поводок; 2 - пружина; 3 - корпус сошника; 4 - регулятор; 5 - опорно-прикатывающий каточек; 6 - диск; 7 - направитель семян; 8 - пружинный поводок; 9 - прикатывающий каточек; 10 - семена; 11 - хвостовик; 12 - штифт; 13 - прорезь; 14 - пружина; 15 - головка-указатель

Исследования показали, что применение предлагаемой сошниковой группы (в сравнении с сеялками СЗ-5,4 -04) позволяет:

заделать на 15% больше высеваемых семян в сантиметровом слое заданной глубины;

повысить полевую всхожесть семян и в связи с этим сократить на 10... 15% норму высева зерновых культур;

уменьшить на 6% тяговое сопротивление сеялки.

Преимущества сеялок СПУ-6, СПУ-4, СПУ-3 - универсальность, меньшая металлоемкость, тяговое сопротивление и расход топлива на 1 га посева, простота конструкции, лучшая маневренность агрегата. Однако они более требовательны к подготовке почвы под посев, техническому обслуживанию и подготовке к работе. Сеялка не имеет устройства для внесения одновременно с посевом стартовой дозы минеральных удобрений. Почва для посева должна быть хорошо подготовленной: выровненной, мягкой, без камней, древесных остатков, кусков дернины, остатков соломы и трав. Уклон поля не должен превышать 15%.

Сеялка не имеет устройства для внесения одновременно с посевом стартовой дозы минеральных удобрений. Почва для посева должна быть хорошо подготовленной: выровненной, мягкой, без камней, древесных остатков, кусков дернины, остатков соломы и трав. Уклон поля не должен превышать 15%.

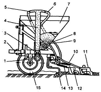
Пневматические сеялки типа СПУ имеют один или два бункера 7 (рис.3), дозатор 8, пневматическую систему, включающую вентилятор 1, гофрированный семявоздухопровод 4 с распределительной головкой 5, семяпроводы 6, подающие семена к сошникам 11.

Рис..3. Технологическая схема сеялки СПУ-6: 1 - вентилятор; 2 - рама; 3- диффузор; 4 - вертикальный семявоздухопровод; 5 - распределительная головка; 6 - отдельный семявоздухопровод; 7 - бункер; 8 - катушка-дозатор; 9 - семена; 10 - семянаправитель, 11 - сошник; 12 - клапан; 13 - регулировочная пружина; 14 - рыхлитель колеи колес; 15 - опорно-приводное колесо.

Вентилятор подачи воздушного потока приводится в движение от ВОМ клиновидным ремнем. Привод дозирующего устройства осуществляется от колеса сеялки.

Рекомендуемая рабочая скорость посевного агрегата - 2,2 - 3,0 м/с (8 - 11 км/ч).

Для создания безопасной работы трактора «Беларус-820» с сеялкой СПУ-6 используются специальные грузы для догрузки переднего моста трактора: 180 кг на одинарной рамке, 360 кг и 440 кг - на удлиненной рамке (табл. 3).

Определение коэффициента устойчивости агрегата «Беларус-820»+СПУ-6 производилось при различной степени загрузки семенного бункера сеялки. Установлено, что по критерию устойчивости (Ку) трактор «Беларус-820» с сеялкой СПУ-6, поднятой в транспортное положение при массе противовеса 440 кг, может агрегатироваться при максимальной загрузке бункера семенами массой 800 кг (Ку=0,21 при допустимом 0,20).