Материал: Технологические процессы изготовления арматурных изделий

Внимание! Если размещение файла нарушает Ваши авторские права, то обязательно сообщите нам

9. СОСТАВ РАБОЧЕЙ БРИГАДЫ

Таблица 9.1 - Состав рабочей бригады

Наименование профессии

Кол-во смен

Число рабочих

Подчи-ненность

Всего


Арматурщик по заготовке сеток и плоских каркасов Арматурщик по произ-ву (заготовке) монтажных петель Электросварщик на одноточечных аппаратах Электросварщик Арматурщик по резке стержней Арматурщик по резке листовой стали Арматурщик по высадке анкеров Электросварщик по контактно - точечной сварке Подсобные рабочие Крановщик

2 2 2 2 2 2 2 2 2 2

21 16 21 21 21 18 21 21 21 21

42 32 42 42 42 36 42 42 42 42

Мастер отделения


Численность рабочих определим по формуле:

=Fоб· m·Sпр· ηз/ Fд ·Kр· Sр

об - количество часов работы оборудования в1 смену за 1 год;- количество смен;пр - количество единиц оборудования;

ηз - коэффициент использования оборудования;д - количество часов работы персонала;р - коэффициент, учитывающий невыходы рабочих;р - количество оборудования, приходящегося на одного рабочего.

=2024·2·41·0,85/4048·0,85·0,5=109 чел

Численность рабочих с учетом вспомогательных рабочих и обслуживающего персонала.

R=109·1,2·1,025=135 чел

Таблица 9.2 - Технико-экономические показатели арматурного цеха

Показатели

Единица измерения

Арматурный цех

Производительность цеха в год Производственная площадь Численность работающих Съем продукции с 1 м2 производственной площади Выработка на одного рабочего в год

тонн м2 чел т/м2 т/чел

15000 885 135 16,95 111


Таблица 9.3 - Состав рабочего звена

Название операции

Кол-во человек

Продолжительность операции, мин/шт

Наименование оборудования

Трудоемкость, час/т

Контроль

1. Производство плоских сеток

Арматурщик 6 р. - 1 чел. Подсобный рабочий - 1 чел.

6

Линия 7975/1

0,016

Мастер, сотрудник ОТК

2. Производство плоских каркасов

Арматурщик 5 р. - 1 чел. Подсобный рабочий 1 чел.

6

КТР-1001 УХЛЧ

0,099

Мастер, сотрудник ОТК

3. Производство объемных каркасов

Арматурщик 6 р. - 1 чел. Подсобный рабочий - 2 чел.

11,95

СМЖ-286А

5,48

Мастер, сотрудник ОТК

4. Производство напрягаемой арматуры

Арматурщик 5 р. - 1 чел. Подсобный рабочий - 1 чел.

2

СМЖ-129В

0,147

Мастер, сотрудник ОТК

5. Производство закладных деталей

Арматурщик 4 р. - 1 чел.

1,27

НБ-633

0,215

Мастер, сотрудник ОТК

6. Производство монтажных петель

Арматурщик 4 р. - 1 чел.

0,4

СМЖ-173А

0,097

Мастер, сотрудник ОТК


10. МЕРОПРИЯТИЯ ПО ЭКОНОМИИ СТАЛИ

Экономия металла в отрасли сборного железобетона, наряду с проблемой снижения трудоемкости изготовления арматуры, имеет большое значение.

Причины перерасхода металла: замена арматуры проектных диаметров и классов, а также профилей проката, имеющихся в наличии; технологические потери, обусловленные особенностями производства, отходы при заготовке арматуры и изделий из нее и раскроя проката, прокат арматуры с дополнительными допусками; брак; разрушения конструкции при контрольных разрушениях.

В производстве ЖБК широко применяют стержневую высокопрочную арматуру класса А-V, а также термически упрочненную сталь классов Ат-V, Ат-VI. Применение арматуры перечисленных классов вместо упрочненной вытяжкой стали классов А-IIв, А-IIIв и А-IV дает экономию на 1 м при сокращении расхода металла в среднем 227 кг.

Объем производства арматуры классов А-V, А-VI и Ат-VI постоянно растет. Это позволяет довести экономию стали до 185 тыс. м.

Применение новых эффективных видов напрягаемой арматуры стали классов А-V, А-VI, термически упрочненной стали классов Ат-IV, Ат-V является одним из основных направлений совершенствования напрягаемой арматуры. Новые вилы арматурных сталей позволяют занимать менее прочную

напрягаемое арматуру классов А-IIIв и А-VI. Экономия металла при этом составляет 20 - 30%. Значительная часть стали может быть сэкономлена при стыковке сваркой коротышей отходов арматуры. С выпуском промышленностью стыковочных машин типа МС-502, МС-1202 и других, широкое применение получила стыковка арматурных стержней и коротышей диаметром 10 - 15 мм.

Снижению металлоемкости способствует также усовершенствование армирование, устройство закладных деталей и монтажных петель.

Экономии металлопроката способствуют прогрессивные виды сварки: безэлектродные под флюсом; ванная, исключающая соединения накладками и внахлест.

Внедрение системы унифицированных закладных деталей в сочетании с прогрессивными способами их изготовления из 1,2 млн. т., расходуемых в настоящее время, для их изготовления. Повышение эффективности использования проволочной арматуры на базе машины типа АТиС - 14х75 и АТиС - 10х35. На этих линиях арматурные сетки для плит покрытий изготавливают непосредственно из бухт.

На каждой панели ПИС 3х2 экономится 4 кг проволоки. Исследования, проведенные рядом научно-исследовательских институтов, подтверждают эффективность более широкого использования легированных сталей повышенной прочности, обеспечивающих сокращение массы конструкции и расход металлопроката.

Существует много других способов сокращения расхода металла:

Основные причины потерь арматурной стали (удельный вес в общем расходе, %):

Отходы напрягаемой арматуры 7,5 %,

Отходы при раскроя стержней в резке бухт 2,6 %,

Отступления от проекта 1,0 %,

Выпуск бракованной продукции 0,5 %.

Разработка и внедрение линий для безотходной сварки и резки арматурных стержней всех классов, заготовки направлены на устранение таких потерь.

В целях экономии арматурной стали применяют контактную стыковую сварку прутков в плеть с последующей безотходной резкой на стержни требуемой длины. Для контактной стыковой сварки применяют сварочные машины: МСП-100, МСМЦ-150 и МСГА-300 с пневматическим, электрическим и гидравлическим приводом подачи. Цифры соответствуют номинальной мощности в кВт. Наибольший диаметр стержней, стыкуемых на этих машинах прерывистым оплавлением с подогревом, 45 - 70 мм. На действующей мощности с ручной подачей.

Для стыкования коротких отрезков арматурной стали (1,5 - 2,5 м) успешно применяют машины-полуавтоматы сваркой трением: МСТ-35, МСТ-41 и МСТ-51, потребляемая мощность которых в 7 - 10 раз меньше, чем при электрической контактной сварке.

На заводах ЖБК-1 применяется также метод контактной стыковой сварки. Например, для изготовления колонн длиной 11 м требуется стержневая арматура длиной 10,97 м. В цех же арматура поступает длиной 11,7 м. В результате остается 0,73 м стали, которая не может быть применена вторично. Эти остатки стыкуются с помощью машин контактной стыковой сварки. Поэтому метод стыкования предусматривает рациональное использование остаточного количества арматуры.

11. КОНТРОЛЬ ТРУДА И КАЧЕСТВА ГОТОВОЙ ПРОДУКЦИИ

Одним из важнейших условий обеспечения выпуска заводами железобетонных изделий высокого качества является правильная организация системы контроля на производстве.

Основой организации такой системы является не столько контроль качества готовой продукции и отбраковка изделий, не удовлетворяющих требованиям ГОСТов, сколько систематический, по возможности непрерывно действующий контроль за соблюдением технологических режимов на каждой операции производственного процесса.

Контроль качества арматурных работ включает в себя комплекс мероприятий по проверке соответствия исходных материалов и конечных результатов проекту и технологическим требованиям. Арматурные изделия контролируют как на заводе при их изготовлении и сборке, так и в процессе монтажа в сооружении.

При контроле проверяют:

качество арматурной стали, класс, марку, диаметры стержней (проволок) арматурных изделий;

состояние арматурной стали и условия ее хранения;

размеры арматурных изделий в целом и расстояние между отдельными элементами, стержнями, закладными деталями;

физико-механические свойства сварных соединений;

точность установки и монтажа арматурных элементов и изделий в конструкции.

11.1 Контроль качества арматурной стали

Каждую партию арматурной стали при отправлении с металлургического или метизного завода снабжают паспортом - сертификатом в котором указывают гарантированные свойства стали. Для горячекатаной арматуры по ГОСТ 5781-82, термомеханически и термически упрочненной стержневой арматуры по ГОСТ 10884-81 в паспорте сертификате указывают диаметр и класс арматуры, минимальные средние значения условного предела текучести и временного сопротивления разрыву и отклонение этих величин. Для низкоуглеродистой холоднотянутой проволоки классов В-I и Вр-I по ГОСТ 6272-80 гарантируется минимальное разрывное усилие, число перегибов в %, для проволоки из углеродистой стали классов В-II и Вр-II по ГОСТ 7348-81 разрывное усилие и усилие, соответствующее условному пределу текучести, число перегибов на 1800 и относительное удлинение после разрыва в %.

Арматурную сталь испытывают в случаях, когда она поступает без паспорта-сертификата, если есть сомнения в достоверности паспортных данных, а также при использовании стали в качестве напрягаемой арматуры. Эту сталь испытывают на растяжение по ГОСТ 12004-81, на изгиб или перегиб по ГОСТ 14019-80.

При контрольных испытаниях арматурную сталь делят на партии. За партию принимают сталь одного класса, марки, диаметра, доставленную одновременно с одного завода или упрочненную по единой технологии в течении одной рабочей смены. Масса партии может быть он несколько сот килограммов до 70 тонн.

Стержневую арматуру при приемке подвергают внешнему осмотру, при котором по профилю, окраске концов определяют класс арматуры, а также оценивают ее прямолинейность, чистоту и качество поверхности.

Проволочную арматуру из углеродистой стали поставляют в мотках. Внешнему осмотру подвергают каждый моток. Для лабораторных испытаний проволоки из низкоуглеродистой стали от каждой партии отбирают 3 % мотков, но не менее пяти мотков. Качество поверхности проволоки проверяют визуально, овальность круглой проволоки, ее диаметр, глубину вмятин проволоки периодического профиля измеряют микрометром по ГОСТ 6507-78. Если хотя бы при одном испытании получают результаты, не отвечающие требованиям стандарта, повторно контролируют такое же количество других мотков, результаты проверки которых принимают окончательными.

Арматурные канаты (пряди) поставляют в бухтах или на катушках. Смотанный в бухты канат должен быть прямолинейным. При приемке осматривают каждую бухту или катушку. Диаметр каната замеряют с точностью до 1 мм., а его проволок - 0,02 мм. Шаг свивки измеряют с точностью до 1 мм.

Результаты контрольных испытаний оформляют актом или записывают в журнал приемки арматуры.

11.2 Контроль сварных соединений арматурных стержней и закладных деталей

Их качество зависит от свойств основных материалов (арматурной стали и проката), сварочных материалов (электродов, флюсов), применяемого оборудования, соответствования режима сварки оптимальному, от квалификации рабочего, выполняющего все операции технологического процесса.

Сварные соединения проверяют путем внешнего осмотра соединений, замера параметров соединений и отдельных его элементов измерительными инструментами, механическими испытаниями на прочность контрольных образцов сварных соединений по ГОСТ 10922-75.

Внешний осмотр наиболее прост и доступен для проверки большого количества сварных изделий и их соединений. Он позволяет особенно при пооперационном контроле с малыми затратами труда своевременно выявлять и устранять большинство дефектов сварки. По осадке стержней и толщине грата опытный контролер может определить качество контактной точечной сварки крестообразных соединений в сетках и каркасах, по утолщению зоны стыка в толще грата - контактной стыковой сварки стержней, по венчику направленного металла толщиной 3 - 10 мм и симметричному его расположению вокруг всего стержня - сварки тавровых соединений закладных деталей, по равномерности положения и плотности шва, порам и поджогам стержней - качество дуговой электросварки.

При ручной и механической дуговой электросварке не разрешаются прожоги пластин и поджоги стержней, перерывы в швах, гребни, наплывы, грубая чешуйчатость, незаваренные кратеры, резкие переходы от основного металла к наплавленному, трещины, неполномерные стыковые и угловые швы и непровары. Отдельные поры на поверхности шва допускаются.

Не реже двух раз в смену измеряют параметры сварных соединений с помощью измерительных инструментов. Штангенциркулем замеряют осадку стержней при контактной точечной сварке крестообразных соединений с точностью до 0,1 мм. Размеры пластин, длину анкеров закладных деталей измеряют линейкой с точностью до 1 мм, размеры рельефов закладных деталей, осадку стержней при рельефной сварке -штангенциркулем с точностью до 0,1 мм.

Механические испытания сварных соединений периодически выполняются в соответствии с ГОСТ 10922-75 в лабораториях заводов ж/б изделий или центральных лабораториях строительных трестов, либо объединений. Такой контроль рекомендуется проводить в процессе обработки технологии и режимов сварки, не реже одного раза в неделю при текущем контроле, а также по окончании изготовления партии арматурных изделий или арматурного блока и сдачи его под бетонирование.

Качество крестообразных соединений, выполненных точечной сваркой, проверяют испытанием на срез и растяжение до разрыва рабочего стержня в зоне стыка. Прочность соединения на срез должна быть не ниже 50 % прочности стержней периодического профиля. При испытании на растяжении стержни должны иметь в зоне стык минимальное разупрочнение, допускаемое требованиями ГОСТ 10922-75. Так же требования при испытании на растяжении предъявляют к сварным соединениям, выполненным контактной стыковой сваркой, а также к стыковым соединениям стержней, выполненных ванной сваркой, непрерывными швами с накладками из стержней, нахлесточными соединениями.

Тавровые соединения закладных деталей испытывают на отрыв, а нахлесточные соединения - на срез в соответствии с ГОСТ 10922-75.

11.3 Контроль арматурных конструкций в процессе их изготовления и монтажа в сооружениях

Качество элементов арматурных конструкций проверяют на каждой операции (разметке, резке, гнутье, сварке) и при приемке их на промежуточной складе путем осмотра всей партии заготовок, выборочного обмера отдельных стержней и каркасов, испытание прочности сварных соединений. Для этого от каждой партии плоских или пространственных изделий отбирают менее трех образцов и проверяют в них диаметры арматурной стали, габаритные размеры изделий и размеры ячеек в двух направлениях, прямолинейность стержней, осадку в крестообразных соединениях, прочность крестообразных соединений на срез и растяжение, прочность стыковых и нахлесточных соединений на растяжение до разрыва.

Результаты контрольных измерений и испытаний записывают в журнал с указанием даты приемки, фамилии арматурщика или сварщика и контролера, типа изделия, партии арматуры и наименование объема строительства или заказчика.

11.4 Предварительное натяжение арматуры

Приборы, используемые для контроля усилия натяжения, должны быть проградуированы с помощью динамометра с классом точности не ниже 1, установленного последовательно с натягиваемой арматурой.

При натяжении ее гидродомкратами контролируют натяжение по удлинению и по показателям манометра насосной станции, а выборочно - динамометрами. В процессе изготовления изделий с напрягаемой канатной и стержневой арматурой используют пружинный динамометр без собственной базы Дип-82 и ИПН-7, для напрягаемой высокопрочной проволоки - динамометр с собственной базой типа ПИН.

11.5 Подготовка элементов закладных деталей

Эту операцию контролируют путем внешнего осмотра и соответствующих замеров и испытаний закладных деталей согласно ГОСТ 10922-75.

При контроле качества таврового соединения арматурных стержней с плоскими элементами проката необходимо убедиться в том, что расплавленный металл равномерно располагается вокруг стержня в виде венчика, а высота венчика металла составляет 3 - 10 мм при дуговой сварке под флюсом. Нахлесточные соединения закладных деталей с приваренными по рельсам анкерами проверяют по осадке стержней, равномерному распределению грата в зоне сварки, зазору между пластиной и стержнем в допустимых пределах.

11.6 Приемочный контроль арматурных конструкций

Он включает в себя проверку установки, размера зазора для защитного слоя бетона и допускаемых отклонений. Стыковые соединения стержней, выполненных ванной сваркой, а также тавровые соединения закладных деталей могут быть проверены с помощью ультразвуковой дефектоскопии.

В наиболее ответственных местах конструкций и сооружений (стыках подкрановых балок, колонн) иногда выполняют ультразвуковую дефектоскопию всех сварных соединений с последующим подсвечиванием сомнительных участков рентгеновскими или гамма-лучами.

В сварных швах допускаются следующие дефекты:

в соединениях, доступных для сварки с двух сторон, - непровары глубиной до 5% толщины металла, но не более 2 мм.; в соединениях доступных для сварки с одной стороны без применения подкладок, - непровары глубиной до 16% толщины металла, но не более 3 мм.;

шлаковые включения или одиночные и групповые поры размером не более 10% толщины металла и не более 3 мм.;

цепочка шлаковых включений при суммарной их длине не более 200 мм на 1 м шва;

шлаковые включения или одиночные и групповые поры не более 5 штук на 1 см2 шва.

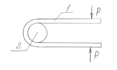
Рисунок 11.1 - Схема испытания стыкового шва на разрыв

Рисунок 11.2 - Схема испытания сварочного соединения на изгиб: 1 - свариваемые стержни; 2 - оправка

Рисунок 11.3 - Схемы испытания крестового соединения: 1 - сварные стержни; 2 - устройство для закрепления в разрывной машине

Рисунок 11.4 - Схема испытания закладных деталей: 1 - верхняя опорная плита разрывной машины; 2 - сферический вкладыш; 3 - опорное кольцо; 4 - пластина закладной детали; 5 - анкер, приваренный к пластине в тавр

12. ОХРАНА ТРУДА И ОКРУЖАЮЩЕЙ СРЕДЫ. НОТ

При проектировании и эксплуатации предприятий сборного железобетона в целях обеспечения безопасных и нормальных санитарно-гигиенических условий труда следует руководствоваться действующими правилами по технике безопасности, действующими в каждом данном ведомстве. В них приведены требования к предприятию в целом, отдельным его цехам, технологическим процессам, транспортным устройствам и вибрационному оборудованию, способствующие снижению уровня шума и улучшению санитарно-гигиенических условий труда, а также регламентированы нормативы по естественному и искусственному освещению помещений, их отоплению и вентиляции.

Нормативные требования к производственным зданиям предприятий сборного железобетона

Объем на одного работающего, м3 15,

Площадь на одного работающего, м2 4,5,

Наименьшая высота здания, м 3-3,2,

Температура воздуха в здании, 0С 16-23.

Максимальная температура поверхности теплоизоляции производственных источников тепла, 0С 45.

Ширина проходов, м:

главных 1,5,

для обслуживания механизмов 0,8.

В настоящее время большинство предприятий достигли высокого уровня автоматизации и механизации технологических процессов. Дальнейшее совершенствование технологии производства способствует развитию промышленности строительных конструкций и изделий, охраны труда. Обеспечивается создание благоприятных гигиенических условий для работающих на предприятиях сборного железобетона, рабочие освобождаются от ручного труда, снижается их заболеваемость и утомляемость, улучшается качество изделий и степень их заводской готовности.

В арматурном цехе основными вредными факторами являются шумовая обстановка, возникающая вследствие высоких шумовых характеристик сварочного оборудования, влияние шума отдельных ударов металла о металл в процессе выполнения арматурных работ, выделение пыли при очистке железа от окалин и ручной электросварки; выделение различных газов при электросварке и точечной сварке. Для охраны труда в арматурном цехе предусмотрены следующие мероприятия:

Арматурные цеха должны быть оборудованы приточно-вытяжной вентиляцией и аспирацией. При работе в закрытых помещениях вблизи сварочных аппаратов необходимо устраивать вытяжную вентиляцию с заборным устройством, отсасывающим воздух в направлении от рабочего.

Расстановка оборудования и рабочих мест должны, как правило, исключать возможность пересечения транспортных и грузовых потоков. Ширина главных проходов в цехе должна быть не менее 1,5 м, ширина второстепенных проходов, используемых для ремонтов, осмотра и смазки оборудования - не менее 0,8 м. Проезды для цехового транспорта должны иметь ширину, превышающую не менее, чем на 1 м, максимальные габариты груженых транспортных средств.

Электропроводка к стыкам должна быть проложена в заземленных металлических трубах. Корпуса станков и трансформаторов заземляются. Шкафы с электроаппаратурой запираются на замок. Регулировать, ремонтировать и осматривать эту аппаратуру разрешается только дежурному электрику. Движущиеся рабочие детали механизмов, если они представляют опасность, необходимо ограждать.

К самостоятельной работе на оборудовании на заготовке и обработке арматурной стали и закладных деталей допускаются лица не моложе 18 лет, обученные правилам эксплуатации.

Перед началом работы арматурщик должен проверить состояние машин, исправность пусковых и тормозных приспособлений, ограждений, слив воды из системы охлаждения, смазку трущихся частей механизма, порядок на рабочем месте. Работа на неисправных машинах не допускается. Запрещается производить чистку, обтирку, смазку и ремонт механизма во время их работы.

Около станков необходимо вывесить таблички с указанием максимально допустимых диаметров и марки стали обрабатываемой арматуры по паспортным данным.

При выполнении арматурных работ могут быть случаи травматизма из-за нарушений правил техники безопасности при эксплуатации оборудования и при неправильной разгрузке арматурного металла, раскатывания стержней, труб, пачек со сталью из неустойчивых штабелей.

СПИСОК ЛИТЕРАТУРЫ

арматура каркас технология оборудование

1. Технология бетона, строительных изделий и конструкций: методические указания к выполнению курсовой работы для студентов дневного и заочного обучения специальности 290600/Сост. Д.И.Гладков. - Белгород: Изд-во БГТУ им. В.Г. Шухова, 2005 - 24с.

. Прыкин Б. В. Проектирование и оптимизация технологических процессов, - Киев: Буревестник, 1977.

. Прыкин Б. В., Бойко В. Е., Дробот В. В. Технологическое проектирование арматурного производства, - Киев: Буревестник, 1997.

. ОНТП-07-85. Общественные нормы механического проектирования предприятий сборного железобетона, - М.: Высшая школа, - 1986.

. Справочник по производству сборных железобетонных изделий под редакцией К.В. Михайлова,- М.: Стройиздат, 1982.

. Ю.М.Баженов. Технология бетонных и железобетонных изделий,- М.: Стройиздат, 1992.

. О. А. Гершберг. Технология бетонных и ж/б изделий, - М.: 1971.

. ГОСТ 28737-90. Балки фундаментные железобетонные для стен зданий промышленных и сельскохозяйственных предприятий. Технические условия.