Материал: Технологические процессы изготовления арматурных изделий

Внимание! Если размещение файла нарушает Ваши авторские права, то обязательно сообщите нам

∆l ≤ ∆lt = (tp - t0) ∙ lK ∙ α (6.5)

t0 - температура окружающей среды; lK - расстояние между теплопроводящими контактами, мм; α - коэффициент линейного расширения стали, α = 14 ∙ 10-6

∆lt= (450 - 20) ∙ 9,2 ∙ 14 ∙ 10-6 = 0,055384 м = 55,384 мм

Длина арматурной заготовки:

Lзаг = lу - ∆ln + α ∙ a (6.6)

а = 2,5d - отрезок для создания анкерной головки, мм;

а = 2,5 ∙ 14 = 35 ммзаг = 9200 - 43,332 + 35 = 9191,668 мм

Для электротермического натяжения арматуры применяют установку СМЖ-129В, состоящую из рамы, подвижного и неподвижного контактов и электрооборудования.

Техническая характеристика установки СМЖ-129В

Класс арматурной стали А-IV, А-V, А-VI, Ат-IV

Диаметр стержней, мм 10 - 15

Длина нагреваемой части стержня, мм 3240 - 6120

Число одновременно нагреваемых стержней 2

Установленная мощность трансформаторов, кВ∙А 40

Давление воздуха в системе (не менее), Мпа 0,49

Усилие прижима на стержень, Н, не менее 2000

Скорость нагрева, 0С/мин 100

Температура нагрева, 0С 350 - 450

Габаритные размеры, мм:

длина 6600,

ширина 1250,

высота 1450.

Масса, кг .820

Контроль натяжения арматуры заключается в систематической проверке расстояний между упорами форм, длины заготавливаемых стержней, фактических удлинений арматуры и непосредственно натяжения, которое определяют измерительными приборами после полного остывания. Предельные отклонения предварительного напряжения, замеренного приборами, не должно превышать величины Р.

6.6 Производство закладных деталей

В железобетонных конструкциях применяют преимущественно унифицированные сварные, штамповочные и штампосварные закладные детали, предназначенные в основном для соединения конструкций при монтаже в единый каркас или для крепления на них оборудования и приспособлений. Закладные детали должны быть заанкерены в бетоне.

При изготовлении закладных деталей применяют горячекатаную листовую, полосовую сталь марки Ст 3 и арматурную сталь класса А-I.

Все виды сварных соединений закладных деталей и их параметры должны соответствовать требованиям ГОСТ 14098-85 «Соединения арматуры и закладных изделий ж/б конструкций, типы, конструкции и размеры.»

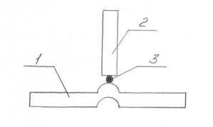
Для тавровых соединений анкерных стержней с плоскими элементами при изготовлении закладных деталей М-4 используется контактная рельефная сварка. Контактную рельефную сварку сопротивлением тавровых соединений закладных деталей выполняют на модернизированных одноточечных сварочных машинах. Вместо верхнего электрода в зажиме закрепляют анкерный стержень, привариваемый контактной сваркой к выштампованному сферическому рельефу пластин. Из-за отсутствия электродуги у некоторых закладных деталей удается снизить толщину пластин на один миллиметр, не требуется флюс, снижается загазованность в цехе. Однако сферические углубления с наружной стороны пластин несколько ухудшают условия приваривания накладных деталей при монтаже ж/б конструкций, требуют в некоторых случаях заваривания этих углублений ручной дуговой сваркой в неудобных монтажных условиях.

Рисунок 6.9 - Контактная рельефная сварка в тавр: 1 - пластина; 2 - анкер; 3 - место стыка анкера с пластиной

Параметры таврового соединения, сваренного контактной рельефной сваркой

Класс арматурной стали А-I, А-II, А-III,

Номинальный диаметр стержней, мм 6 - 20,

Толщина плоского элемента, мм .4 - 8,

Диаметр выдавленного металла, мм 1,4,

Диаметр рельефа, мм 2,0,

Радиус кривизны рельефа, мм 2,0,

Высота рельефа, мм 0,5.

Эта сварка позволяет в 4 раза повысить производительность труда по сравнению с ручной дуговой сваркой и на 15% создает экономию металла.

Сортовую сталь предварительно необходимо очистить (если это нужно) легкоструйными аппаратами, затем режут на прессножницах НБ-633.

Техническая характеристика пресс-ножниц НБ-633

Размеры разрезаемого проката, мм

диаметр круглой стали 45,

квадратная сталь 40х40,

толщина листовой стали 16,

полосовая сталь 20х140,

угловая сталь 120х120х120,

швеллер 18.

Наибольший диаметр пробиваемого отверстия, мм 28,

Число ходов ножа в минуту 45.

Установленная мощность электродвигателя, кВт.4,5.

Габаритные размеры, мм:

длина 1725,

ширина 582,

высота 1950.

Масса, кг. 2100.

6.7 Производство монтажных петель

В производстве объемных блоков наиболее экономично и эффективно использовать монтажные петли замкнутой треугольной формы. Это позволяет сэкономить до 50% металла по сравнению с обычными монтажными петлями.

Применяется правильно-отрезной станок U-622 с приемно-выдающим устройством, обеспечивающим отрезку стержней длиной от 100 до 6000 мм; и станок для гнутья замкнутых монтажных петель, и одноточечная сварочная машина МТ-1222.

Одноточечная сварочная машина МТ-1222 состоит из корпуса, электродержателей с электродами, сварочного трансформатора, регулятора цикла сварки автоматичного выключателя, привода давления. Опускание верхнего электрода и сжатие пересечений свариваемых арматурных стержней осуществляется с помощью привода давления.

Станок для гнутья замкнутых монтажных петель предназначен для изготовления монтажных петель треугольной формы. Для сварки перекрытия используется одноточечная сварочная машина. Станок работает в автоматическом режиме. Он состоит из гибочного механизма питателя, рамы и пульта.

Техническая характеристика станка для гнутья замкнутых монтажных петель

Максимальная производительность, шт/мин 30.

Максимальная производительность, шт/мин. 20.

Максимальное давление сжатого воздуха, Мпа. 0,4.

Диаметр заготовок, мм. 10, 12, 14, 16.

Габаритные размеры, не более, мм:

длина 1885,

ширина 1770,

высота 1783.

Масса, кг. 1100

Металлизация закладных деталей.

Для более длительного срока службы закладные детали защищают от коррозии. Способ защиты назначают в зависимости от степени агрессивного воздействия среды в которой эксплуатируют закладную деталь и от конструкции здания. Закладные детали должны иметь коррозийную защиту всех поверхностей, либо поверхностей, указанных в рабочих чертежах.

Наиболее перспективно цинкосиликатное покрытие, нанесение которого легче поддается механизации. Благодаря этому способу удалось заменить трудоемкую, выделяющую вредные газы металлизацию цинком, безопасной в работе окраской поверхности закладных деталей раствором жидкого стекла с порошком цинка. Однако процесс нанесения цинкосиликатного покрытия требует повышения культуры производства на предприятии тщательного обезжиривания поверхности закладной детали, удаления с них опалины, следов ржавчины, загрязнений, которые приводит к отслаиванию или пористости покрытий в отдельных местах.

При складировании и транспортировании закладных деталей с отогнутыми пластинами необходимо предохранять от удара дополнительных загибов пластин, что может повредить цинкосиликатное покрытие.

Перед нанесением защитного покрытия поверхность металла очищают от коррозии и опаливания в пескоструйных аппаратах.

Технологическая линия нанесения антикоррозийного цементно-битумного состава на арматурные каркасы в электрическом поле показана на рисунке.

Рисунок 6.10 - Технологическая линия для нанесения антикоррозионного покрытия на арматурные каркасы в электрическом поле: 1 - шаровая мельница; 2 - армокаркас; 3 - конвейер; 4 - дозатор; 5 - высоковольно-выпрямительное устройство; 6 - камера электроокраски; 7 - сушильная камера

7. РАСЧЕТ ОБОРУДОВАНИЯ

.1 Производство плоских сеток

Производство сеток

Пэ = К ∙ U (7.1)

где Пэ - эксплуатационная производительность; К - коэффициент, учитывающий конструкционные способности линии (К = 0,85); U - часовая производительность линии, м/ч;

Годовая производительность, т/год:

Пгод = (Пэ ∙ Фв)/lизд ∙ mизд (7.2)

где Фв - годовой фонд времени (Фв = 4048 ч); lидз - длина сетки; mизд - масса сетки.

Количество линий:

П = Пгодзад/Пгод (7.3)

Пэ = 0,85 ∙ 120 = 102 м/ч

Пгод = (102 ∙ 4048)/11950 ∙ 22,67 = 783,293 т/год

П = 1320/783,293=1,68≈ 2

Принимаем 2 линии 7975/1

Правильно-отрезной станок для резки поперечных стержней СМЖ-357. Его производительность:

т = 60 ∙ g ∙ Uп ∙ Кп (7.4)

где g - масса 1 м длины арматуры заданного диаметра; Uп - скорость подачи арматуры, м/мин; Кп - коэффициент, учитывающий особенности станка (резания без остановки Кп = 1).

Часовая эксплуатационная производительность

чэ = Qт ∙ Кч (7.5)

где Кч - коэффициент, учитывающий потери во времени (Кч = 0,7 - 0,9).

Годовая производительность:

годэ = Qчэ ∙ Фв (7.6)

где Фв - часовой фонд рабочего времени

Необходимое количество станков:

= Qзад/Qгодэ (7.7)т = 60 ∙ 0,154 ∙ 31 ∙ 1 = 286,44 кг/ччэ = 0,7 ∙ 286,44 = 200,508 кг/чгодэ = 200,508 ∙ 4048 = 811,656 т/год= 1320/811,656 =1,62

Принимаем 2 станка.

.2 Производство плоских каркасов

Для производства плоских каркасов принимаем комплекс КТР-1001 УХЛЧ.

Пэ = 0,85 ∙ 60 = 51 м/час

Пгод = (51 ∙ 4048)/11950 ∙ 361,59 = 6246,823 т/год= 1200/6246,823 = 0,19

Применяем 1 комплекс.

Для резки арматурных стержней используем аппарат СМЖ-322А

Пчас = (3,6 ∙ mа)/tц (7.8)

где mа - масса отрезаемой арматуры; tц - производительность цикла резки (tц = 20 с).

Так как для каркаса нужны стержни разных диаметров, то:

10: Пчас = (3,6 ∙ 0,617)/20 = 0,111 т/ч;25: Пчас = (3,6 ∙ 1,58)/20 = 0,2844 т/ч;30: Пчас = (3,6 ∙ 7,99)/20 = 1,4382 т/ч.

Число станков:

10: n = 0,066/0,111 = 0,59 ≈ 1;25: n = 0,0158/0,2844 = 0,055 ≈ 1;30: n = 0,2394/1,4382 = 0,16 ≈ 1.

Принимаем 3 станка.

7.3 Производство объемных каркасов

Для производства объемных каркасов применяем установку СМЖ-286А.

Годовая потребность в объемных каркасах 10833 шт. Масса каркаса 415,4 кг.

Пэфгод = 10833·415,4=4500 т/год;

Пгод = (51 ∙ 4048)/5950 ∙ 415,4 = 14413 т/год;= Пгодзад/Пгод = 4500/14413 = 0,3

Принимаем 1 станок.

Отрезной станок СМЖ-322А:

25: Пстч = (3,6 ∙ 3,83)/20 = 0,6894 т/ч;5: Пстч = (3,6 ∙ 0,15)/20 = 0,27 т/ч;5: Пстч = (3,6 ∙ 0,15)/20 = 0,27 т/ч.

Число станков:

25: n = 0,6/0,6894 = 0,87≈ 1;5: n = 0,64/0,27 = 2,4 ≈ 2;5: n = 0,64/0,27 = 2,4≈ 2.

Принимаем 5 станков.

7.4 Производство напрягаемой арматуры

Годовая производительность установки СМЖ -129В:

Пгод = Пу ∙ К ∙ Фв (7.9)

где К - коэффициент использования станка во времени (К = 0,9).

Пгод = 30 ∙ 0,9 ∙ 4048 = 109296 (стержней в год)

Число установок: n = 71625/109296 = 0,655

Принимаем 1 установку.

7.5 Производство монтажных петель

Гибочный станок СМЖ-173А

Часовая производительность:

Пчас = (3,6 ∙ mа)/(n ∙ tц) (7.10)

где mа - масса прутка; n - количество изгибов; tц - продолжительность цикла изгиба (tц = 8 с).

Пчас = (3,6 ∙ 2,21)/(2 ∙8) = 0,497 т/ч

Количество станков:

= Пчасзад/Пчас = 0,34/0,497 = 0,68

Принимаем 1 станок.

Правильно-отрезной станок СМЖ - 357.

т = 60 ∙ 31 ∙ 2,21 ∙ 1 = 4110,6 кг/ч.чэ = 4110,6 ∙ 0,7 = 2877,42 кг/чгодэ = 2877,42 ∙ 4048 = 11647,8 т/год=300 /11647,8 = 0,026

Принимаем 1 станок.

7.6 Изготовление закладных деталей

Применяем универсальные пресс - ножницы НБ-633.

Пчас = (3,6 ∙ mа)/tц = (3,6 ∙ 5,15)/18 = 1,03 т/ч= Пчасзад/Пчас = 0,48/1,03 = 0,466

Принимаем 1 станок.

Для установки сварочной рельефной сварки:

Пэ = 200 ∙ 0,85 = 170 (сварок/час)= 47,96/170 = 0,28

Принимаем 1 станок.

Правильно-отрезной станок СМЖ-357

часэ = 60 ∙ 31 ∙ 5,15 ∙ 1 = 9579 кг/ч;часэ = 9579 ∙ 0,7 = 6705,3 кг/ч;годэ = 6705,3 ∙ 4048 = 27143 т/год= 600/27143 = 0,022

Принимаем 1 станок.

8. КОМПОНОВКА ОБОРУДОВАНИЯ АРМАТУРНОГО ЦЕХА

Централизованные арматурные заводы и укрупненные арматурные цехи в зависимости от района расположения и интенсивности строительства в данном районе целесообразно создавать мощностью 40, 60 тыс.т и более арматуры рационально создавать в районах большого индустриального строительства и в больших городах. Такой централизованный арматурный завод может одновременно обслуживать до десяти заводов железобетонных изделий и несколько строительных трестов, поставляя им на строительные площадки товарную арматуру.

Производство арматурных изделий в арматурных цехах организовано в основном по агрегатно-поточной технологии с частичным использование конвейерного способа на определенных линиях по изготовлению сварных арматурных сеток. Степень механизации и автоматизации зависит от номенклатуры арматурных изделий, сложности и объема их производства, типа применяемого оборудования и технико-экономических показателей производства.

Рисунок 8.1 - План-график технологического процесса изготовления арматурного изделия: 1 - стадия заготовки; 2 - межстадийный перерыв; 3, 4 - стадии изготовления элементов и изделий; 5 - контроль и комплектация изделий

При разработке технологической схемы изготовления арматурных изделий необходимо учитывать поточность производства отдельных видов рабочих операций и не допустить, по возможности, встречных потоков, а также обеспечить последовательность выполнения отдельных рабочих операций. Пакетирование готовых изделий (петель, стержней) следует производить на специальных конвейерных поддонах. С целью лучшего использования производительных площадей и кранового оборудования готовые арматурные изделий в виде сеток и каркасов целесообразно пакетировать с помощью механических сбрасывателей. Организация производства работ на арматурных заводах должна предусматривать наиболее эффективный внутризаводской транспорт, обеспечивать своевременную доставку на промежуточный склад или к месту потребления пакетов готовых изделий.

С целью снижения загрузки мостовых кранов и коэффициента использования оборудования, отделения по заготовке, сварке и сборке арматуры должны укомплектовываться: установкой болт проволоки на бухтодержатели, правильно-отрезными станками и широкосетными сварочными машинами, а также внутрицеховыми транспортными тележками для передачи заготовок арматуры с одного поста на другой.

Цех по производству арматурных работ состоит из трех пролетов со стандартными размерами 18х144 метров, причем пролет № 1 продублирован дважды. На его площади изготавливают сетки и пространственные каркасы. На площади пролета № 3 изготавливают монтажные петли, заготовки для напрягаемой арматуры, закладные детали и плоские каркасы.

Рисунок 8.2 - Компоновка арматурного цеха: 1 - машина контактной стыковой сварки; 2 - фактура (петли); 3 - автомат по производству плоских каркасов; 4 - автоматическая точечная машинная сварка; 5 - пост перемотки бухт проволоки; 6 - машины точечной сварки; 7 - протяжные станки; 8 - шпилькорез; 9 - машина высадки головок; 10 - автоматический станок гнутья петель; 11 - тележка

Таблица 8.1 - Ведомость оборудования

№ п/п

Оборудования

Марка

Кол-во, шт

1. 2. 3. 4. 5. 6. 7. 8. 9.

Автоматизированная линия по производству плоских сеток: Вертушка двухъярусная Правильное устройство Машина для сварки арматурных сеток Сеточные ножницы Пакетировщик сеток Автоматизированный комплекс для производства плоских каркасов Установка для сборки арматурных объемных каркасов Установка для заготовки и упрочнения стержневой арматуры Комбинированные пресс - ножницы Станок для гибки стержневой арматуры Станок для резки арматурных стержней Правильно-отрезной станок Сварочная машина для рельефной сварки Станок для резки арматурных стержней Правильно-отрезной станок

7975/1 СМЖ-495А СМЖ-775 МТМ-88УХЛЧ СМЖ-771 СМЖ-61Г КТР- 1001УХЛЧ СМЖ-286А СМЖ-129В НБ-633 СМЖ-173А СМЖ-322А СМЖ-357 СМЖ-173А

2 12 2 2 2 2 1 1 1 1 1 9 4 1