Материал: Технологическая инструкция на ремонт форсунки дизеля

Внимание! Если размещение файла нарушает Ваши авторские права, то обязательно сообщите нам

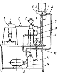
Рисунок 4. Ручной стенд с механическим приводом

- форсунка; 2 - нагнетательная трубка; 3 - манометр; 4 - вентиль; 5 - трубка; 6 - бачок с топливом; 7 - фильтр; 8- трубка, подводящая топливо к секции; 9- спускная трубка; 10 - нагнетательная трубка; 11 - аккумулятор; 12 - стрелка, показывающая положение рейки: 13 - рейка секции насоса; 14 - насос; 15 - электродвигатель.

Рисунок 5. Ручной стенд проверки на четкость работы

Из насоса топливо под давлением нагнетается по трубке 10 в аккумулятор 11, имеющий объём около 2 л. От аккумулятора по нагнетательной трубке 2 топливо поступает к форсунке 1, установленной на стенде. Давление дизельного топлива в аккумуляторе и его нарастание контролируются манометром 3. Количество топлива, подаваемого насосом 14, и скорость нарастания давления в системе регулируются рейкой 13. Поднятие давления в аккумуляторе от нуля до 265 кг/см2 осуществляется насосом 14 при полной подаче со скоростью 10 кг/см2 за 1'0-12 с. Дальнейшее нарастание давления происходит медленно, и это необходимо для того, чтобы точно определить, при каком давлении осуществляется впрыск, что позволит проверить затяжку пружины форсунки.

Заключение

При выполнении данной курсовой работы я получил обширный круг знаний по ремонту форсунок дизелей типа 10Д100, что в дальнейшем будет иметь большое значение при работе в локомотивном депо.

Топливная система играет важную роль в тепловозной тяге. От её эффективности зависит надежная работа дизеля и его мощность.

Форсунка обеспечивает непосредственную подачу топлива в цилиндр. От ее исправности зависит четкая работа дизеля. Плохой впрыск негативно влияет на мощность дизеля и расход топлива, что сказывается на его экономии. В современном мире существует оборудование, позволяющее осуществить ремонт форсунок с минимально допустимыми отклонениями. Благодаря этому обеспечивается своевременная замена и ремонт форсунок.

Список используемой литературы

Володин А.И. Локомотивные двигатели внутреннего сгорания - 2-е изд. переработано. - М.: Транспорт, 1990.

Кузьмич В.Д. Тепловозы. Основы теории и конструкции. - М.: Транспорт, 1991.

Собенин Л.А., Баколдип В.И., Зипчепко О.В., Воробьев А.А. Устройство и ремонт тепловозов. - М.: Академия, 2007. - 416 с.

Тепловоз 2ТЭ10М: Руководство по эксплуатации и обслуживанию. - М.: Транспорт, 1987.

Тепловозы 2ТЭ1 ОМ, ЗТЭ 1 ОМ: Устройство и работа/СП. Филонов, А.Е. Зиборов, В.В. Ренкунаси др. - М.: Транспорт, 1986.

Тепловоз 2ТЭ116. СП Филонов, А.И. Гибалов, Е.А. Никитин и др. 3-е изд., переработано. и доп. - М.: Транспорт,2005.

Тепловозы. Назначение и устройство: Учебник для образовательных учреждений ж.-д. транспорта, осуществляющих профессиональную подготовку / Под ред. О.Г. Куприенко. - М.: Маршрут, 2006. 280 с.

Дробинский В.А., Егунов П.М. Как Устроен и работает тепловоз - 3-е изд., переработано. И доп. - М.: Транспорт, 1980. 367 с.