Материал: Технические характеристики плоскошлифовального станка

Внимание! Если размещение файла нарушает Ваши авторские права, то обязательно сообщите нам

Технические характеристики плоскошлифовального станка

Введение

Машиностроение является одной из важнейших отраслей в народном хозяйстве. Оно создаёт условие для развития многих других видов производства и отраслей промышленности. Развитие самого машиностроения зависит от станкостроения. Новые станки различного технологического назначения, прогрессивные конструкции режущего инструмента обеспечивают автоматический процесс обработки, сокращение времени для наладки оборудования, возможность многостаночного обслуживания, повышение качества продукции, производительность труда и культуры производства. В настоящее время на ряд ус задачей повышения эффективности существующего оборудования поставлена задача увеличения производства средств автоматизации, оснащённых микропроцессорами и малыми ЭВМ, а так же гибких производственных систем. Станки с ЧПУ постепенно заменяют оборудование с ручным управлением.

В устройстве металлорежущих станков имеется много общего. Это объясняется самой сущностью процесса резания.

Основу устройства металлорежущих станков составляет совокупность механизмов и других технических устройств, обеспечивающих главным образом два движения - движение резания (резцом, фрезой, сверлом и т. д.) и движение подачи заготовки или режущего инструмента.

1. Общие сведения о металлорежущих станках

.1 Анализ конструкции современных металлорежущих станков

Шлифовальный станок, в металлообработке - металлорежущий станок для обработки заготовок абразивным инструментом.

В соответствии с принятой для металлорежущих станков классификацией шлифовальные станки подразделяют на кругло- и внутришлифовальные (в т. ч. бесцентрово-шлифовальные, планетарные), специализированные, плоскошлифовальные и др., работающие абразивным инструментом. Специфика используемого инструмента предъявляет к конструкции и конструкционным материалам некоторые дополнительные требования: виброустойчивость, износостойкость, интенсивный отвод абразивной пыли. Главное движение шлифовального станка - вращение абразивного инструмента, причём его скорость, как правило, значительно выше скорости подачи и других движений.

Наибольшее распространение получили круглошлифовальные станки (например, станок марки 3М196). На этих станках заготовку устанавливают на центрах или в патроне и приводят во вращение навстречу шлифовальному кругу; вместе со столом станка она может совершать возвратно-поступательное движение. Шлифовальный круг в конце каждого (или двойного) хода стола получает поперечное перемещение на глубину резания. На кругло шлифовальных станках обычно шлифуют наружные цилиндрические и конические поверхности и торцы заготовок. На врезных кругло шлифовальных станках шлифование наружных цилиндрических, конических и фасонных поверхностей производится широким кругом (шире размера заготовки); продольная подача здесь отсутствует.

Внутришлифовальные станки предназначены для шлифования внутренних поверхностей вращения. Примером такого станка может служить станок марки 3К228А.

Наиболее распространены внутришлифовальные станки, у которых обрабатываемая заготовка вращается вокруг оси шлифуемого отверстия, а шлифовальный круг - вокруг своей оси. Продольную и поперечную подачи осуществляют кругом. При обработке отверстий крупных заготовок, которые привести во вращение трудно, применяют планетарные внутришлифовальные станки. В этих станках шлифовальный круг вращается вокруг своей оси и вокруг оси шлифуемого отверстия одновременно.

В работе рассмотрен плоскошлифовальный станок марки 3Г71, который предназначен для обработки плоскостей заготовок периферией или торцом шлифовального круга. На таких станках, работающих периферией круга, стол с закрепленной на нём заготовкой совершает возвратно-поступательное или вращательное движение, а вращающийся шлифовальный круг получает поперечную подачу на каждый ход или оборот стола, а также перемещение на глубину резания. В плоскошлифовальных станках, работающих торцом шлифовального круга, в отличие от станков, работающих периферией круга, поперечная подача отсутствует, т.к. диаметр круга больше поперечного размера обрабатываемой заготовки (врезное шлифование).

Специализированные шлифовальные станки предназначены, как правило, для обработки деталей заданной формы, например для шлифования шеек коленчатых валов, деталей штампов, шаблонов, шлицевых деталей и т.д. Обработку заготовок на этих станках осуществляют в основном методом копирования, реже методом огибания.

В общую группу шлифовальных станков входят также станки: притирочные, полировальные, доводочные, заточные, шлицешлифовальные, хонинговальные и др., работающие абразивным инструментом.

Знание функционально общих основных узлов различных типов металлорежущих станков позволяет лучше и быстрее ознакомиться с устройством, управлением и работой любого конкретного станка.

1.2 Назначение и принцип работы станка плоскошлифовального станка модели 3Г71

плоскошлифовальный металлорежущий станок

Плоскошлифовальный станок модели 3Г71 в основном предназначен для шлифования поверхностей периферией круга. На станке торцом круга возможна обработка поверхностей, расположенных под углом 900 к зеркалу стола. С применением различных приспособлений возможно профильное шлифование различных деталей. Точность профиля при этом зависит от метода заправки профиля круга и от точности применяемого приспособления для крепления детали.

На плоскошлифовальном станке при работе периферией круга по методу врезания можно выполнять черновое и чистовое шлифование изделий, ширина которых меньше ширины круга (рис. 1.1, а), и чистовое шлифование изделий с профильными поверхностями небольшой ширины и глубины профиля (рис. 1.1, б). При этом необходимы три движения формообразования. Вращательное главное движение сообщается шлифовальному кругу и определяет скорость резания. Шлифовальной бабке сообщается вертикальная подача на глубину резания. Продольное перемещение на величину подачи сообщается столу с заготовкой. При работе периферией круга с поперечной подачей можно выполнять черновое и получистовое шлифование изделий с достаточной жесткостью, большой глубиной резания и малой поперечной подачей (рис. 1.1, в) и чистовое шлифование термообработанных изделий с малой глубиной резания и большой поперечной подачей (рис. 1.1, г). При этом методе обработки необходимы четыре движения, так как добавляется поперечная подача. Четыре движения необходимы также и при шлифовании торцом круга поверхностей, расположенных под углом 900 к зеркалу стола.

На станке может также выполняться обработка фасонной поверхности изделий по участкам непрофилированным (прямолинейные участки) и профилированным (криволинейные участки) кругом (рис. 1.1, д) с использованием синусных тисков, магнитных поворотных плит, делительных приспособлений и т.д.

Рис. 1.1 - Схемы обработки на плоскошлифовальном станке

1.3 Технические характеристики плоскошлифовального станка модели 3Г71

Расстояние от оси шпинделя до стола, мм:

наименьшее                                                       80

наибольшее                                                       450

Наименьшее продольное механическое перемещение стола, мм 70

Наибольшее перемещение стола, мм:

ручное: продольное 710

поперечное 235

механическое: продольное 700

поперечное 235

Наибольшие размеры шлифуемых изделий, мм:

длина                                                        630

ширина                                                     200

высота                                                      320

Скорость продольного перемещения стола, м/мин:

наименьшая                                                       5

наибольшая                                                       20

Поперечная автоматическая подача стола на каждый ход, мм:

наименьшая                                                       0,2

наибольшая                                                       4

Вертикальная автоматическая подача

(ступенчатая через 0,005), мм:

наименьшая                                                       0,005

наибольшая                                                       0,05

Размер шлифовального круга, мм         250х25х75

Окружная скорость шлифовального круга, м/с       35

Число оборотов шлифовального круга, об/мин 2680

Число оборотов электродвигателя, об/мин 2800

.4 Основные узлы плоскошлифовального станка

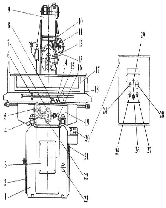
Основными базовыми деталями и узлами станка являются (рис. 1.2): станина 1, крестовый суппорт 19, стол 17, колонна 9, шлифовальная бабка 11.

Рис. 1.2 - Плоскошлифовальный станок

Станина 1 является основной базовой деталью, представляет собой жесткую коробчатую отливку и служит для размещения всех узлов станка.

Крестовый суппорт 19 представляет собой чугунную отливку с нижними V-образными и верхними одной V-образной и другой плоской направляющими. Он перемещается в поперечном направлении по двум V-образным направляющим качения.

Стол 17 является чугунной отливкой и по V-образной и плоской направляющим перемещается по крестовому суппорту в продольном направлении. На верхней его части имеются три Т-образных паза для крепления приспособлений. На передней стенке стола имеется Т-образный паз, в котором закреплены два упора 6, устанавливаемые в положение, зависящее от длины заготовки.

Колонна 9 представляет собой жесткую отливку и устанавливается на заднюю площадку станины. По ее направляющим перемещается шлифовальная бабка 11.

Шлифовальная бабка имеет шпиндель, привод которого осуществляется от электродвигателя через плоскоременную передачу. Шпиндель 1 (рис. 1.3) вращается в двух бронзовых регулируемых подшипниках скольжения 2, со смазкой самозатягиванием.

Рис. 1.3 - Шпиндельный узел плоскошлифовального станка

Регулировка радиальных зазоров производится путем осевого перемещения вкладышей подшипника 2 с наружной конической поверхностью (уклон 1:20) во втулках 3. Перемещение производится при помощи червяков 19 и косозубых шестерен 4, которые соединены с подшипниками 2 прямоугольной резьбой и упираются торцами во втулки 3. Зазор между косозубыми шестернями 4 и втулками 3 выбирается гайкой 6, которая стопорится через проставки 18 винтами 17. От проворота подшипники 2 стопорятся винтами. При перемещении подшипника 2 происходит уменьшение радиальных зазоров, т.е. приближение контактных полосок подшипников к поверхности шейки шпинделя. Одновременно промежуточные части вкладыша между опорными полосками деформируются и образуют камеры с пониженным давлением, в которые интенсивно засасывается смазка через трубки 7 из ванны 5. Контроль уровня масла производится по указателю, который расположен с левой стороны головки.

Осевые усилия, возникающие на шпинделе, воспринимаются упорными кольцами 16 и 15. При регулировке осевого зазора кольцо 15 перемещается в осевом направлении винтами 14. После регулировки зазора винты стопорятся гайками 13. Шлифовальный круг устанавливается между двумя фланцами 8 и 10 и затягивается гайкой 11. После балансировки грузиками 9 круг устанавливается на коническую поверхность шпинделя 1 и затягивается винтом 12, который при его вывинчивании стягивает фланцы с конуса шпинделя.

Внутри станины установлен гидроагрегат, а с правой стороны в нише монтируется электроаппаратура станка.

.5 Органы управления станком

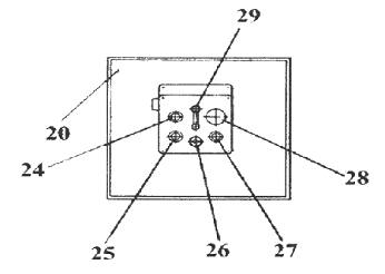
Основными органами управления станком являются (рис. 1.2 и рис. 1.4): лимб 2 ручной поперечной микрометрической подачи стола; рукоятка 3 ручной поперечной подачи стола; лимб 4 установки автоматической поперечной подачи стола; рукоятка 5 ручного продольного перемещения стола; рукоятка 10 установки величины автоматической вертикальной подачи; рукоятка 11 ручной вертикальной подачи; рукоятка крана 12 регулировки подачи охлаждающей жидкости; упоры 13 продольного реверса стола; рукоятки 14 ручного продольного реверса стола; рукоятка 15 установки скорости движения стола; рукоятки "Пуск" стола, "Стоп" стола и "Разгрузка" 16 гидропривода; кнопка включения и реверсирования поперечной подачи 17; пульт управления 18, вводный пакетный выключатель (сзади станка) 19; барабанный переключатель 20 ускоренного перемещения шлифовальной головки; кнопка 21 "Все стоп"; кнопка 22 "Пуск шпинделя"; кнопка 23 сигнализации "Станок включен"; кнопка 24 "Пуск гидропривода"; кнопка 25 "Стоп гидропривода".

Рис. 1.4 - Пульт управления станком

1.6 Виды движений на станке

Движение резания - вращение шпинделя шлифовальной бабки с абразивным кругом. Продольная подача - прямолинейное возвратно-поступательное движение стола с деталью. Поперечная и вертикальная подачи - периодические поступательные перемещения, сообщаемые шлифовальной бабке с абразивным кругом. Вспомогательные движения - установочные и быстрые перемещения шлифовальной бабки в поперечном и вертикальном направлениях.

На станине установлена колонна, на которой в горизонтальном и поперечном направлениях может перемещаться каретка шлифовальной бабки.

Заготовка закрепляется непосредственно на столе, либо на магнитной плите, установленной на столе.

.7 Конструктивные особенности станка

Особенностью кинематики плоскошлифовального станка (рис. 3.1) является отсутствие коробки скоростей и подач, наличие тяговых механизмов в виде передач винт-гайка скольжения для обеспечения вертикального перемещения шлифовальной бабки и поперечного перемещения крестового суппорта и реечной передачи для ручного продольного перемещения стола. На станке имеются индивидуальные электродвигатели для сообщения главного движения резания шлифовальному кругу и ускоренного автоматического перемещения шлифовальной бабки.

2. Расчет базовых элементов станка

.1 Обоснование вида направляющих станка и выбор материала

Наибольшее распространение в станках получили направляющие скольжения и качения. Направляющие скольжения <#"866598.files/image005.gif">

Рис. 2.1 - Станина

Колонна представляет собой жесткую отливку бочкообразной формы. На верхней части колонны установлен редуктор, который предназначен для ускоренного перемещения шлифовальной головки. Привод редуктора осуществляется от электродвигателя через предохранительную муфту. Вращение получает червяк, который находится в зацеплении с червячной шестерней. При вращении винта происходит подъем или опускание шлифовальной головки, так как червячная шестерня находится в зацеплении с червяком механизма вертикальной подачи и сидит на шпоне и гайке, таким образом удерживая последнюю от поворота.

3. Кинематический анализ станка

.1 Описание кинематической схемы станка

Особенностью кинематики плоскошлифовального станка (рис. 3.1) является отсутствие коробки скоростей и подач, наличие тяговых механизмов в виде передач винт-гайка скольжения для обеспечения вертикального перемещения шлифовальной бабки и поперечного перемещения крестового суппорта и реечной передачи для ручного продольного перемещения стола.

На станке имеются индивидуальные электродвигатели для сообщения главного движения резания шлифовальному кругу и ускоренного автоматического перемещения шлифовальной бабки. Автоматическая периодическая подача шлифовальной бабки и поперечная подача крестовому суппорту сообщаются от лопастных поворотных гидроцилиндров. Автоматическая продольная подача стола осуществляется гидроцилиндром. При включении давления в гидросистеме реечная шестерня ручной подачи автоматически выводится из зацепления с рейкой.