Материал: t5IRtEfj9y

Внимание! Если размещение файла нарушает Ваши авторские права, то обязательно сообщите нам

МИНОБРНАУКИ РОССИИ

________________________________________

Санкт-Петербургский государственный электротехнический университет «ЛЭТИ»

___________________________________________

ЭЛЕКТРОДИНАМИКА

Методические указания к лабораторным работам

Санкт-Петербург Издательство СПбГЭТУ «ЛЭТИ»

2014

УДК 537.8:621.385.6(07)

Электродинамика: метод. указания к лаб. работам / сост.: С. П. Зубко, Н. Ю. Медведева, А. Г. Гагарин, А. Г. Алтынников, А. В. Дроздовский. СПб.: Изд-во СПбГЭТУ «ЛЭТИ», 2014. 32 с.

Содержат описания лабораторных работ, предназначенных для ознакомления студентов с применением электродинамики как основы техники СВЧ.

Предназначены для студентов дневного отделения, обучающихся по направлению 550700 и специальностям 071400, 200100.

Утверждено редакционно-издательским советом университета

в качестве методических указаний

© СПбГЭТУ «ЛЭТИ», 2014

2

Лабораторная работа 1. ИССЛЕДОВАНИЕ ДИСПЕРСИИ ВОЛН В ВОЛНОВОДЕ И В КОАКСИАЛЬНОЙ ЛИНИИ ПЕРЕДАЧИ

Цель работы. Изучение свойств и конструкции коаксиальной линии и прямоугольного волновода, а также методики измерения длины волны в линии передачи и параметров, характеризующих режим её работы.

1.1. Основные положения

СВЧ-Линией передачи называется устройство, ограничивающее область распространения электромагнитных волн СВЧ-диапазона и позволяющее передавать поток их электромагнитной энергии в заданном направлении. В зависимости от конструкции и материалов линии передачи разделяют на отдельные типы. В данной работе исследуются свойства прямоугольного волновода и коаксиальной линии, которые являются наиболее распространенными линиями в СВЧ-технике. Эти линии передачи являются регулярными (их свойства не меняются в направлении распространения СВЧ-сигнала) и закрытыми (их поперечное сечение имеет замкнутый проводящий контур, охватывающий область распространения электромагнитной волны).

Электромагнитные волны, распространяющиеся внутри линии передачи, делятся:

на электрические волны (Е-, ТМ-волны) – это электромагнитные волны, вектор напряженности электрического поля которых имеет поперечную и продольную составляющие, а вектор напряженности магнитного поля лежит

вплоскости, перпендикулярной направлению распространения;

на магнитные волны (H-, ТЕ-волны) – это электромагнитные волны, вектор напряженности магнитного поля которых имеет поперечную и продольную составляющие, а вектор напряженности электрического поля лежит

вплоскости, перпендикулярной направлению распространения;

на поперечные электромагнитные волны (ТЕМ-волны) – это электромагнитные волны, векторы напряженности электрического и магнитного полей которых лежат в плоскости, перпендикулярной направлению распространения.

В общем случае в линиях передачи, исследуемых в данной работе, может существовать бесконечное множество волн типа Emn и Hmn (волны дисперси-

онного типа), отличающихся индексами m и n, которые определяют количе-

3

ство полуволн, укладывающихся внутри поперечного сечения линии передачи. Каждая из этих волн существует независимо друг от друга и имеет свою критическую длину волны λкр. Критическая длина волны является основным параметром, определяющим возможность существования определенного типа волн в линии передачи на заданной частоте. Условием распространения элек-

тромагнитной волны в волноводе с рабочей частотой λв является неравенство

λв < λкр. Диапазон длин волн, при которых длина волны больше критиче-

ской, называют областью отсечки, так как распространения волны не проис-

ходит. Волну с наибольшим значением λкр называют волной основного типа.

Следует отметить, что длина волны (λв) в линии передачи может отли-

чаться от соответствующих величин для свободного пространства (λ0). Её ве-

личину можно определить с помощью соотношения

λв =

 

 

λ0

 

,

 

 

 

 

 

 

εrμr (λ0 / λкр )2

 

 

 

 

 

 

где λ0 – длина волны в свободном пространстве; εr, µr

относительные ди-

электрическая и магнитная проницаемости среды; λкр

критическая длина

волны в линии передачи.

 

 

 

 

Коаксиальная линия передачи

состоит из круглого цилиндрического

стержня, соосного с круглой цилиндрической оболочкой (рис. 1.1, а). Электромагнитные волны распространяются в пространстве между наружным и внутренним проводниками, заполненном диэлектриком. Так как коаксиальная линия является двухсвязной линией передачи, в ней наряду с Е- и H-вол- нами возможно распространение ТЕМ-волны, которая является волной основного типа для коаксиальной линии.

ϕ=0

ϕ

E

 

 

H

H

 

H

 

 

 

vф= с

 

 

 

 

d

λв/2

 

z

E

 

 

D

 

 

 

а

б

 

 

Рис. 1.1

 

 

 

4

 

 

ТЕМ-Волна является волной бездисперсионного типа, для которой λкр = = ∞ и λв = λ0. Структура поля ТЕМ-волны в коаксиальной линии приведена на рис. 1.1, б.

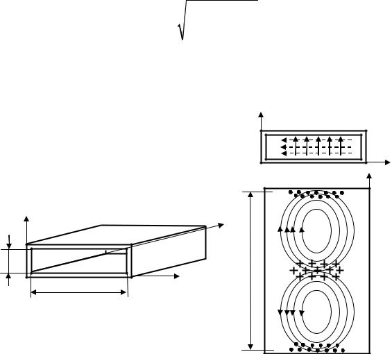
Прямоугольный волновод представляет собой полую металлическую трубу прямоугольного сечения. В нем могут распространяться только волны (моды) дисперсионного типа Hтn и Eтn (рис. 1.2, а). В зависимости от по-

рядка моды критическая длина волны определяется с помощью соотношения

λкр=

 

 

2

 

 

 

,

 

 

 

 

 

 

 

 

m 2

 

 

 

 

n 2

 

 

 

 

 

+

 

 

 

 

 

 

 

a

b

где a, b – поперечные размеры волновода; m, n = 0, 1, 2… .

Наименьшее значение λкр имеет волна H10, структура поля которой при-

ведена на рис. 1.2, б.

y

x

z

y

z

b

λв

 

 

x

 

а

Силовые линии вектора E Силовые линии вектора H

а

б

Рис. 1.2

Методика измерения длины волны. Для проведения измерений необ-

ходимо сформировать в линии передачи стоячую волну. В режиме стоячей

5