Материал: Судовые паровые, водогрейные и термомасляные котлы (термобойлеры)

Внимание! Если размещение файла нарушает Ваши авторские права, то обязательно сообщите нам

Судовые паровые, водогрейные и термомасляные котлы (термобойлеры)













Реферат

Судовые паровые, водогрейные и термомасляные котлы (термобойлеры)

Содержание

1. Назначение и типы котлов

2. Устройство и принцип действия простейшего парового вспомогательного водотрубного котла

3. Подготовка и пуск котла в работу

4. Обслуживание котла во время работы

5. Вывод парового котла из работы

6. Верхнее и нижнее продувание парового котла

7. Арматура парового котла

8. Предохранительные клапаны паровых котлов

9. Водоуказательные приборы, их ремонт

10. Очистка парового котла

11. Основные неисправности паровых котлов

12. Техника безопасности при обслуживании паровых котлов

13. Термомасляные котлы (термобойлеры)

Литература

1. Назначение и типы котлов


Судовой котел - это устройство, предназначенное для производства теплоносителя (пара, воды или специального масла) для определенных эксплуатационных целей.

Большинство судов мирового флота оборудовано паровыми котлами, которые более подробно рассмотрены ниже.

Судовые паровые котлы по назначению делятся на главные и вспомогательные. Главные котлы вырабатывают пар на главный двигатель (ГД) - паровую машину или паровую турбину. Вспомогательные котлы обеспечивают паром некоторые вспомогательные механизмы (преимущественно на танкерах), а также отопление, подогрев топлива, паротушение, разогрев груза на танкерах, хозяйственно-бытовые нужды.

По типу используемой энергии для получения пара различают:

·        обычные котлы - используется органическое топливо (уголь, газ или жидкое топливо);

·        электрокотлы - используется электрическая энергия;

·        атомные котлы - работают на атомной энергии;

·        утилизационные - используются горячие отходящие газы от ДВС или газовых турбин.

По устройству паровые котлы делятся на:

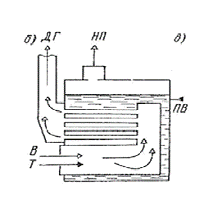
·        газотрубные - горячие дымовые газы проходят внутри так называемых дымогарных труб, а вода омывает их снаружи; (Рис.1, б)

·        водотрубные - внутри водогрейных труб циркулирует нагретая вода и пар, а снаружи трубы омываются дымовыми газами; (Рис.1, а)

·        комбинированные (газоводотрубные) котлы имеют элементы газотрубных и водотрубных котлов. (Рис.1, в)

По виду тяги - котлы с искусственной тягой (с помощью котельного вентилятора) и котлы с естественной тягой (с помощью дымовой трубы).



a)                                  б)                                  в)

Рис. 1. Компоновочные схемы котлов:

а - водотрубного; б - газотрубного; в - комбинированного (газоводотрубного)

Водотрубные котлы как наиболее широко применяемые по компоновки делятся на одноконтурные, двухконтурные, симметричные, асимметричные, с экранированной топкой и др. (рис.2)

По способу циркуляции пароводяной смеси различают котлы с естественной и искусственной (принудительной) циркуляцией. В котлах с естественной циркуляцией движение пароводяной смеси происходит за счет разной плотности холодной, горячей воды и пара. В котлах с искусственной (принудительной) циркуляцией движение осуществляется специальным циркуляционным насосом.

По виду тяги в топке - котлы с искусственной тягой (с помощью котельного вентилятора) и котлы с естественной тягой (с помощью дымовой трубы).

термобойлер паровой котел водогрейный

Рис. 2 Схемы основных конструктивных разновидностей водотрубных котлов с естественной циркуляцией:

а) секционный горизонтальный; б) трехколлекторный двухпроточный; в) трехколлекторный однопроточный; г) двухколлекторный однопроточный с естественной циркуляцией; д) шахтного типа

По давлению вырабатываемого пара котлы бывают:

·        низкого давления - до 20 кг/см2;

·        среднего давления 20-60 кг/см2;

·        высокого давления - свыше 60 кг/см2.

Обычно на теплоходах устанавливают два вспомогательных котла: ходовой утилизационный и стояночный на жидком топливе.

На судах небольшого водоизмещения применяют водогрейные котлы, вырабатывающие горячую воду.

2. Устройство и принцип действия простейшего парового вспомогательного водотрубного котла


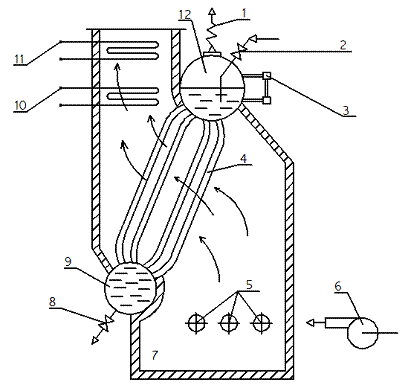
Рис. 3. Устройство и принцип действия парового вспомогательного водотрубного котла на жидком топливе.

1-предохранительный клапан; 2-питательный клапан; 3 - водоуказательное стекло; 4 - водогрейные трубки; 5-форсунки; 6 - топочный вентилятор; 7-топка; 8 - клапан нижнего продувания; 9 - водяной коллектор (барабан); 10-экономайзер; 11-пароперегреватель; 12-пароводянной коллектор (барабан)

Простейший водотрубный котел изображен на Рис. 3. Он состоит из водяного 9 и пароводяного 12 цилиндрических коллекторов (барабанов), соединенных водогрейными трубками 4. Трубки заполнены водой и обогреваются горячими газами, которые образуются при сгорании топлива. Пространство котла, заполненное водой, называется водяным, а то, в котором находится пар - паровым. Поверхность, разделяющая водяное и паровое пространство, называется зеркалом испарения. Топливо сгорает в топке 6, снабженной мазутными форсунками 5. Воздух. необходимый для сгорания топлива подается в топку 7 вентилятором 6. Для непрерывной и безопасной работы котел снабжен комплектом приборов и устройств, называемых арматурой. Паровой котел должен иметь манометр, указывающий давление пара. Для контроля за уровнем воды служит водоуказательное стекло 3. Правила Регистра Украины требуют установки на котле не менее двух манометров и двух водоуказательных приборов. Через питательный клапан 2, установленный в верхней части котла, подается свежая питательная вода. Если давление пара в котле превышает допустимое, то пар стравливается в атмосферу через предохранительный клапан 1, которых по Правилам Регистра должно быть также не менее двух. Для удаления из котла тяжелых примесей (шлама) установлен клапан нижнего продувания 8.

Чтобы улучшить использование теплоты продуктов сгорания топлива, паровой котел может иметь дополнительные поверхности нагрева:

пароперегреватель 11 служит для получения перегретого пара;

экономайзер 10 - служит для предварительного подогрева питательной воды, поступающей в котел.

3. Подготовка и пуск котла в работу


Пуск котла является одной из ответственных операций. Перед подготовкой котла к пуску в соответствии с Правилами технической эксплуатации и инструкциями завода-строителя производят детальный осмотр котла, проверку работоспособности всех его элементов и узлов. Осматривают также все приборы, средства автоматизации, защиты и управления. В котельном отделении необходимо убрать посторонние предметы, проверить исправность противопожарного

оборудования, приспособлений и инструментов, необходимых для обслуживания котла. Убедиться, что воздушный кран на пароводяном коллекторе открыт. Провентилировать топку и газоходы котла в течение 3-10 минут для исключения возможности взрыва смеси горючих газов и воздуха.

Растопку котла производят следующим образом. Запускают растопочный топливный насос на дизельном топливе. Затем включают электровентилятор, вентилируют топку, зажигают электровоспламенителем растопочную форсунку, работающую на дизельном топливе. На котлах с автоматическим управлением розжиг котла производится в соответствии с установленной программой.

Время подъема пара определяется конструктивными характеристиками котла согласно инструкции завода-строителя. С начала растопки контролируют уровень воды в пароводяном коллекторе, периодически продувая водоуказательные приборы (ВУП).

Продувку ВУП производят до тех пор, пока давление в пароводяном коллекторе достигнет 0,5-1,0 кг/см2. После этого продувка ВУП необходима лишь для прогрева стекол по мере повышения давления и перед включением котла в паропровод.

Когда из воздушных клапанов появится непрерывная струя пара, их закрывают. Затем при давлении пара около 2 кг/см2 продувают манометры и следят за подъёмом давления. Для продувки водоуказательного прибора необходимо:

открыть нижний канал продувания водомерной колонки;

закрыть паровой клапан водомерной колонки открыть паровой клапан и затем закрыть водяной клапан;

открыть водяной клапан и закрыть нижний клапан продувания, после чего уровень воды в водоуказательном приборе должен установиться в нормальное положение (несколько выше, чем до продувания).

По достижении половины рабочего давления пара в котле проверить уровень воды, удостовериться в правильном действии водоуказательных приборов, манометров и предохранительных клапанов. После этого котел можно соединить с главным паропроводом.

Повышение давления пара в котле до рабочего должно происходить по возможности медленно для обеспечения равномерного прогревания кирпичной кладки котла.

В течение всего времени подъема пара следует проводить осмотр котла с целью обнаружения утечек воды и пара. Обжатие крышек лазов, горловин и фланцев необходимо осуществлять только специальным инструментом без ударов (при давлении пара не более 5 кг/см2).

При достижении давления пара 6-8 кг/см2, достаточного для обеспечения бытовых нужд судна, котел можно подключить к магистрали. Перед включением котла в магистраль надо, постепенно приоткрывая клапан, прогреть паропровод и продуть его в течение не менее 15 мин.

С момента подачи пара на бытовые нужды можно приступить к переводу котла на основное топливо - мазут. Для этого нужно подать пар на расходные цистерны, прогреть топливо до температуры 60оС, спустить отстой, проверить работу Б3К на приёмных трубках расходных цистерн. Затем включить форсуночный насос, подать пар на топливо-подогреватель и с помощью системы рециркуляции прогреть мазут, для чего включить работающую форсунку, остановить растопочный насос дизельного топлива и закрыть разобщительный трехходовой клапан. Затем нужно провести повторный розжиг котла на мазуте: провентилировать топку в течение не менее 3 минут; установить давление топлива перед форсункой 4 кг/см2 и воздуха 0,5 кг/ см2; зажечь форсунку, отрегулировать подачу топлива и воздуха, обеспечив режим полного горения топлива. До включения в действие регуляторов давления топлива и воздуха, регулирование их расхода осуществляется вручную.

После включения котла в работу необходимо ввести в действие системы автоматического управления и защиты в соответствии с инструкцией завода-изготовителя по эксплуатации данного котла.

Перед увеличением нагрузки котла необходимо сменить на форсунках растопочные распылители на основные. Подготовку второго котла к действию проводят аналогично первому. Второй котел сразу же заполняют деаэрированной водой, а для розжига применяют то же топливо, на котором работает первый котел.

В случае включения второго котла на параллельную работу с действующим давление пара в них необходимо выровнять или создать в подключаемом котле на 0,5-1,0 кг/см2 выше. Только после этого можно открывать разобщительные клапаны.

4. Обслуживание котла во время работы


Во время действия котла для его обслуживания должны быть созданы условия его безопасной и экономичной работы. С этой целью необходимо: поддерживать заданные температуру и уровень воды по ВУП, температуру и давление пара, температуру уходящих газов; обеспечивать бездымное горение при малых коэффициентах избытка воздуха, требуемое качество котловой и питательной воды, нормальную работу деаэрационной установки и водонагревателей; содержать в исправном состоянии форсунки, арматуру, изоляцию котла и паропроводов; своевременно очищать поверхности нагрева с помощью сажеобдувочных устройств, используя результаты замера температур уходящих газов и перегретого пара. Сажеобдувку поверхности нагрева утилизационных котлов производят по результатам перепада давления уходящих газов до и после утиль котла (нормальный перепад 75 мм. водяного столба; при достижении перепада 125 мм. в ст. и выше требуется сажеобдувка).

За действующим котлом и обслуживающими его механизмами ведётся наблюдение по показаниям контрольно-измерительных приборов, сигналам аварийно-предупредительной сигнализации и путём осмотров котельной установки. Во время работы котла необходимо контролировать: уровень воды в котле, давление пара, температуру пара, давление и температуру питательной воды на входе в котел, давление и температуру топлива, поступающего в форсунку, расход топлива и его уровень в расходных цистернах, давление и температуру воздуха перед топкой, температуру уходящих газов, химический состав котловой и питательной воды, расход воды по вахтам и суточный.

В котле во время работы происходят сложные физико-химические процессы, которые могут вызвать отклонения основных параметров рабочих тел от заданных значений. Так, загрязнение наружной поверхности нагрева влияет на температуру перегретого пара. Если отложения сажи находятся на трубных пучках перед пароперегревателем, то температура перегретого пара будет повышаться, а при загрязнении поверхности пароперегревателя будет понижаться.

О загрязнении поверхностей нагрева можно судить и по увеличению температуры уходящих газов.

Основное средство борьбы с загрязнением - своевременное применение сажеобдувочных устройств. При нормальных условиях эксплуатации котла сажеобдувку производят один раз в сутки.

Снижению температуры перегретого пара способствует и повышенная влажность пара, поступающего в пароперегреватель. Увеличение влажности пара может быть связано с ростом солесодержания котловой воды, её вспениванием в пароводяном коллекторе и повышением уноса влаги в паросборную трубу. О воздействии этого фактора на температуру перегретого пара можно судить по резкому колебанию уровня в ВУП.

Увеличение коэффициента избытка воздуха приводит к снижению КПД котла. Изменение коэффициента избытка воздуха может быть связано с ухудшением процесса горения, нарушением в системе автоматического регулирования или подсоса воздуха через неплотности внутреннего кожуха.

Наибольшее воздействие на работу котла оказывает изменение расхода топлива и качество его сжигания, а для утилизационных котлов - смена режима работы главного двигателя, что требует соответствующего регулирования элементов и устройств котла, обеспечивающих необходимые количества рабочих сред и их параметры.

5. Вывод парового котла из работы


Котёл выводят из работы при отключении потребителей пара. Возможны случаи экстренного вывода котла из действия при возникновении неисправностей, угрожающих жизни людей и безопасности работы котла.

При полном выводе котла из действия необходимо: до прекращения горения осуществить сажеобдувку всех поверхностей нагрева; перевести котёл на ручное управление процессами горения и питания; провести верхнее и нижнее продувания и подпитать котёл до среднего уровня. Затем постепенно выключают форсунки и закрывают регистры воздухонаправляющих устройств; выключают вентилятор после того, как исчезнет опасность скопления взрывоопасной смеси; отключают котёл от главной магистрали, закрыв соответствующие стопорные клапаны, открывают клапаны продувания паропроводов. Дополнительно подают питательную воду в котёл до уровня, немного превышающего нормальный, и останавливают питательный насос.

В зависимости от цели вывода котла из действия воду из котла либо удаляют, либо, наоборот, его полностью заполняют деаэрированной водой ("мокрое хранение"). При кратковременном бездействии (24 ч - главный котёл, до 3-х суток - вспомогательный или утилизационный) допускается хранить котёл в том состоянии, в котором он находился до остановки.