Материал: Строительные машины

Внимание! Если размещение файла нарушает Ваши авторские права, то обязательно сообщите нам

Строительные машины

1. ОТВЕТЫ НА КОНТРОЛЬНЫЕ ВОПРОСЫ

1.      Чем отличаются методики расчетов и расчетные схемы грузовой и собственной устойчивости передвижных кранов? Поясните, почему в них принимают существенно различающееся по величине давление ветра?

Устойчивость крана должна быть обеспечена для всех его положений при любых возможных комбинациях нагрузок. К этим нагрузкам для передвижного поворотного крана относятся:

вес поднимаемого груза;

инерционные силы при пуске или торможении меха­низмов крана;

центробежные силы, возникающие при вращении поворотной части крана;

сила давления ветра на груз и элементы крана.

Различают грузовую устойчивость, то есть способность крана противодействовать опрокидывающим моментам, создаваемыми весом груза, силами инерции, ветровой нагрузкой рабочего состояния, и собственную устойчивость - способность крана противодействовать опрокидывающим моментам при нахождении крана в рабочем (в том числе без груза) и нерабочем состояниях.

Условия проверки грузовой устойчивости: кран стоит на наклонной местности, подвержен действию ветра (по нормам для рабочего состояния) и поворачивается, одновременно тормозится спускаемый груз; стрела установлена поперек пути (при установке стрелы вдоль пути может одновременно происходить и торможение движущегося крана); на кран действуют вес груза, силы инерции, возникающие при торможении спускаемого груза и движущегося крана, силы инерции от вращения крана, ветровая нагрузка. Расчет устойчивости производится для всех вылетов.

Условия проверки собственной устойчивости: кран стоит на наклонной местности, вылет стрелы минимальный; кран подвержен только действию ветра (по нормам для нерабочего состояния). Расчет производится только для минимального вылета. Величина запаса устойчивости характеризуется коэффициентом устойчивости и устанавливается нормативными документами.

Рисунок 1- Схемы для расчета грузовой (а) и собственной (б) устойчивости крана.

При расчете грузовой устойчивости исходят из того, что поднимаемый груз Q равен грузоподъемности крана и имеет максимально возможную наветренную площадь. Ветровые нагрузки рабочего состояния действуют со стороны противовеса, кран стоит на уклоне в сторону груза, а динамические нагрузки от ветра, ускорений при подъеме и передвижении крана создают момент в сторону груза. Удерживающий момент создается только от веса крана с балластом и противовесом.

При проверке собственной устойчивости крана в рабочем состоянии предполагают, что кран стоит на уклоне а в сторону опрокидывания без груза с максимально поднятой стрелой. На кран действуют ветровые, нагрузки рабочего состояния в сторону противовеса. При проверке собственной устойчивости в нерабочем состоянии считают, что ветровые нагрузки действуют в сторону противовеса. Если у кранов в нерабочем состоянии допускается свободное вращение поворотной части, т.е. при развороте крана под действием ветра и, как следствие, с приложением ветровой нагрузки в сторону стрелы.

2.      Опишите конструктивные особенности и принцип работы штанговых и трубчатых дизельных молотов. Укажите их преимущества и недостатки. Представьте принципиальные схемы

Дизельные молоты представляют собой прямодействующие двигатели внутреннего сгорания, работающие по принципу двухтактного дизеля. Они получили преимущественное распространение в строительстве благодаря энергетической автономности, мобильности, простой и надежной конструкции и высокой производительности.

По типу направляющих для ударной части дизель-молоты делятся на штанговые и трубчатые. У трубчатого дизель-молота направляющей ударной части в виде массивного подвижного поршня служит неподвижная труба, у штангового направляющими ударной части в виде массивного подвижного цилиндра служат две штанги. Распыление дизельного топлива в камере сгорания у штанговых молотов - форсуночное, а у трубчатых - ударное.

Дизель-молоты подвешиваются к копровой стреле с помощью захватов подъемно-сбрасывающего устройства («кошки»), предназначенного для подъема и пуска молота и прикрепленного к канату лебедки копровой установки.

По массе ударной части различают легкие (масса ударной части до 600 кг), средние (до 1800 кг) и тяжелые (свыше 2500 кг) дизель-молоты.

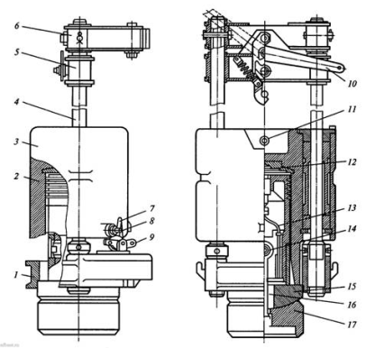
Дизель-молот СП (рис. 1) состоит из следующих основных узлов: поршневого блока 1 с шарнирной опорой, ударной части - подвижного рабочего цилиндра 3, двух направляющих штанг 4 с траверсой 6, механизма подачи топлива и захвата - «кошки» 5. Поршневой блок включает поршень 2 с компрессионными кольцами, отлитый заодно с основанием. В центре днища поршня установлена распылительная форсунка 12, соединенная топливопроводом 13 с плунжерным топливным насосом высокого давления (до 50 МПа), питающимся из топливного резервуара. Основание поршневого блока опирается на шарнирную опору, состоящую из сферической пяты 15 и наголовника 17, которые соединены серьгой 16 и пальцем 14. Шарнирная опора обеспечивает направление удара по центру сваи в случае некоторого несовпадения осей молота и сваи. В основании блока закреплены нижние концы направляющих штанг 4, верхние концы которых соединены траверсой 6.

Рисунок 2 - Штанговый дизель-молот

По штангам перемещается чугунный ударный цилиндр с камерой сгорания в донной части. На внешней поверхности цилиндра укреплен штырь (выступающий стержень) 8, воздействующий на рычаг 7 топливного насоса при падении ударной части вниз. Для управления топливным насосом при запуске молота в работу служит рычаг 9. Для запуска молота захват 5, подвешенный к канату лебедки копра, опускают вниз для обеспечения автоматического зацепления крюка «кошки» за валик 11 ударного цилиндра, после чего «кошку» и сцепленную с ней ударную часть поднимают лебедкой в верхнее крайнее положение. Далее поворотом вручную (через канат) рычага сброса 10 освобождают от «кошки» ударный цилиндр, который под действием собственного веса скользит по направляющим штангам вниз. При надвижении цилиндра на поршень 2 воздух, находящийся во внутренней полости цилиндра, сжимается (в 16...25 раз), а температура его резко повышается (до 600 °С). При нажатии штыря 8 цилиндра на приводной рычаг 7 топливного насоса дизельное топливо по топливопроводу 13 подается к форсунке 12 и распыляется в камере сгорания, смешиваясь с горячим воздухом. При дальнейшем движении цилиндра вниз горячая смесь самовоспламеняется, и в то же мгновение цилиндр наносит удар по шарнирной опоре, наголовник 17 которой надет на головку сваи. Расширяющиеся продукты сгорания смеси (газы) выталкивают ударную часть вверх и выходят в атмосферу. Поднимающийся рабочий цилиндр быстро теряет скорость, под действием собственного веса начинает опять падать вниз, и цикл повторяется. Дизель-молот работает автоматически до выключения топливного насоса.

Штанговые дизель-молоты обладают малой энергией удара (25...35 % потенциальной энергии ударной части). Их применяют для забивки в слабые и средней плотности грунты легких железобетонных и деревянных свай, стальных труб и шпунта при сооружении защитных шпунтовых стенок траншей, котлованов и каналов.

Трубчатые дизель-молоты предназначены для забивки в грунт преимущественно железобетонных свай массой 1,2...10 т и могут работать при температуре окружающего воздуха - 40...+40 °С. При температуре ниже - 25°С молоты при запуске подогревают.

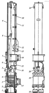
Все трубчатые дизель-молоты выполнены по единой конструктивной схеме, максимально унифицированы и состоят из следующих основных узлов (рис. 3): ударной части - поршня 8 с компрессионными кольцами 4, сменного рабочего цилиндра З и направляющей трубы 9, шабота 2, по которому наносит удар поршень, топливной и масляной систем, пускового устройства - «кошки» 12 с подъемно-сбрасывающим механизмом. В верхней части направляющей трубы имеются две проушины 21 для крепления каната при установке молота на копер. Рабочий цилиндр герметично закрыт снизу шаботом с компрессионными кольцами, передающим энергию удара поршня на сваю. К фланцу шабота прикрепляется свайный наголовник. Между фланцами рабочего цилиндра и шабота установлен кольцевой резиновый амортизатор 1, предотвращающий жесткое соударение корпуса цилиндра и шабота при больших осадках сваи. В нерабочем состоянии рабочий цилиндр и шабот соединяют планкой 18. Нижний торец поршня - сферический и по форме соответствует выемке в шаботе. При полном контакте сферических поверхностей поршня и шабота (в момент удара) кольцевая полость, образованная кольцевыми выточками в их сферах, представляет собой камеру сгорания. Топливо в сферу шабота подается под давлением 0,3...0,5 МПа плунжерным насосом 5, которым управляет падающий поршень, нажимающий на приводной рычаг 6. К насосу топливо поступает по гибким резиновым шлангам из топливного бака 7. Полость рабочего цилиндра 3 сообщатся с атмосферой через четыре всасывающе-выхлопных патрубка 20, направленных вверх.

Смазка трущихся рабочих поверхностей цилиндра и поршня осуществляется принудительно. Масло из бака 15 подается к трущимся поверхностям по гибкому маслопроводу с помощью масляного плунжерного насоса 16, аналогичного по устройству и принципу действия топливному. Отвод тепла от стенок рабочего цилиндра при повышенных температурах окружающего воздуха обеспечивается системой водяного охлаждения циркуляционно-испарительного типа, состоящей из расположенного в зоне камеры сгорания бака 19 для воды с заливной и сливной горловинами.

Рисунок 3 - Трубчатый дизель-молот

В направляющей трубе со стороны, обращенной к копру, имеется продольный паз, в котором перемещается подъемный рычаг «кошки», входящий в зацепление с поршнем при его подъеме при запуске молота. На наружной поверхности направляющей трубы установлены: направляющая 11 «кошки» 12, упор 13 для взвода подъемного рычага «кошки», упор 10 для сброса поршня и два захвата (левый 17 и правый 14) для подъема дизель-молота «кошкой».

Работа трубчатого дизель-молота осуществляется в такой последовательности: перед пуском молота поршень 4 поднимается «кошкой» 5, подвешенной на канате 6 лебедки копра, в крайнее верхнее положение, после чего происходит автоматическое расцепление «кошки» и поршня.

Трубчатые молоты более эффективны, чем штанговые, так как при равной массе ударной части могут забивать более тяжелые (в 2...3 раза) сваи за один и тот же отрезок времени. Штанговые дизель-молоты имеют низкие энергетические показатели и невысокую долговечность (в 2 раза меньшую, чем трубчатые).

Общим недостатком дизель-молотов является большой расход энергии на сжатие воздуха (50...60 %) и поэтому сравнительно небольшая мощность, расходуемая на забивку сваи. Массу ударной части дизель-молота подбирают в зависимости от массы погружаемой сваи и типа применяемого молота. Так, масса ударной части штангового дизель-молота должна быть не менее 100...125 %, а трубчатого - 40. ..70%от массы сваи, погружаемой в грунт средней плотности.

3.      Приведите классификацию бетоно-растворонасосов. Опишите их устройство. Представьте кинематические схемы

Растворонасосы предназначены для транспортировки (перека­чивания) штукатурных и других строительных растворов по раствороводам к месту использования и нанесения их на оштукатуривемые поверхности при по­мощию форсунки или безвоздушного сопла. Применяются для нанесения штукатурных, отделочных и изоляционных материалов на вертикальные или горизонтальные поверхности.

В связи с тем, что перекачиваемый раствор должен быть свежеприготовленным и процежен через сито с ячейкой от 3 до 5 мм, растворонасос должен эксплуатироваться в комплекте с приемным бункером и виброситом. Для транспортировки готового строительного раствора используются сборные резинотканевые напорные раствороводы.

Принцип действия растворонасосов основан на периодическом изменении объема их рабочей камеры, увеличивающегося при всасывании растворной смеси из приемного бункера и уменьшающегося при воздействии на смесь вытеснителя, выталкивающего раствор в напорную магистраль.

Классификация растворонасосов по способу воздействия на перекачиваемый раствор:

Диафрагменные;

Поршневые;

Винтовые.

Диафрагменный растворонасос (рис. 4) состоит из насосной части, привода, кривошипно-шатунного механизма с плунжером, предохранительных устройств, пульта управления и тележки с ходовыми колесами, на которой смонтированы все узлы растворонасоса. Насосная часть включает рабочую 2 и насосную 15 камеры, резиновую диафрагму 16, всасывающий 1 и нагнетательный 4 самодействующие шаровые клапаны. Перекачивание раствора осуществляется подвижной плоской резиновой диафрагмой 16, давление которой передается от движущегося возвратно-поступательно плунжера 11 через промежуточную жидкость (воду) постоянного объема. Раствор в рабочую камеру 2 с диафрагмой и самодействующими клапанами поступает снизу вверх (т. е. противоточно) из приемного бункера с процеживающим виброситом под действием вакуума, попеременно создаваемого при рабочем ходе плунжера. Возвратно-поступательное движение плунжеру сообщается от электродвигателя через клиноременную передачу 13, одноступенчатый зубчатый редуктор 12 и кривошипно-шатунный механизм 14.

При движении плунжера вправо промежуточная жидкость втягивает диафрагму до соприкосновения ее с ограничительной решеткой, и в рабочей камере создается вакуум, вследствие чего из приемного бункера через всасывающее колено 17я всасывающий клапан 1 в рабочую камеру засасывается раствор. При движении плунжера влево промежуточная жидкость выгибает внутрь рабочей камеры диафрагму, которая выталкивает раствор через открытый (под давлением раствора) нагнетательный клапан 4(впускной клапан /под действием собственной силы тяжести и противодавления раствора закрыт) в воздушный колпак 6, а затем в растворовод 8. Подъем клапанов во время работы насоса ограничивается скобами-ограничителями 5.

Воздушная подушка, образующаяся в воздушном колпаке в процессе работы насоса, выравнивает давление на раствор, поступающий в растворовод, уменьшая его пульсацию. Давление в воздушном колпаке контролируется манометром 7. Предохранительный клапан 10 соединяет полость насосной камеры 15 с заливочным устройством 9 при повышении максимально допустимого рабочего давления в раствороводе. При кратковременных остановках растворонасоса и при работе по замкнутому циклу раствор выпускают через перепускной клапан 3.

.

Рисунок 4 - Принципиальная схема диафрагменного растворонасоса

Поршнеый растворонасос, принципиальная схема которого представлена на рис. 5, снабжен двухскоростным зубчатым редуктором, что позволяет получать две подачи (производительности) машины в зависимости от жесткости перекачиваемых растворов. Растворная смесь засасывается в рабочую камеру 9 движущимся возвратно-поступательно поршнем 15. При движении поршня вправо в рабочей камере 9 создается разрежение, в результате закрывается нагнетательный клапан 12, и раствор из приемного бункера поступает по всасывающему патрубку 10 в рабочую камеру, приподнимая всасывающий клапан 11. При движении влево поршень выталкивает раствор из рабочей камеры через открытый под давлением раствора нагнетательный клапан 12 в воздушный колпак 13 и далее в напорный растворовод, при этом всасывающий клапан 11 под действием собственной силы тяжести и противодавления раствора закрыт. Возвратно-поступательное движение поршню со штоком 8 сообщается от электродвигателя 1 через клиноременную передачу 2, предохранительную муфту 3, двухскоростной зубчатый редуктор (коробку перемены передач) 4 и кривошипно-шатунный механизм. Поршневой шток 8 и шатун 5 соединены через крейцкопф 6, что обеспечивает прямолинейное возвратно-поступательное движение поршня и одновременно разгружает его от боковых усилий.

Рисунок 5 - Принципиальная схема поршневого растворонасоса

Винтовые растворонасосы в отличие от поршневых и диафрагменных моделей не имеют клапанов и применяются для перекачивания строительных растворов на основе гипса, шпаклевок, паст, мастик и малярных составов различной вязкости. Перемещение рабочего раствора происходит в результате вращения винта в неподвижной обойме.