Материал: sn74hc161

Внимание! Если размещение файла нарушает Ваши авторские права, то обязательно сообщите нам

SN54HC161, SN74HC161 4 BIT SYNCHRONOUS BINARY COUNTERS

SCLS297D − JANUARY 1996 − REVISED SEPTEMBER 2003

Clear (L)

Count (H)/

Disable (L)

Load (L)

Count (H)/

Disable (L)

Clock

APPLICATION INFORMATION

 

 

 

 

LSB

 

 

CLR

 

CTR

 

 

CT=0

 

 

LOAD

 

 

M1

3CT=MAX

RCO

 

ENT

 

G3

 

 

ENP

 

 

 

G4

 

 

 

CLK

 

 

 

C5/2,3,4+

 

 

 

 

A

 

1,5D

[1]

QA

B

 

 

[2]

QB

C

 

 

[3]

QC

D

 

 

[4]

QD

 

CLR

 

CTR

 

 

CT=0

 

 

LOAD

 

 

M1

3CT=MAX

RCO

 

ENT

 

G3

 

 

ENP

 

 

 

G4

 

 

 

CLK

 

 

 

C5/2,3,4+

 

 

 

 

A

 

1,5D

[1]

QA

B

 

 

[2]

QB

C

 

 

[3]

QC

D

 

 

[4]

QD

 

CLR

 

CTR

 

 

CT=0

 

 

LOAD

 

 

M1

3CT=MAX

RCO

 

ENT

 

G3

 

 

ENP

 

 

 

G4

 

 

 

CLK

 

 

 

C5/2,3,4+

 

 

 

 

A

 

1,5D

[1]

QA

B

 

 

[2]

QB

C

 

 

[3]

QC

D

 

 

[4]

QD

 

CLR

 

CTR

 

 

CT=0

 

 

LOAD

 

 

M1

3CT=MAX

RCO

 

ENT

 

G3

 

 

ENP

 

 

 

G4

 

 

 

CLK

 

 

 

C5/2,3,4+

 

 

 

 

A

 

1,5D

[1]

QA

B

 

 

[2]

QB

C

 

 

[3]

QC

D

 

 

[4]

QD

To More−Significant Stages

Figure 2

POST OFFICE BOX 655303 DALLAS, TEXAS 75265

11

SN54HC161, SN74HC161

4 BIT SYNCHRONOUS BINARY COUNTERS

SCLS297D − JANUARY 1996 − REVISED SEPTEMBER 2003

APPLICATION INFORMATION

The glitch on RCO is caused because the propagation delay of the rising edge of QA of the second stage is shorter than the propagation delay of the falling edge of ENT. RCO is the product of ENT, QA, QB, QC, and QD (ENT × QA × QB × QC × QD). The resulting glitch is about 7−12 ns in duration. Figure 3 shows the condition in which the glitch occurs. For simplicity, only two stages are being considered, but the results can be applied to other stages. QB, QC, and QD of the first and second stage are at logic one, and QA of both stages are at logic zero (1110 1110) after the first clock pulse. On the rising edge of the second clock pulse, QA and RCO of the first stage go high. On the rising edge of the third clock pulse, QA and RCO of the first stage return to a low level, and QA of the second stage goes to a high level. At this time, the glitch on RCO of the second stage appears because of the race condition inside the chip.

1

2

3

4

5

CLK

ENT1

QB1, QC1, QD1

QA1

RCO1, ENT2

QB2, QC2, QD2

QA2

RCO2

 

 

Glitch (7−12 ns)

 

 

 

 

Figure 3

The glitch causes a problem in the next stage (stage three) if the glitch is still present when the next rising clock edge appears (clock pulse 4). To ensure that this does not happen, the clock frequency must be less than the inverse of the sum of the clock-to-RCO propagation delay and the glitch duration (tg). In other words,

fmax = 1/(tpd CLK-to-RCO + tg). For example, at 25°C at 4.5-V VCC, the clock-to-RCO propagation delay is 43 ns and the maximum duration of the glitch is 12 ns. Therefore, the maximum clock frequency that the

cascaded counters can use is 18 MHz. The following tables contain the fclock, tw, and fmax specifications for applications that use more than two ’HC161 devices cascaded together.

12

POST OFFICE BOX 655303 DALLAS, TEXAS 75265

SN54HC161, SN74HC161 4 BIT SYNCHRONOUS BINARY COUNTERS

SCLS297D − JANUARY 1996 − REVISED SEPTEMBER 2003

APPLICATION INFORMATION

timing requirements over recommended operating free-air temperature range (unless otherwise noted)

 

 

VCC

TA = 25°C

SN54HC161

SN74HC161

UNIT

 

 

MIN MAX

MIN MAX

MIN MAX

 

 

 

 

 

 

 

 

 

 

 

 

 

2 V

3.6

2.5

2.9

 

 

 

 

 

 

 

 

fclock

Clock frequency

4.5 V

18

12

14

MHz

 

 

6 V

21

14

17

 

 

 

 

 

 

 

 

 

 

2 V

140

200

170

 

tw

Pulse duration, CLK high or low

 

 

 

 

ns

4.5 V

28

40

36

 

 

6 V

24

36

30

 

 

 

 

 

 

 

 

switching characteristics over recommended operating free-air temperature range, CL = 50 pF (unless otherwise noted) (see Note 4)

PARAMETER

FROM

TO

VCC

TA = 25°C

SN54HC161

SN74HC161

UNIT

(INPUT)

(OUTPUT)

MIN MAX

MIN MAX

MIN MAX

 

 

 

2 V

3.6

2.5

2.9

 

fmax

 

 

 

 

 

 

MHz

 

 

4.5 V

18

12

14

 

 

 

6 V

21

14

17

 

 

 

 

 

 

 

 

 

NOTE 4: These limits apply only to applications that use more than two ’HC161 devices cascaded together.

If the ’HC161 devices are used as a single unit, or only two cascaded together, then the maximum clock frequency that the device can use is not limited because of the glitch. In these situations, the device can be operated at the maximum specifications.

A glitch can appear on RCO of a single ’HC161 device, depending on the relationship of ENT to CLK. Any application that uses RCO to drive any input except an ENT of another cascaded ’HC161 device must take this into consideration.

POST OFFICE BOX 655303 DALLAS, TEXAS 75265

13

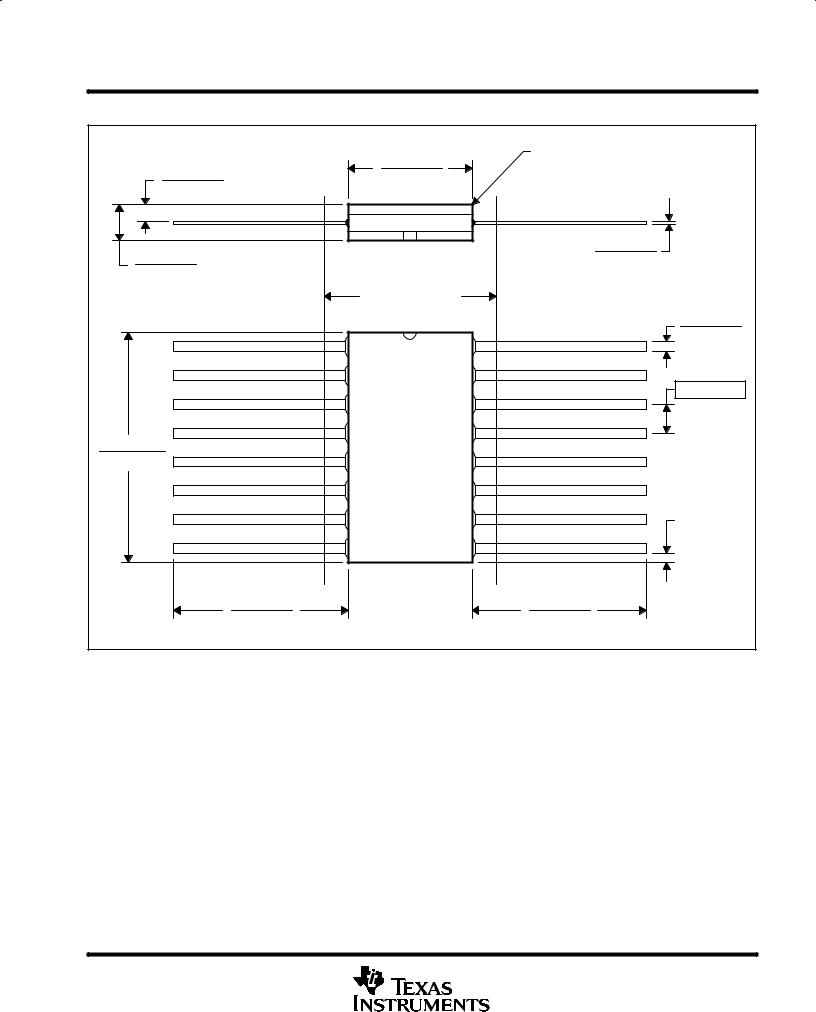
MECHANICAL DATA

 

 

MCFP004A– JANUARY 1995 – REVISED FEBRUARY 2002

W (R-GDFP-F16)

 

CERAMIC DUAL FLATPACK

 

0.285 (7,24)

Base and Seating Plane

0.045 (1,14)

 

0.245 (6,22)

 

0.026 (0,66)

 

 

 

 

0.006 (0,15)

0.080 (2,03)

 

0.004 (0,10)

0.055 (1,40)

 

 

 

0.305 (7,75) MAX

 

1

16

0.019 (0,48)

0.015 (0,38)

 

 

 

 

0.050 (1,27)

0.430 (10,92)

 

 

0.370 (9,40)

 

 

 

 

0.005 (0,13) MIN

 

 

4 Places

8

9

 

0.360 (9,14)

 

0.360 (9,14)

0.250 (6,35)

 

0.250 (6,35)

 

 

4040180-3/ C 02/02

NOTES: A. All linear dimensions are in inches (millimeters).

B.This drawing is subject to change without notice.

C.This package can be hermetically sealed with a ceramic lid using glass frit.

D.Index point is provided on cap for terminal identification only.

E.Falls within MIL STD 1835 GDFP-1F16 and JEDEC MO-092AC

POST OFFICE BOX 655303 DALLAS, TEXAS 75265

1