Материал: Системы контроля утечки газа

Внимание! Если размещение файла нарушает Ваши авторские права, то обязательно сообщите нам

СПБГУАП группа 4736 https://new.guap.ru/i03/contacts

Введение

ГАЗОАНАЛИЗАТОРЫ это приборы, измеряющие содержание

(концентрацию) одного или нескольких компонентов в газовых смесях.

Каждый газоанализатор предназначен для измерения концентрации только определенных компонентов на фоне конкретной газовой смеси в нормированных условиях. Наряду с использованием отдельных газоанализаторов создаются системы газового контроля, объединяющие десятки таких приборов. В большинстве случаев работа газоанализаторов невозможна без ряда вспомогательных устройств, обеспечивающих создание необходимых титры и давления, очистку газовой смеси от пыли и смол, а в ряде случаев и от некоторых мешающих измерениям компонентов и агрессивных веществ. Газоанализаторов классифицируют по принципу действия на пневматические, магнитные, электрохимические,

полупроводниковые и др. Ниже излагаются физические основы и области применения наиболее распространенных газоанализаторов.

Оптико-акустические газоанализаторы. Для контроля состава отработавших газов автотранспорта в процессе эксплуатации разработан оптико-акустический газоанализатор. Ультрамикроконцентрации оксида углерода (II), содержащегося в атмосферном воздухе, также измеряют спектроабсорбционным методом с использованием полосы поглощения СО в инфракрасной области спектра 4,66 мкм, где приемниками лучистой энергии служат герметичные камеры с конденсаторным микрофоном, заполненные газовой смесью из определяемого газа. Такие газоанализаторы называют оптико-акустическими.

СПБГУАП группа 4736 https://new.guap.ru/i03/contacts

1. Оптико-акустические газоанализаторы

Оптико-акустические газоанализаторы по принятой классификации следует отнести к оптическим. Они основаны на измерении степени поглощения газом прерывистого потока инфракрасной рдиации. Излучения инфракрасной области спектра поглощаются газами, молекулы которых состоят из двух или большего числа различных атомов и ионов. В

теплоэнергетике их применяют для измерений СО2; СО; СН4.

Оптико-акустический эффект состоит в следующем: при воздействии на газ (находящийся в замкнутом объеме) прерывистым потоком инфракрасной радиации происходит пульсация температуры, а

следовательно, и давления этого газа. Эта пульсация, воздействуя на микрофон, вызывает «звучание» газа.

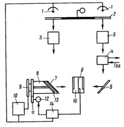
На рис. 1 приведена принципиальная схема газоанализатора.

Инфракрасное излучение от двух источников 1 направляется по двум каналам (рабочему и сравнительному), проходя при этом через обтюратор

2,который шесть раз в секунду прерывает оба потока одновременно.

Прерывистые потоки излучения проходят через фильтровые камеры 3

заполненные обычно данной смесью газа, из которой исключен анализируемый компонент. Наличие фильтровых камер обеспечивает уменьшение погрешности за счет возможного частичного наложения спектров поглощения анализируемой и не анализируемой составляющей газовой смеси. Далее поток радиации, направленный по рабочему каналу,

проходит рабочую камеру 4, через которую непрерывно пропускается анализируемая газовая смесь. Анализируемая составляющая газа поглощает часть энергии, определяемой поглощающей способностью этого газа.

Остаток лучистой энергии после отражения от пластины 5 поступает в правую область луче приемника 6. Лучистый поток, проходящий по сравнительному каналу, после фильтровой камеры 3 попадает в

СПБГУАП группа 4736 https://new.guap.ru/i03/contacts

компенсационную камеру 8. Компенсационная камера заполнена анализируемой составляющей смеси. На поверхности этой камеры имеются окна из специального стекла (Li+F) 7 свободно пропускающего инфракрасные лучи. Внутри компенсационной камеры имеется отражательное зеркало, которое направляет лучистый поток в левую область луче приемника 6. Если в правую и левую области луче приемника поступают различные по величине прерывистые потоки излучения, то конденсаторный микрофон 15, помещенный в луче приемнике, создает звуковой сигнал, который после усиления усилителем 14 воздействует на реверсивный двигатель 12. Реверсивный двигатель с помощью редуктора 11

перемещает отражательное зеркало 13 до тех пор, пока поток сравнительного канала не уравняется с потоком, поступающим в луче приемник по рабочему каналу. При равенстве этих потоков звучание микрофона прекращается.

Перемещение отражательного зеркала внутри уравнительной камеры вызывает изменение ее объема, т. е. изменение пути движения газа, что приводит к изменению поглощения лучистой энергии. Одновременно с редуктором перемещается движок реохорда 9 вторичного прибора10.

Подобные газоанализаторы выпускают для диапазонов от 0÷1% до

0÷100% по объему анализируемого компонента с основной погрешностью от

±2,5 до ±5% от верхнего предела измерения.

Рис. 1. Принципиальная схема оптикоакустического газоанализатора

СПБГУАП группа 4736 https://new.guap.ru/i03/contacts

2. Газоанализатор оптико-акустический

Газоанализатор оптико-акустический - это автоматический непрерывно

действующий прибор, предназначаемый для изучения концентрации одного

из компонентов в сложных газовых смесях.

Среди возможных применений газоанализатора оптико-акустического

стоит отметить:

технологический контроль на различных производствах (в т.ч.

ацетилена, аммиака, метанола),

оптимизацию процессов горения на основании данных о составе

дымовых газов,

контроль содержания в отходящих газах на топливосжигающих

установках различных типов (асфальтовых заводов, ТЭЦ, водогрейных

котлов) оксида углерода,

научные исследования и проч.

Принцип действия прибора базируется на избирательном поглощении

лучистой энергии определяемыми компонентами изучаемой газовой смеси в

инфракрасной области спектра. Эта способность присуща всем газам, кроме

N2, О2, С12, Н2 и одноатомных газов. Оптико-акустический приемник

фиксирует степень ослабления энергии излучения, пропущенного через

определенный слой анализируемого газа. Газоанализатор оптико-

акустический отображает электрический сигнал, получаемый в результате

пульсаций давления газа. Схожие определения:

Термогигрометр беспроводной

<http://www.tehnopribor.ru/termin/termogigrometr_besprovodnoj.html> - это прибор, имеющий своим предназначением круглосуточные (непрерывные) определения и регистрацию температур и влажности воздуха.

Оптико-акустический (ОА) эффект - генерация акустических волн в веществе в результате поглощения им оптического излучения - был обнаружен Беллом, Тиндалем и Рентгеном в 1880-1881 гг. Вскоре после открытия ОА-эффект был практически забыт, и лишь начиная с 1938 г. М.Л. Вейнгеров, проведя серию экспериментов, дал второе рождение этому

СПБГУАП группа 4736 https://new.guap.ru/i03/contacts

эффекту и предложил использовать ОА-эффект для количественного и качественного анализов газовых смесей. В 1968 г. появилось сообщение о создании первого лазерного оптико-акустического спектрометра.

ОА-эффект лежит в основе метода оптико-акустической спектроскопии, которая начала развиваться на основе некогерентных источников излучения еще до изобретения лазеров.

Когда оптическое излучение находится в резонансе с колебательновращательным переходом в исследуемом молекулярном газе, процесс преобразования энергии излучения в электрический сигнал состоит из следующих последовательных этапов: возбуждение молекул газа; безызлучательная релаксация возбужденных молекул; нагрев газа; генерация импульса давления; вынужденные колебания мембраны микрофона; генерация электрического сигнала.

До появления лазеров ОА-метод широко использовали для количественного и качественного анализа газовых смесей с помощью газоанализаторов с тепловым источником излучения. Появление лазеров дало новые возможности для совершенствования методов лазерной спектроскопии.

Первичным процессом, определяющим преобразованием энергии лазерного излучения в электрический сигнал, является изменение населенности резонансных (с лазерным излучением) энергетических уровней в молекулах (электронных, колебательно-вращательных, вращательных - в зависимости от области спектра). Колебательно-возбужденные молекулы релаксируют со всех вращательных уровней в основное состояние со скоростью, определяемой наличием трех каналов релаксации - излучательного (радиационная релаксация с вероятностью wR), безызлучательного за счет столкновений в объеме (гомогенная релаксация - вращательная и колебательно-поступательная с вероятностями соответственно безызлучательного за счет релаксации возбуждения на стенке ОА-ячейки (гетерогенная релаксация). Лишь часть колебательновозбужденных молекул, определяемая вероятностью колебательновращательной релаксации, релаксирует с выделением тепла в объеме газа, что вызывает генерацию импульса давления в ячейке ОА-детектора. Точное решение задачи генерации акустического сигнала описывается системой двух уравнений - для отклонений температуры и давления в ячейке от их равновесных значений.

Импульс давления в ячейке ОАД приводит к изменению положения мембраны микрофона и затем к генерации электрического сигнала, снимаемого с детектора.

Уникальные свойства лазерного излучения (высокая спектральная плотность энергии, монохроматичность, возможность плавной перестройки длины волны излучения) позволили разработать детекторы, обладающие высокой чувствительностью и высоким спектральным разрешением. Применение лазерных источников излучения вносит существенные особенности в принципы построения и проектирования соответствующих