Материал: Система автоматического управления тепловым режимом

Внимание! Если размещение файла нарушает Ваши авторские права, то обязательно сообщите нам

Разработка математической модели теплового режима помещений для управления состоит из следующих этапов: сбор и обработка исходных данных, включающая изучение проектной документации и особенностей технологических процессов, происходящих в помещении; разработка «точной» математической модели теплового режима помещения и метода ее реализации на основе использования ЭВМ; оценка методом численного эксперимента вклада отдельных составляющих теплового баланса помещения и различных теплотехнических параметров на величину целевой функции; разработка с учетом результатов выполненного численного эксперимента предварительной математической модели теплового режима помещения для управления; обоснование математической модели для управления на основе сопоставления результатов расчета по ней с результатами расчета по «точной» модели; идентификация математической модели по результатам натурных экспериментов; повышение адекватности математической модели в процессе ее функционирования.

Современное здание следует рассматривать как сложную энергопотребляющую систему с многообразием составляющих его элементов, в которых протекают различные по физической сущности процессы поглощения, превращения и переноса энергии. Для построения и реализации математических моделей сложных энергетических объектов используется методология системного подхода. В качестве основных элементов здания как единой теплоэнергетической системы принимаются: совокупность показателей наружного климата, лучистый теплообмен в помещении, конвективный теплообмен в помещении (в том числе с учетом источников тепла), тепло- и массоперенос через ограждающие конструкции, теплоинерционность оборудования, находящегося в помещении, тепловой режим помещения в целом.

Систему элементов и связей, моделирующую тепловой режим помещения, представляют в виде графа, в котором каждому элементу помещения как единой теплоэнергетической системы соответствует вершина графа, а связи между элементами помещения или с внешними элементами - дуга графа. На рис.7 показана упрощенная схема теплового баланса помещения, а на рис. 8 - соответствующий ей граф. Не снижая дальнейшей общности рассуждений, граф на рис.8 включает одну наружную стену, одну внутреннюю стену и одно заполнение светового проема. Соединение смежных вершин графа не одной, а двумя одинаково направленными дугами отражает наличие двух связей, осуществляемых при помощи разных способов передачи энергии.

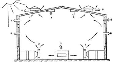
Рис. 7. Схема теплового баланса производственного здания

1 - теплопотери через ограждающие конструкции (стены, покрытия, перекрытия); 2 - теплопоступления от системы воздушного отопления; 3 -теплопоступления от технологического оборудования; 4 - теплопотери через заполнение светового проема; 5 - теплопотери за счет воздухообмена

Рис. 8. Граф теплового баланса помещения

I - наружное ограждение; II - внутреннее ограждение; III - заполнение светового проема; IV - внутренний воздух; V - вентиляция; VI - внутреннее оборудование; 2, 4, 6, 18 - теплообмен конвекцией между внутренними поверхностями ограждения, а также между поверхностью оборудования и внутренним воздухом; 3, 5, 7 - потоки тепла за счет фильтрации через ограждения; 9, 10, 11, 12, 13, 14 - лучистый теплообмен внутренних поверхностей ограждений между собой, а также с оборудованием; 16 - конвективное тепло, непосредственно передаваемое воздуху помещения; 1,8, 15, 17 - связи между элементами помещения и внешними элементами

Заключение

автоматизированный управление тепловой модель

Автоматизированная система управления тепловым режимом помещения организационно может входить в общую иерархическую структуру управления [при наличии автоматизированной системы управления производством (АСУП)], являясь, например, подсистемой автоматизированной системой управления хозяйством предприятия (АСУЭ) или может представлять автономную автоматизированную систему управления.

Разработка автоматизированной системы управления тепловым режимом помещения может выполняться независимо от остальных систем, однако в организационном отношении необходимо предусматривать связь с более высокими уровнями управления для обеспечения организационной совместимости систем, что особенно важно, когда характер основного технологического производства существенно зависит от воздушно-теплового режима производственных помещений.

Функциональные задачи (в соответствии с информационными, управляющими и вспомогательными функциями автоматизированной системы) подразделяются на следующие группы:

) сбор, обработка, хранение и регистрация информации о состоянии ТОУ;

) контроль переменных, описывающих состояние ТОУ;

) формирование управляющих воздействий, обеспечивающих оптимальное (в соответствии с принятым критерием оптимальности) управление тепловым режимом помещений;

) организация связи оператора с управляющей частью автоматизированной системы управления;

) общесистемные задачи (организация связи между уровнями управления и ТОУ).


Список литературы


1) http://mptrad.ru/gsmcontrolheatingsystem.html

)Пособие по проектированию автоматизированных систем управления микроклиматом производственных зданий (Москва Стройиздат 1989)

) http://www.syst.ru/vnedren/sau_mkt.htm

) http://www.teplitsi.ru/mikroklimat