Материал: Система автоматического управления тепловым режимом

Внимание! Если размещение файла нарушает Ваши авторские права, то обязательно сообщите нам

Система автоматического управления тепловым режимом

Оглавление

Введение

Глава 1. Система автоматического управления тепловым режимом

.1 Назначение и структура автоматизированной системы

.2 Проектирование системы

.3 Анализ систем отопления, вентиляции и кондиционирования как объекта управления

Глава 2. Программное ПО системы

Глава 3. Общий алгоритм функционирования системы

Заключение

Список литературы



Введение


Важнейшим источником экономии топливно-энергетических ресурсов, затрачиваемых на теплоснабжение крупных производственных зданий со значительным потреблением тепловой и электрической энергии, является повышение эффективности работы системы отопления и вентиляции на основе использования современных достижений вычислительной и управляющей техники. Обычно для управления системами отопления и вентиляции служат средства локальной автоматики. Основным недостатком такого регулирования является то, что оно не учитывает фактический воздушный и тепловой баланс здания и реальные погодные условия: температуру и влажность наружного воздуха, скорость и направление ветра, атмосферное давление, солнечную радиацию. Поэтому под воздействием средств локальной автоматики система теплоснабжения работает, как правило, не в оптимальном режиме.

Эффективность работы системы отопления и вентиляции можно значительно увеличить, если, используя математическое моделирование теплового поведения здания, осуществить оптимальное управление системами, основанное на использовании ЭВМ и комплекса соответствующих технических и программных средств.

Формирование теплового режима можно представить как взаимодействие возмущающих и регулирующих факторов.

Для определения управляющего воздействия нужна информация о свойствах и количестве входных и выходных параметров и условия протекания процесса передачи тепла. Так как целью управления отопительно-вентиляционным оборудованием является обеспечение требуемых условий воздушной среды в рабочей зоне помещений зданий при минимальных энергетических и материальных затратах, то с помощью ЭВМ будет найден оптимальный вариант и выработаны соответствующие управляющие воздействия на эту систему. В результате ЭВМ с соответствующим комплексом технических и программных средств образует автоматизированную систему управления тепловым режимом помещений зданий (АСУ ТРП).

Глава 1. Система автоматического управления тепловым режимом

.1 Назначение и структура автоматизированной системы


Система предназначена для управления средствами обеспечения теплового и воздушного режима помещений производственных зданий в соответствии с выбранным критерием оптимизации управления, например минимизация затрат, тепловой и электрической энергии.

Автоматизированные системы управления тепловым режимом помещений (АСУ ТРП) являются разновидностью автоматизированных систем управления технологическими процессами, в связи с чем при их разработке могут быть использованы результаты разработок автоматизированных систем управления процессами в других областях.

Автоматизированная система управления технологическими процессами представляет систему управления для выработки и реализации управляющих воздействий на технологический объект управления в соответствии с принятым критерием управления. Технологический объект управления (ТОУ) представляет совокупность технологического оборудования и реализованного на нем по соответствующим технологическим инструкциям или регламентам технологического процесса производства. Поэтому технологическое оборудование теплоснабжения, обработки перемещения воздуха отопительно-вентиляционных систем, а также обслуживаемые этими системами помещения можно рассматривать как технологический объект управления.

Совокупность совместно работающих автоматизированной системы управления теплового режима помещений и технологического объекта управления совместно с узлом централизованной подготовки теплоносителя для систем отопления - вентиляции, приточных камер, устройств воздухораспределения, обслуживаемых помещений и т.п. - рассматривается как автоматизированный технологический комплекс.

Автоматизированная система управления тепловым режимом зданий представляет человеко-машинную систему управления, обеспечивающую автоматизированный сбор и обработку информации, необходимой для оптимизации управления. В соответствии с этим в составе АСУ ТРП должны быть автоматические средства сбора и переработки информации об управляемом объекте (в первую очередь средства вычислительной техники), а цель функционирования должна заключаться в оптимизации работы технологического объекта управления в соответствии с принятыми критериями управления путем формирования управленческих воздействий. В выработке решений по управлению должен принимать участие человек.

Таким образом, система управления ТОУ является автоматизированной системой управления ТРП, если обладает следующими признаками: а) осуществляет управление всеми подсистемами ТОУ в целом; б) осуществляет формирование управляющих воздействий в темпе протекания управляемых технологических процессов (в реальном масштабе времени); в) наличии средств вычислительной техники, других технических средств; г) участие человека-оператора, участвующего в выработке решений по управлению.

В системах обеспечения ТРП к управляемым относятся следующие процессы:

) управления температурой теплоносителя путем смешения подаваемого и обратного теплоносителя в узлах централизованной подготовки;

) управления расходом теплоносителя через воздухонагреватели приточных камер;

) управления расходами приточного и рециркуляционного воздуха через приточные камеры;

) поддержания заданных значений параметров теплового режима обслуживаемых помещений путем осуществления указанных выше взаимосвязанных процессов.

Область заданных значений параметров теплового режима определяет выбор технологического оборудования и влияет на алгоритм функционирования.

Целью создания АСУ ТРП является обеспечение требуемых значений параметров теплового режима обслуживаемых помещений при минимальных энергетических затратах, рациональном использовании технологического оборудования систем обеспечения ТРП и трудовых ресурсов (оперативного и обслуживающего персонала).

Критерием управления АСУ ТРП является соотношение, характеризующее качество работы ТОУ в целом и принимающее числовые значения в зависимости от используемых управляющих воздействий. В качестве критерия управления (критерия качества функционирования) в рассматриваемых системах могут быть приняты приведенные затраты по поддержанию требуемых значений параметров теплового режима помещений. Частными критериями управления могут являться затраты энергии на функционирование управляемых подсистем, надежность функционирования ТОУ или автоматизированный технологический комплекс в целом и т.п.

В соответствии с основным определением функции АСУ ТРП как «круга действий АСУ ТРП, направляемых на достижение частной цели управления», АСУ ТРП выполняет следующие функции: информационные, управляющие, вспомогательные.

Информационная функция. Ее содержанием являются: сбор, преобразование, хранение информации о состоянии ТОУ, представление этой информации оперативному персоналу или передача ее для последующей обработки.

Информационные функции АСУ ТРП подразделяются на: централизованный контроль состояния ТОУ, вычислительные и логические операции информационного характера.

Функций централизованного контроля заключаются в следующем:

) непрерывное, периодическое и (или) по вызову измерение, оперативное отображение и регистрация значений технологических параметров и показателей состояния оборудования;

) обнаружение, оперативное отображение, регистрация и сигнализация отклонений значений технологических параметров и показателей состояния оборудования от установленных пределов;

) контроль, оперативное отображение, регистрация и сигнализация срабатываний блокировок и защит;

) оперативное отображение и регистрация результатов математических и логических операций, выполняемых технологическими средствами системы.

Содержание вычислительных и логических операций следующее:

) косвенное измерение технологических параметров показателей состояния оборудования системы;

) вычисление и анализ обобщенных показателей оценки текущего состояния ТОУ и его составляющих;

) анализ срабатывания блокировок и защит;

) диагностика протекания ТРП и состояния оборудования;

) прогнозирование хода ТРП и состояния оборудования;

) расчет технико-экономических и эксплуатационных показателей функционирования ТОУ;

) подготовка информации и выполнение процедур обмена информацией со смежными и вышестоящими системами управления.

Содержание управляющей функции является выработка решений и реализация управляющих воздействий на ТОУ.

К управляющим функциям АСУ ТРП относятся следующие:

) определение рационального режима проведения ТРП;

) формирование и передача на входы исполнительных устройств управляющих воздействий, обеспечивающих реализацию выбранного режима;

) выдача оператору рекомендаций по управлению ТРП.

Основной особенностью управляющих и информационных функций, выполняемых АСУ любым технологическим процессом, является их направленность на конкретного потребителя (объект управления, оперативный персонал, смежные или вышестоящие системы управления).

К вспомогательным функциям относятся такие, которые обеспечивают решение внутрисистемных задач. Вспомогательные функции не имеют потребителя вне системы и предназначены для обеспечения ее собственного функционирования (обеспечение заданного алгоритма функционирования технологических средств системы, контроль их состояния и т.п.).

Используют два режима реализации функций системы: автоматизированный и автоматический.

Для информационных функций автоматизированный режим реализации предусматривает участие оперативного персонала в операциях по получению и переработке информации. В автоматическом режиме все необходимые процедуры переработки информации реализуются без участия человека.

Для управляющих функций автоматизированный режим характеризуется участием человека в выработке (принятии) решений и их реализации. При этом различаются следующие варианты:

) «ручной» режим, при котором оперативному персоналу представляется контрольно-измерительная информация о состоянии ТОУ, а выбор и осуществление управляющих воздействий производит оператор;

) режим «советчика», при котором техническими средствами системы вырабатываются рекомендации по управлению, а решение об их использовании принимается и реализуется оперативным персоналом;

) «диалоговый» режим, при котором оперативный персонал имеет возможность корректировать постановку и условия задачи, решаемой техническими средствами системы при выработке рекомендаций по управлению объектом.

Автоматический режим реализации управляющих функций предусматривает автоматическую выработку и реализацию управляющих воздействий. При этом различают:

) режим косвенного («супервизорного») управления, когда средства вычислительной техники автоматически изменяют уставки и (или) параметры настройки локальных систем автоматического управления (регулирования);

) режим прямого (непосредственного) цифрового (или аналого-цифрового) управления, когда управляющее вычислительное устройство формирует воздействия, подаваемые к исполнительным механизмам.

Функциональной структурой системы называют структуру, элементами которой являются функции АСУ, а связи между элементами отражают порядок их взаимодействия. На рис. 1 приведено схематическое изображение функциональной структуры АСУ ТРП.

Рис. 1. Функциональная структурная схема

1 - датчик температуры воздуха в помещении; 2 - регулирующий клапан; 3 - приемный воздушный клапан; 4 - насос регулирования температуры прямой воды

.2 Проектирование системы


Проектируемая автоматизированная система управления тепловым режимом производственного здания должна обеспечивать: требуемый температурный, влажностный и воздушный режим в зоне расположения технологического оборудования, необходимый для нормального выполнения технологических процессов; заданные значения температуры, влажности и подвижности внутреннего воздуха в рабочей зоне, определенные санитарно-гигиеническими требованиями; экономию затрат топливно-энергетических ресурсов на эксплуатацию здания; сокращение численности обслуживающего персонала.

Рабочей зоной считается пространство высотой до 2 м от уровня пола или площадки, на которой находятся рабочие места.

Параметры микроклимата в рабочей зоне устанавливают по СНиП 2.04.05-86.

Температура tв, относительная влажность jв и скорость движения воздуха v в различных помещениях зданий должны соответствовать их допустимым значениям в зависимости от характеристики помещений (их назначения и удельных избытков явного тепла), категорий работ, приведенных для холодного и переходного периода года в табл. <#"805737.files/image002.jpg">

Рис. 2. Схема математической модели

Экспериментальные исследования проводят с целью определения особенностей распределения температуры внутреннего воздуха в плане и по высоте помещений; теплоаккумуляционных характеристик внутреннего оборудования и продукции, а также здания в целом; фактических теплозащитных показателей наружных ограждений; оценки инерционности систем отопления; выявления характерных участков в зонах действия приточных камер для выбора мест установки датчиков температуры; определения технологических теплопоступлений. Натурные исследования проводят при стационарных и нестационарных условиях теплообмена в зимний и переходный периоды года. Нестационарные условия изучаются в период снижения подачи тепла перед выходными и праздничными днями, в периоды натопа, понижения и повышения температуры наружного воздуха. Во время наблюдений измеряют: температуру, влажность, скорость и направление движения наружного воздуха, интенсивность солнечной радиации, перепад давлений воздуха с обеих сторон различно ориентированных ограждений, температуру и расход воздуха приточных камер, температуру и влажность внутреннего воздуха в плане и по высоте здания, температуру внутренних и наружных поверхностей и оборудования.

Основным ядром АСУ ТРП является управляющий вычислительный комплекс (УВК), на базе которого можно построить систему.

Централизованные управляющие вычислительные системы на базе мини-ЭВМ легко перенастраиваются с одной функции на другую путем замены программ в памяти ЭВМ. Возможно применение двухуровневых систем управления, в которых нижние уровни выполняются на традиционных средствах локального регулирования. Однако эти системы обладают следующими недостатками:

) малая живучесть, так как при отказе единственной ЭВМ система прекращает функционирование;

) сложность программного обеспечения, а также процедур обмена данными по каналам ввода - вывода;

) значительное число проводов и их длина в линии связи, подключенной к каналам ввода - вывода;

) сложное управление в реальном времени из-за большого времени реакции центральной системы.

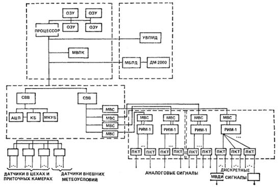
На рис. 3 приведен пример централизованной системы.

Рис. 3. Блок-схема информационно-управляющего комплекса

1.3 Анализ систем отопления, вентиляции и кондиционирования как объекта управления