Материал: Синтез регулятора скорости

Внимание! Если размещение файла нарушает Ваши авторские права, то обязательно сообщите нам

Рис. 26. Графики ω(t), i(t) при минимальном шаге прерывания (T = 0.5∙Tм)

Рис. 27. График электромеханической характеристики (T = 0.5∙Tм)

Построим графики переходных процессов в случае T = 5∙minTм:


Рис. 28. Графики ω(t), i(t) при максимальном шаге прерывания (T = 5∙Tм)

Глядя на графики, можно сказать, что при большом периоде прерывания экстраполятора имеет место нарастающий колебательный переходный процесс.

Поэтому будем оценивать качество переходных процессов при минимальном T для этой цифровой системы.

Определим перерегулирование σ и время регулирования tр по графику ω(t). На вход системы поставим фильтр:

,

где Tф = 0.9 с.

Схема модели приведена ниже:

Рис. 29. Схема модели для определения σ и tр по графику ω(t)

Рис. 30. График ω(t) (T = 0.5∙Tм)

При минимальном шаге прерывания T = 0.5∙Tм, Tф (постоянная времени фильтра) = 0.071 с было получено время регулирования tр = 2,5 с.

Перерегулирование

, по показаниям осциллографа:

Получаем сравнительно лучшее быстродействие tр и допустимое перерегулирование σ.

Теперь построим график тока i(t) при использовании фильтра:

Рис. 31. График i(t) (T = 0.5∙Tм) с фильтром

На следующем этапе исследований подадим возмущающее воздействие Iс/p и посмотрим графики ω(t), i(t). Для начала представим график ω(t):

Рис. 32. График ω(t) при (T = 0.5∙Tм) отработке возмущающего воздействия

Рис. 33. График i(t) при T = 0.5∙Tм


Рис. 34. График i(t) при T = 0.5∙Tм. с фильтром

Рис. 35. График w(t) при T = 0.5∙Tм. с фильтром

Теперь подадим на вход САУ помеху и построим графики: i(t), ω(t), ω(i):

Рис. 36. Графики ω(t), i(t) при (T = 0.5∙Tм)

Рис. 37. Графики ω(t), i(t) при (T = 0.5∙Tм) с фильтром

Рис. 38 Графики ω(i), при (T = 0.5∙Tм), без фильтра и с фильтром

Определим значение приближенного коэффициента передачи на основной гармонике, используя численный эксперимент. Подадим на вход системы основную гармонику (рис. 6.15) h(t) = 0.09∙sin14ωt:

Рис. 39. Схема опыта (T = 0.5∙Tм)

Амплитудное значение основной гармоники на входе мы знаем: Gm = 0.09 рад/с. Представим график входного и выходного сигналов (рис. 6.16):

Рис. 40. Основная гармоника на входе и выходе системы

По графику видно, что сигнал на выходе (жирная линия) имеет большую амплитуду, система усиливает помеху. Используя масштабирование, найдем Rm = 0,5, тогда Kо = Rm/Gm, Kо = 0,5/0,2 = 2,5.

Построим ЛАЧХ замкнутой цифровой системы с помощью Matlab 6.5. Пропишем условие, необходимое для ее построения:

= logspace(0,6)

[A,B,C,D] = dlinmodv5('Название документа модели');

W = ss(A,B,C,D,Q);(W)

Здесь Q - период прерывания экстраполятора. Нажимаем клавишу Enter:

Рис. 41. ЛАЧХ замкнутой системы

По графику было найдено: Мы знаем, что формула для расчета ЛАЧХ выглядит так:


Передаточная функция W(ω) - это отношение выходного сигнала к сигналу на выходе, т.е. коэффициент передачи.

Поэтому выражение: нужно преобразовать:

Таким образом, коэффициенты передачи на основной гармонике Ko, найденные двумя способами, практически совпадают.

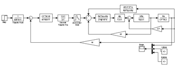
Далее соберем модель исследуемой цифровой системы, когда цифровой регулятор скорости получен при подстановке в исходный аналоговый (рис. 6.19) и проведем исследования по уже знакомому порядку:

Рис. 42. Модель САУ, когда цифровой регулятор получен из аналогового с помощью подстановки p = 2∙(z - 1)/T∙(z + 1)

Определим запасы устойчивости цифровой системы при билинейном преобразовании с помощью программы Matlab 6.5:

Из полученных графиков можно сделать вывод что система неустойчива.

Построим графики i(t), ω(t) при отработке единичного ступенчатого сигнала:

Рис. Устойчивость цифровой САУ при билинейном преобразовании


Рис. 43 Графики переходных процессов ω(t), i(t) при T = 0.5∙Tм

Шаг интегрирования Δt = 0.0001 c.

Приведем графики переходных процессов ω(t), i(t), когда период прерывания экстраполятора T = 0,005∙Tм:

Рис. 44 Графики переходных процессов ω(t), i(t) при T = 0,005∙Tм

Дальнейшие исследования для этой цифровой системы проводить для считаем нецелесообразным поскольку для всех периодов прерывания будем получать расходящийся процесс.