Материал: Рулевой электропривод судна

Внимание! Если размещение файла нарушает Ваши авторские права, то обязательно сообщите нам

 

. Выбираем возбудитель типа П-28М с данными: Pн = 1 кВт; U = 220 В; I = 4,5 А;

η = 77,5 %;

исполнение - брызгонепроницаемое.

 

. По мощности приводного двигателя:

 

. Выбираем приводной двигатель типа АМ-60-1 с данными: P = 11 кВт; n = 1415 об/мин. U = 220 В; I = 7 А; η = 84 %; cos φ = 0,83; λм = 2,2; исполнение- тоже брызгонепроницаемое.

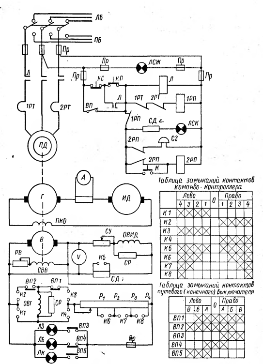
. Разработка принципиальной схемы управления рулевого электропривода


Для схемы управления рулевым электроприводом по системе Г-Д с питанием приводного двигателя от сети переменного тока 380 В подобрано следующее оборудование:

1.         Исполнительный двигатель постоянного тока ИД.

2.         Трехмашинный преобразовательный агрегат, состоящий из приводного асинхронного двигателя - ПД, генератора постоянного тока - Г, возбудителя - В.

3.         Аппаратуры управления, защиты и сигнализации.

4.         Приборы контроля возбуждения и нагрузки дополнительного двигателя (вольтметр и амперметр).

Командоконтроллер с контактами К1-К8 подобран на центре положения работы (лево и право). Сопротивления P1 - P2 подобраны регулировочные, CD - добавочное. Выключатели ВП3 - ВП5 подобраны для включения сигнализации лампами Л3, ЛБ, ЛК о положении пера руля. Конечные выключатели ВП1, ВП2 - для отключения возбуждения генератора в предельных положениях пера руля.

Защита схемы

Согласно правилам Регистра на отключение срабатывает только защита от коротких замыканий. Для чего в схеме предусмотрены предохранители с плавкими вставками.

. Выбор аппаратуры управления

Для управления рулевым электроприводом с питанием приводного двигателя от сети переменного тока напряжением 380 В выбираем следующую аппаратуру управления:

.        Переключатель постов управления типа УП-5100: U = 380 В. Iн = 20 А. Iпрл = 60 А;

.        Конечный выключатель, шпиндельный типа КР-6000 на пять цепей; 2 - для разрыва цепей возбуждения генератора, 3 - для включения сигнальных ламп;

.        Кнопочная станция типа КУ-123;

.        Линейный контактор типа КМ2315 величины на номинальный ток 30А, три главных контакта, один вспомогательный;

.        Реле промежуточное типа МКУ 48Т, 4 размыкающихся и 4 замыкающихся контактов, номинальное напряжение катушек 220В, cos φ = 0,5;

6.      Предохранитель силовой цепи типа ПДС 2, номинальный ток предохранителя I=20 А, тип плавкой вставки ПВД2, номинальный ток плавкой вставки;

.        Тепловые реле для защиты ТРТ-153, Iн = 230 А;

.        Амперметр М 1500, пределы измерений 0-500, класс точности 1, угол шкалы 230 градусов;

.        Вольтметр - Э140/1, пределы измерений 0-250, класс точности 1,5.

10.    Командоконтроллер КВ-24A.

. Расчет и выбор питающего кабеля и установочного автомата

По тепловой нагрузке согласно таблицы может быть выбран кабель с сечением 6мм2.

Однако ток отсечки автомата по формуле

 

Определим пусковой ток электродвигателя

 

 

где: Pн = 7 кВт - номинальная мощность. KI - кратность тока при пуске; ηн - КПД двигателя.

Ток осечки автомата должен быть:

 А

Для обеспечения защиты ток кабеля должен быть:

 

В соответствии с таблицей выбираем кабель, сечением 4 мм2: тип КНР 3х4мм2, допускаемы ток Iдоп = 65 А, с медными жилами и резиновой изоляцией в поливинилхлоридной масло-бензиностойкой, коррозионностойкой, не распространяющей горение оболочке.

Выбираем автомат серии B20 1P с Iн = 100 А с током установки Iср = 22,2 А с максимальными электромагническими расцепителями.

. Обслуживание и уход за рулевым электроприводом

Техническое обслуживание электропривода и его осмотр производится в определенные сроки, которые указаны в ППТОР. Периодичность осмотров и контроля технического состояния электродвигателей напрямую зависит от длительности эксплуатации, температурного режима, количества пусков, нагрузок в процессе эксплуатации.

Осмотр включает в себя проверку температуры нагрева двигателей, а также контроль за отсутствием посторонних и пожароопасных предметов вблизи двигателей, их пуском и остановкой согласно инструкции, предотвращением работы двигателей вхолостую.

При проведении технического обслуживания электроприводов обязательно контролируется температура нагрева электродвигателей, напряжение электросетей, проверяется уровень масла в подшипниках, реостатах и пусковой аппаратуре, внимательно следят за исправностью ограждений, которые предотвращают прикосновения к вращающимся элементам электроприводов, занимаются наружной очисткой и мелким ремонтом при необходимости.

В связи с тем, что повреждения электродвигателя чаще всего случаются по причине превышения допустимого предела температуры, техническое обслуживание электропривода сопровождается постоянным контролем показателей их температуры. При снятии показаний уровня температуры выделяют предельно допустимую температуру нагрева и предельно допустимое превышение нагрева отдельных частей, которое вычисляют вычитанием температуры окружающей среды (40 С) из предельно допустимой температуры нагрева, после этого результат уменьшают на 10 С.

Еще одним немаловажным фактором, влияющим на работу электродвигателей, является напряжение питающих электросетей. Повышенное напряжение может привести к превышению предельно допустимой температуры, а его понижение - к уменьшению момента вращения. Техническое обслуживание электропривода подразумевает под собой постоянный контроль напряжения электросети.

Проверки электроприводов подразделяют на периодические и внеочередные, которые проводят в случаях длительного простоя, попадания на электродвигатели воды, а также при подозрении, что состояние изоляции обмоток ухудшилось. Для оценки их состояния необходимо сравнить данные текущих показаний с предыдущими показаниями. Если расхождение между ними достаточно велико, то целесообразно проведение более подробного исследования и, при необходимости, осуществления сушки электродвигателя или же его ремонт.

В случае обнаружения признаков возгорания электродвигателя или его аппаратуры, несчастного случая с человеком, возникновении чрезмерной вибрации, перегреве подшипников, поломки приводного механизма необходимо отключить электродвигатель от электросети.

. Охрана окружающей среды на судах ФРП

В процессе эксплуатации судов образуются бытовые и производственные отходы, сброс которых в водоем приносит значительный ущерб природе. При этом все образующиеся на судне загрязнения можно разделить на две основные группы:

) остатки перевозимых грузов, образующихся вследствие неполной их выгрузки, обмыва палубы и трюмов, танков и т. п.;

) загрязнения, образующиеся в результате жизнедеятельности экипажа и пассажиров (сточные воды и бытовой мусор), а также в результате эксплуатации судовых механизмов (нефтесодержащие льяльные, или подсланевые воды, производственный мусор). Кроме того, до сих пор, к сожалению, весьма часты случаи аварийных разливов нефтепродуктов при бункеровке судов и в результате различных аварийных ситуаций.

В связи с тем что для судов характерны загрязнения второй группы (они присущи любому классу судов), а также аварийные разливы нефтепродуктов, в данной книге рассмотрены пути решения проблем по предотвращению загрязнения водоемов этими видами судовых загрязнений.

Существует классификация мусора по степени его взаимодействия с водной средой:

плавающий -- приводит к загрязнению поверхности воды и береговой полосы (пляжи, места отдыха и т. п.);

тонущий -- загрязняет дно водоема, особый вред наносит местам нерестилищ и нагула рыб;

растворяющийся -- поглощает для своего окисления кислород из воды водоема, изменяет ее окраску, вкус и т. п.

Международная конвенция МАРПОЛ 73/78

В 1973 г. Международной морской организацией (ИМО), являющейся органом ООН, была принята Международная конвенция МАРПОЛ 73, в которой определены технические требования по предотвращению загрязнения моря с судов.

Положения МАРПОЛ 73 и Протокола 1978 г. представляют собой единый документ, кратко называемый Конвенция МАРПОЛ 73/78 [52], которая включает пять приложений (по видам всех судовых загрязнений):

приложение I. «Правила предотвращения загрязнения нефтью»;

приложение II. «Правила контроля над загрязнением при перевозке ядовитых жидких веществ наливом»;

приложение III. «Правила предотвращения загрязнения вредными веществами, перевозимыми морем в упаковке, грузовых контейнерах, съемных танках или автодорожных и железнодорожных цистернах»;

приложение IV. «Правила предотвращения загрязнения сточными водами с судов»;

приложение V. «Правила предотвращения загрязнения мусором с судов».

Указанные пять приложений Конвенции по существующим в ИМО правилам объединяются в три группы и принимаются (ратифицируются) государствами одновременно: 1-я группа -- приложения I и II; 2-я группа -- приложения III и V; 3-я группа -- приложение IV.

Приложения I и II вступили в силу 2 октября 1983 г.; приложение V -- в декабре 1988 г., остальные вступят в силу в ближайшие год-два. В качестве наиболее важных, присущих всем типам судов, здесь рассмотрены требования приложений I, IV и V (нефть, сточные воды, мусор).

Нефтесодержащие воды.

Каждое судно, совершающее международные рейсы, должно быть оборудовано в соответствии с требованиями приложения I Конвенции МАРПОЛ 73/78, что подтверждается выдачей Регистром СССР этим судам Международных свидетельств о предотвращении загрязнения нефтью. Конвенцией предусмотрены следующие технические средства для предотвращения загрязнения водной среды льяльными (подсланевыми) водами с судов:

- сборные танки;

- нефтеводяное фильтрующее оборудование с очистной способностью подсланевых вод до уровня нефтесодержания в сбросе не более 15 млн-1;

- автоматическое устройство для закрытия сливных клапанов, когда содержание нефти в очищенной воде, сбрасываемой за борт, превышает 15 млн-1';

- нефтеводяное сепарационное оборудование с очистной способностью до 100 млн-1.

Сточные воды.

Требования приложения IV Конвенции МАРПОЛ 73/78 распространяются на суда, совершающие международные рейсы, в том случае, если валовая вместимость данных судов более 200 per. т, а также на суда меньшей вместимостью, если на них разрешена перевозка более 10 человек.

В соответствии с положениями Конвенции в прибрежной зоне шириной 12 морских миль запрещен сброс сточных вод, если они предварительно не очищены и не обеззаражены в специальной судовой установке (установке ООСВ) до некоторых параметров.

Под термином «сточные воды» Конвенцией понимается следующее:

- стоки из всех видов туалетов, писсуаров, унитазов, а также шпигатов, находящихся в туалетах;

- стоки из раковин, ванн, душевых и шпигатов, находящихся в медицинских помещениях;

- стоки из помещений, где содержатся животные;

- прочие стоки, если они перемешаны с перечисленными выше.

За пределами 12-мильной зоны сброс СВ разрешен без предварительной обработки в любом бассейне (понятия «особый район» для СВ не существует), но при этом указано, что судно должно двигаться со скоростью не менее 4 уз.

В связи с указанным каждое судно, попадающее под действие приложения IV Конвенции, должно быть оборудовано устройствами для возможного предотвращения сброса необработанных СВ. Такими устройствами являются судовые сборные цистерны, а также установки ООСВ.

Мусор.

Приложение V Конвенции включает правила предотвращения загрязнения водоемов мусором с судов. При этом под термином «мусор» понимаются все виды пищевых, бытовых или эксплуатационных отходов (за исключением свежей рыбы и ее остатков), которые образуются в процессе нормальной эксплуатации судна, за исключением веществ, перечень которых приведен в других приложениях Конвенции.

Конвенцией предусмотрены следующие ограничения по сбросу мусора с судов:

- запрещается сброс в море всех видов пластмасс, включая синтетические тросы, сети, пластмассовые мешки для мусора;

- плавучий обивочный и упаковочный материал можно сбрасывать за пределами 25 миль от берега;

- за пределами 12-мильной зоны можно сбрасывать мусор, пропущенный через измельчитель, если куски размолотого мусора не более 25 мм;

- в особых районах запрещается сбрасывать любые виды мусора, кроме пищевых отходов, которые можно сбрасывать за пределами 12-мильной зоны.

Если мусор смешан с другими отходами, сброс которых попадает под другие требования, то к нему предъявляются более строгие требования.

В соответствии с требованиями Конвенции каждое судно, совершающее международные рейсы, должно иметь как минимум одно из следующих устройств: емкости для сбора мусора; устройства для измельчения или прессования мусора; инсинератор (печь для сжигания мусора). Кроме того, в Конвенции указано, что все заинтересованные государства обязаны обеспечить свои порты и терминалы устройствами для приема мусора.

. Охрана труда на ФРП

Организация рабочих мест.

Организация любого трудового процесса на судах должна предусматривать необходимые мероприятия, обеспечивающие безопасность работающих и соответствовать требованиям ГОСТ 12.2.003--74 и ОСТ 15.210--79. Правильно организовать рабочие места и провести расстановку рабочей силы, а также обеспечить всех работающих спецодеждой и необходимыми индивидуальными защитными средствами -- одна из главных обязанностей администрации судна. К основным мероприятиям по организации рабочих мест относятся: обеспечение безопасного доступа к рабочему месту, а в случае эвакуации -- к спасательным средствам; обеспечение правильной передачи команд и распоряжений; оптимальная для данных условий компоновка рабочего места; устройство необходимых ограждений, защитных устройств, надписей, обеспечение работающих соответствующим инструментом, приспособлениями и такелажем; осуществление специальных мероприятий в зависимости от специфики работ.

Полы на тех рабочих местах, где по роду работ может быть скользко, должны иметь рифленую или ячеистую поверхность.

Площадки, расположенные на открытых палубах, в рыбце-хах, продолжительность работ на которых превышает 1 ч, в холодное время года покрывают материалом с низким коэффициентом теплопроводности (деревянные рыбинсы, маты).

Рациональная планировка рабочего места предполагает, прежде всего установление удобных и безопасных зон для выполнения трудовых операций и соответствующее размещение всего необходимого для работы оборудования.

Приспособления устанавливаются на палубе или стеллажах так, чтобы при качке судна, толчках или вибрации они не опрокидывались. Все тяжелые запасные части, приспособления надежно крепятся в положении по-походному в предусмотренных для этого на судне местах.

Рабочие места нельзя размещать в опасных зонах. Эти зоны по характеру действия опасных факторов определяются временем и размерами, а следовательно, могут быть как стационарными, так и нестационарными (условными), т. е. изменяющимися в размерах в зависимости от времени и характера действия опасного фактора.