Hм-общее количество паяных соединений
|
Технологический показатель |
|
|
3 Коэффициент
механизации подготовки к монтажу
0.5Hмп.иэт-число
элементов, автоматически подготавливаемых к монтажу
Hиэт-общее число ИЭТ
|
Технологический показатель |
|
|
4 Коэффициент
механизации контроля и настройки
0.5Hмкм-количество
операций механизированного контроля и настройки
Hкм-общее число операции контроля и настройки
|
Технологический показатель |
|
|
5 Коэффициент
повторяемости ИЭТ
0.3Hт.иэт-
число типноминалов ИЭТ.
Hиэт-общее число ИЭТ
|
Конструкторский показатель |
|
|
6 Коэффициент
применяемости ИЭТ
0.2Hт.ор.иэт-
число оригинальных ИЭТ.
Hт.иэт-число типовых ИЭТ
|
Конструкторский показатель |
|
|
7 Коэффициент
использования прогрес-сивных форм
0.1Дпр.-число
деталей пространственной компоновки прогрессивной формы.
Д-общее число деталей пространственной компоновки
|
Конструкторско-технологический показатель |
|
|
Комплексный показатель технологичности опорного генератора на 1000МГц для
заданного объема выпуска определяется на основании базовых показателей по
формуле:
Полученное
значение комплексного показателя технологичности соответствует нормативному
комплексному показателю для мелкосерийного производства. В мелкосерийном
производстве используются специальное и специализированное оборудование, при
этом квалификация рабочих должна быть высокой.
1.5 Разработка схемы сборки опытного образца
Схема сборки необходима для описания последовательности основных сборочных операций и служит источником данных для разработки маршрутного ТП.
Для сборки и монтажа прибора используется общая схема сборки с базовой деталью. В качестве базовой детали выбирается сборочная единица - основание корпуса, на которое устанавливается ячейка электронная. Для каждой сборочной единицы разрабатываются промежуточные схемы сборки, которые объединяются в общую схему сборки. На первом этапе производится сборка передней панели устройства. Схема сборки передней панели опытного образца представлена на рисунке 1.5.1.
Рисунок 1.5.1 - Схема сборки передней панели
На следующем этапе собирается задняя панель, на которую устанавливаются
разъемы. Схема сборки задней панели представлена на рисунке 1.5.2.
Рисунок 1.5.2 - Схема сборки задней панели
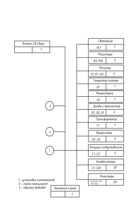
Схема сборки электронной ячейки показана на рисунке 1.5.3.
Рисунок 1.5.3 - Схема сборки ячейки электронной
К основанию прибора крепятся 3 ячейки. Остальные ячейки вставляются в основную плату. Схема сборки всего прибора показана на рисунке 1.5.4.
Рисунок 1.5.4 - Схема сборки опытного образца
1.6 Разработка маршрутного технологического
процесса сборки опытного образца электронной ячейки
Маршрутный технологический процесс (МТП) сборки установки для измерения параметров и настройки пьезоэлектрических резонаторов и монолитных фильтров отражает последовательность выполнения технологических операций, содержит информацию об оборудовании и времени выполнения каждой операции. МТП разрабатывается на основе анализа конструкторской документации и схемы сборки устройства.
На первом этапе выполняются подготовительные операции: сборка передней и задней панели устройства, распаковка, комплектование ЭРЭ, расфасованных в тару для удобного и быстрого поиска; входной контроль качества, формовка и обрезка выводов элементов.
Подготовленные ЭРЭ устанавливается на плату в порядке, указанном на схеме сборки.
После установки ЭРЭ проводится пайка выводов паяльником, контроль качества пайки, отмывка и сушка платы.
Собранные ячейки устанавливаются на основание корпуса, после чего прибор закрывают крышкой.
Собранный прибор проходит функциональный контроль.
Годный прибор маркируется и упаковывается.
Последовательность операций сборки опытного образца устройства
представлена в таблице 1.6.1.
Таблица 1.6.1 - Исходные данные для заполнения маршрутной карты для сборки опытного образца преобразователя
|
№ операции |
Наименование операции |
Оборудование |
Время, сек |
|
|
Сборка основания корпуса |
|
|
|
10 |
Комплектование основания корпуса |
Стол монтажный |
40 |
|
20 |
Подготовка основания корпуса к сборке (сверление отверстий) |
|
60 |
|
30 |
Монтаж пластин к основанию корпуса |
Стол монтажный |
40 |
|
|
Сборка передней панели |
|
|
|
35 |
Подготовка передней панели к сборке (сверление отверстий) |
Стол монтажный |
60 |
|
40 |
Комплектование деталей передней панели |
Стол монтажный |
60 |
|
50 |
Монтаж элементов на переднюю панель |
Стол монтажный |
60 |
|
|
Сборка задней панели |
Стол монтажный |
|
|
60 |
Комплектование деталей задней панели |
Стол монтажный |
40 |
|
65 |
Подготовка задней панели к сборке (сверление отверстий) |
Стол монтажный |
60 |
|
70 |
Монтаж элементов на заднюю панель |
Стол монтажный |
60 |
|
|
Сборка ячейки электронной |
|
|
|
80 |
Распаковка и комплектование ЭРЭ |
Стол монтажный |
600 |
|
90 |
Установка ЭРЭ на печатную плату |
Стол монтажный |
720 |
|
95 |
Пайка паяльником |
Стол монтажный |
300 |
|
100 |
Обрезка выводов |
Стол монтажный |
20 |
|
105 |
Промывка платы |
Установка промывки |
30 |
|
110 |
Сушка платы |
Установка сушки |
120 |
|
120 |
Функциональный контроль ячейки |
Стенд контроля |
300 |
|
|
Сборка прибора |
|
|
|
130 |
Комплектование прибора |
Стол монтажный |
300 |
|
140 |
Установка передней панели |
Стол монтажный |
30 |
|
150 |
Установка задней панели |
Стол монтажный |
30 |
|
160 |
Установка электронных ячеек на основание корпуса |
Стол монтажный |
120 |
|
170 |
Установка электронных ячеек на основную плату |
Стол монтажный |
30 |
|
180 |
Фиксация ячеек, установленных на основную плату |
Стол монтажный |
120 |
|
190 |
Монтаж проводов |
Стол монтажный |
300 |
|
200 |
Установка крышки прибора |
30 |
|
|
210 |
Функциональный контроль |
Стенд контроля |
1200 |
|
220 |
Маркировка |
Стол монтажный |
120 |
|
230 |
Упаковка |
Стол монтажный |
180 |
Суммарное штучное время сборки опытного образца ячейки Тшт = 5030 сек =
84 мин.
1.7 Расчет и анализ такта выпуска
Анализ объема выпуска изделия проводится с целью определения возможности выпуска изделий по данному ТП в заданном объеме в установленные сроки путем сравнения штучного времени сборки изделия с заданным тактом выпуска. По результатам анализа такта выпуска принимается решения о необходимости изменения технологического процесса, и даются рекомендации по выбору более производительных оборудования и оснастки, использованию групповых методов обработки, объему партии изделий.
Заданный объём выпуска Nвып= 1700 шт./год.
По заданному объёму выпуска определяется такт выпуска:
Тв= Ф*60/Nвып,
где Тв - такт выпуска; Ф - годовой фонд рабочего времени (Ф≈ 2070 часов) при односменной работе; где Nзап- программа запуска.
Тогда:
Тв = 2070*60/1700 = 73 мин/шт
Следовательно, производительность:= 60/Тв = 60/73 = 0.82 шт/час
Из сравнения штучного времени сборки ячеек Tшт (Tшт= 84 мин) и такта выпуска Тв (Тв = 73 мин) следует, что технологический процесс сборки и монтажа, в котором используются ручные методы сборки, требует изменения с целью сокращения штучного времени. Для этого рекомендуется использовать автоматизированную установку компонентов на плату; селективную пайку элементов, устанавливаемых в отверстия; пайку поверхностно монтируемых компонентов в печи; оснастку для групповой отмывки печатных плат после пайки, проводить групповую сушку печатных плат после промывки.
1.8 Разработка схемы сборки электронной ячейки в
серийном производстве
Схема сборки необходима для описания последовательности основных сборочных операций и служит источником данных для разработки маршрутного ТП.
Для сборки и монтажа прибора используется общая схема сборки с базовой деталью. В качестве базовой детали выбирается сборочная единица - основание корпуса, на которое устанавливается ячейка электронная.Для каждой сборочной единицы разрабатываются промежуточные схемы сборки, которые объединяются в общую схему сборки.
На первом этапе производится сборка передней панели устройства. Схема
сборки передней панели опытного образца представлена на рисунке 1.8.1.
Рисунок 1.8.1 - Схема сборки передней панели
На следующем этапе собирается задняя панель, на которую устанавливаются разъемы.
Схема сборки задней панели представлена на рисунке 1.8.2.
Рисунок 1.8.2- Схема сборки задней панели
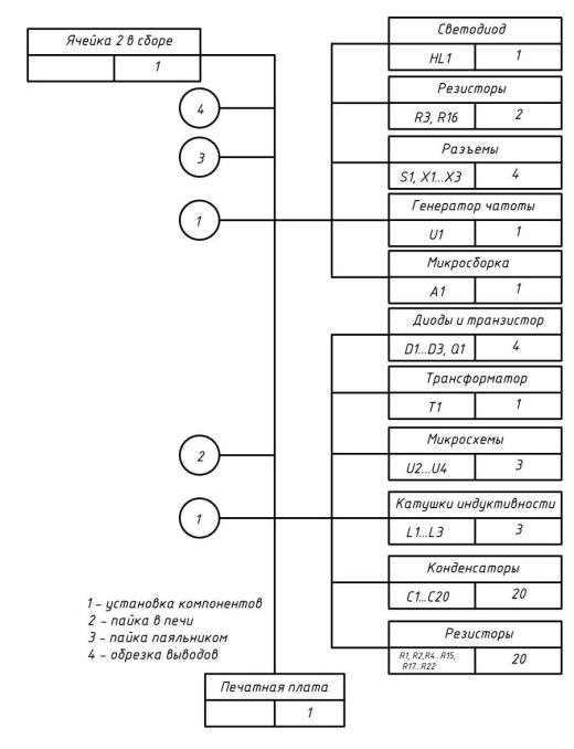
Схема сборки ячейки показана на рисунке 1.8.3.
Рисунок 1.8.3- Схема сборки ячейки электронной
К основанию прибора крепятся 3 ячейки. Остальные ячейки вставляются в
основную плату. Схема сборки всего прибора показана на рисунке 1.8.4.
Рисунок 1.8.4- Схема сборки опытного образца
1.9 Разработка маршрутного технологического
процесса сборки электронной ячейки в серийном производстве
Учитывая рекомендации по совершенствованию технологического процесса с целью снижения штучного времени, для сборки устройства в серийном производстве выбирается автоматизированная установка компонентов и пайка компонентов в печи; разрабатывается приспособление для намотки нарезки проводов.
Исходные данные для заполнения маршрутной карты для сборки устройства в
серийном производстве представлены в таблице 1.9.1.
Таблица 1.9.1- Исходные данные для заполнения маршрутной карты для сборки устройства в серийном производстве
|
№ операции |
Наименование операции |
Оборудование |
Время, сек |
|
1 |
2 |
3 |
4 |
|
|
Сборка основания корпуса |
|
|
|
10 |
Комплектование основания корпуса |
Стол монтажный |
40 |
|
20 |
Подготовка основания корпуса к сборке (сверление отверстий) |
|
60 |
|
30 |
Монтаж пластин к основанию корпуса |
Стол монтажный |
40 |
|
|
Сборка передней панели |
|
|
|
35 |
Комплектование деталей передней панели |
Стол монтажный |
60 |
|
40 |
Подготовка передней панели к сборке (сверление отверстий) |
Стол монтажный |
60 |
|
50 |
Монтаж элементов на переднюю панель |
Стол монтажный |
60 |
|
|
Сборка задней панели |
|
|
|
60 |
Комплектование деталей задней панели |
Стол монтажный |
40 |
|
65 |
Подготовка задней панели к сборке (сверление отверстий) |
Стол монтажный |
60 |
|
70 |
Монтаж элементов на заднюю панель |
Стол монтажный |
60 |
|
|
Сборка ячейки электронной |
|
|
|
80 |
Распаковка и комплектование ЭРЭ |
Стол монтажный |
600 |
|
85 |
Нанесение паяльной пасты |
Устройство для нанесения паяльной пасты |
120 |
|
90 |
Установка КМП на плату |
Автомат для установки КМП |
60 |
|
100 |
Пайка в многозонной печи |
Многозонная печь |
120 |
|
110 |
Установка КМО на печатную плату |
Стол монтажный |
100 |
|
120 |
Пайка паяльником |
Стол монтажный |
100 |
|
130 |
Обрезка выводов |
Стол монтажный |
20 |
|
140 |
Промывка платы |
Установка промывки |
30 |
|
150 |
Сушка платы |
Установка сушки |
120 |
|
160 |
Функциональный контроль ячейки |
Стенд контроля |
300 |
|
|
Сборка прибора |
|
|
|
170 |
Комплектование прибора |
Стол монтажный |
300 |
|
180 |
Установка передней панели |
Стол монтажный |
30 |
|
190 |
Установка задней панели |
Стол монтажный |
30 |
|
200 |
Установка электронных ячеек на основание корпуса |
Стол монтажный |
120 |
|
210 |
Установка электронных ячеек на основную плату |
Стол монтажный |
30 |
|
220 |
Фиксация ячеек, установленных на основную плату |
Стол монтажный |
120 |
|
230 |
Монтаж проводов |
Стол монтажный |
300 |
|
240 |
Установка крышки прибора |
Стол монтажный |
30 |
|
250 |
Функциональный контроль |
Стенд контроля |
1200 |
|
260 |
Маркировка |
Стол монтажный |
120 |
|
270 |
Упаковка |
Стол монтажный |
180 |
Суммарное штучное время сборки ячейки в серийном производствеTшт = 73 мин. Полученное значение
штучного времени сборки преобразователя напряжения равно такту для заданного
объема выпуска ( Тв = 73 мин/шт), что обеспечивает сборку устройства в серийном
производстве в соответствии с производственной программой выпуска.
1.10 Разработка маршрутно-операционного
технологического процесса
На основе маршрутного технологического процесса разрабатывается
маршрутно-операционный технологический процесс. Исходные данные для
маршрутно-операционного ТП представлены в таблице 1.10.1.
Таблица 1.10.1 Исходные данные для заполнения маршрутно-операционной карты для сборки устройства в серийном производстве
|
№ операции |
Наименование операции |
Оборудование и оснастка |
Материалы и режимы |
Tшт., сек |
|
1 |
2 |
3 |
4 |
5 |
|
|
Сборка основания корпуса |
|
|
|
|
10 |
Комплектование основания корпуса |
Стол монтажный |
|
40 |
|
01 |
Распаковать тару |
Тара упаковочная, ножницы |
|
|
|
02 |
Извлечь деталь корпуса из тары, проконтролировать визуально и положить в технологическую тару |
Тара упаковочная, тара технологическая |
|
|
|
03 |
Повторить переход 02 для всех деталей основания корпуса |
|
|
|
|
20 |
Подготовка основания корпуса к сборке (сверление отверстий) |
Стол монтажный |
|
60 |
|
01 |
Извлечь основание из тары технологической |
Тара технологическая |
|
|
|
02 |
Установить основание в приспособление для сверления |
|
|
|
|
03 |
Просверлить отверстие по чертежу |
Дрель |
|
|
|
04 |
Повторить переход 03 для всех отверстий |
|
|
|
|
05 |
Убрать основание в тару |
Тара технологическая |
|
|
|
30 |
Монтаж пластин к основанию корпуса |
Стол монтажный |
|
40 |
|
01 |
Извлечь основание корпуса, пластины и необходимое количество винтов из тары |
Тара технологическая |
|
|
|
02 |
Закрепить пластину на основании корпуса винтами и положить основание корпуса в тару |
Отвертка ручная |
|
|
|
03 |
Повторить переходы 01 - 02 для второй пластины |
|
|
|
|
|
Сборка передней панели |
|
|
|
|
35 |
Комплектование деталей передней панели |
Стол монтажный |
|
60 |
|
01 |
Распаковать тару |
Тара упаковочная |
|
|
|
02 |
Извлечь деталь передней панели из тары, проконтролировать визуально и положить в технологическую тару |
Тара упаковочная, тара технологическая |
|
|
|
03 |
Повторить переход 02 для всех деталей передней панели |
|
|
|
|
04 |
Набрать необходимое количество винтов и положить в тару технологическую |
Тара технологическая |
|
|
|
40 |
Подготовка передней панели к сборке (сверление отверстий) |
Стол монтажный |
|
60 |
|
01 |
Извлечь переднюю панель из тары технологической |
Тара технологическая |
|
|
|
02 |
Установить панель в приспособление для сверления |
|
|
|
|
03 |
Просверлить отверстие по чертежу |
Дрель |
|
|
|
04 |
Повторить переход 03 для всех отверстий |
|
|
|
|
05 |
Убрать переднюю панель в тару |
Тара технологическая |
|
|
|
50 |
Монтаж элементов на переднюю панель |
Стол монтажный |
|
60 |
|
01 |
Извлечь элементы передней панели из тары |
Тара технологическая |
|
|
|
02 |
Установить элемент на переднюю панель и при необходимости закрепить винтами |
Отвертка ручная |
|
|
|
03 |
Повторить переход 02 для всех элементов передней панели |
|
|
|
|
|
Сборка задней панели |
|
|
|
|
60 |
Комплектование деталей задней панели |
Стол монтажный |
|
40 |
|
01 |
Распаковать тару |
Тара упаковочная |
|
|
|
02 |
Извлечь деталь задней панели из тары, проконтролировать визуально и положить в технологическую тару |
Тара упаковочная, тара технологическая |
|
|
|
03 |
Повторить переход 02 для всех деталей передней панели |
|
|
|
|
04 |
Набрать необходимое количество винтов и положить в тару технологическую |
Тара технологическая |
|
|
|
65 |
Подготовка задней панели к сборке (сверление отверстий) |
Стол монтажный |
|
60 |
|
01 |
Извлечь заднюю панель из тары технологической |
Тара технологическая |
|
|
|
02 |
Установить панель в приспособление для сверления |
|
|
|
|
03 |
Просверлить отверстие по чертежу |
Дрель |
|
|
|
04 |
Повторить переход 03 для всех отверстий |
|
|
|
|
05 |
Убрать заднюю панель в тару |
Тара технологическая |
|
|
|
70 |
Монтаж элементов на заднюю панель |
Стол монтажный |
|
60 |
|
01 |
Извлечь элементы задней панели из тары |
Тара технологическая |
|
|
|
02 |
Установить элемент на заднюю панель и при необходимости закрепить винтами |
Отвертка ручная |
|
|
|
03 |
Повторить переход 02 для всех элементов задней панели |
|
|
|
|
|
Сборка ячейки электронной |
|
|
|
|
80 |
Распаковка и комплектование ЭРЭ |
Стол монтажный |
|
600 |
|
01 |
Извлечь печатную платы из тары упаковочной и положить в тару технологическую |
Тара упаковочная, тара технологическая |
|
|
|
02 |
Извлечь ЭРЭ из тары упаковочной, проконтролировать визуально на отсутствие внешних дефектов и положить в тару технологическую согласно чертежу и комплектовочной ведомости |
Тара упаковочная, тара технологическая |
|
|
|
03 |
Повторить переход 01 для всех ЭРЭ |
|
|
|
|
85 |
Нанесение паяльной пасты |
Устройство для нанесения паяльной пасты |
|
120 |
|
01 |
Извлечь печатную плату из технологической тары |
Тара технологическая |
|
|
|
02 |
Установить печатную плату в установку |
|
|
|
|
03 |
Нанести паяльную пасту |
Трафарет, ракель |
|
|
|
04 |
Извлечь печатную плату из установки |
|
|
|
|
90 |
Автомат для установки КМП |
|
60 |
|
|
01 |
Закрепить печатную плату в установке |
|
|
|
|
02 |
Провести установку элементов |
|
|
|
|
03 |
Извлечь печатную плату из установки и положить в тару |
Тара технологическая |
|
|
|
100 |
Пайка в многозонной печи |
Многозонная печь |
|
120 |
|
01 |
Извлечь печатную плату из тары |
Тара технологическая |
|
|
|
02 |
Установить плату на транспортер |
|
|
|
|
03 |
Провести пайку |
|
|
|
|
04 |
Снять печатную плату и положить в тару |
Тара технологическая |
|
|
|
05 |
Визуально проконтролировать качество пайки |
Тара технологическая |
|
|
|
110 |
Установка КМО на печатную плату |
Стол монтажный |
|
100 |
|
01 |
Извлечь компонент из тары и установить на печатную плату согласно чертежу |
Тара технологическая |
|
|
|
02 |
Подогнуть выводы компонента |
Плоскогубцы |
|
|
|
03 |
Повторить переходы 01- 02 для всех ЭРЭ, устанавливаемых на ПП |
|
|
|
|
120 |
Пайка паяльником |
Стол монтажный |
|
100 |
|
01 |
Установить плату в приспособление для пайки плат |
|
|
|
|
02 |
Припаять выводы элемента к контактным площадкам |
Паяльная станция |
Припой ПОС-61 ГОСТ 21931-76. Т°=260+200С |
|
|
03 |
Повторить переход 02 для всех КМО |
|
|
|
|
04 |
Проконтролировать качество пайки визуально |
|
|
|
|
05 |
Извлечь плату из приспособления для пайки и положить в тару |
Тара технологическая |
|
|
|
130 |
Обрезка выводов |
Стол монтажный |
|
20 |
|
01 |
Извлечь плату из тары |
Тара технологическая |
|
|
|
02 |
Обрезать выводы ЭРЭ |
Бокорезы |
|
|
|
03 |
Повторить переход 02 для всех ЭРЭ |
|
|
|
|
04 |
Положить плату в технологическую тару |
Тара технологическая |
|
|
|
140 |
Промывка платы |
Установка промывки |
|
30 |
|
01 |
Переложить плату из тары в тару для промывки |
Тара технологическая , тара для промывки |
|
|
|
02 |
Поместить тару с платами в установку промывки и выдержать в смеси при установленном режиме |
Тара для промывки |
Спирто-бензиновая смесь (1:1) Температура смеси То = 70±5оС, время t= 10-15 мин |
|
|
03 |
Извлечь плату из тары для промывки, проконтролировать качество отмывки визуально и положить в тару |
Тара технологическая , тара для промывки |
|
|
|
150 |
Сушка платы |
Установка сушки |
|
120 |
|
01 |
Переложить плату из тары в поддон для сушки |
Тара технологическая, поддон для сушки |
|
|
|
02 |
Повторить переход 01 для всех плат |
|
|
|
|
03 |
Поместить поддон с платами в сушильный шкаф и выдержать при установленном режиме |
Поддон для сушки |
Температура Т°= 60±50С, время t= 10 мин |
|
|
04 |
Извлечь поддон с платами из сушильного шкафа, поставить на стол и выдержать при комнатной температуре |
Поддон для сушки |
Температура комнатная, время t= 10-15 мин |
|
|
05 |
Переложить плату из поддона для сушки в тару технологическую |
Поддон для сушки, тара технологическая |
|
|
|
160 |
Функциональный контроль ячейки |
Стенд контроля |
|
300 |
|
01 |
Извлечь ячейку из тары и установить в стенд для контроля |
Тара технологическая |
|
|
|
02 |
Проконтролировать функционирование ячейки согласно инструкции по контролю |
|
|
|
|
03 |
Извлечь ячейку из стенда и положить в тару |
Тара технологическая |
|
|
|
|
Сборка прибора |
|
|
|
|
170 |
Комплектование прибора |
Стол монтажный |
|
300 |
|
01 |
Извлечь из упаковочной тары компонент прибора и поместить его в тару технологическую |
Тара упаковочная, тара технологическая |
|
|
|
02 |
Повторить переход 01 для всех компонентов прибора |
|
|
|
|
180 |
Установка передней панели |
Стол монтажный |
|
30 |
|
01 |
Извлечь переднюю панель и основание корпуса из тары и установить на основание корпуса совместив с отверстиями в основании |
Тара технологическая |
|
|
|
02 |
Зафиксировать переднюю панель с помощью винтов |
Отвертка ручная |
|
|
|
03 |
Положить прибор в тару |
Тара технологическая |
|
|
|
190 |
Установка задней панели |
Стол монтажный |
|
30 |
|
01 |
Извлечь заднюю панель из тары и установить на основание корпуса совместив с отверстиями в основании |
Тара технологическая |
|
|
|
02 |
Зафиксировать заднюю панель с помощью винтов |
Отвертка ручная |
|
|
|
03 |
Положить прибор в тару |
Тара технологическая |
|
|
|
200 |
Установка электронных ячеек на основание корпуса |
Стол монтажный |
|
120 |
|
01 |
Извлечь прибор из тары |
Тара технологическая |
|
|
|
02 |
Извлечь ячейку электронную из тары, совместив с отверстиями в основании |
|
|
|
|
03 |
Закрепить ячейку с помощью винтов |
Отвертка ручная |
|
|
|
04 |
Повторить переходы 02-03 для остальных ячеек, монтируемых на основание |
|
|
|
|
210 |
Установка электронных ячеек на основную плату |
Стол монтажный |
|
30 |
|
01 |
Извлечь ячейку электронную из тары и вставить в основную плату |
Тара технологическая |
|
|
|
02 |
Повторить переход 01 для всех ячеек, монтируемых на основную плату |
|
|
|
|
220 |
Фиксация ячеек, установленных на основную плату |
Стол монтажный |
|
120 |
|
01 |
Извлечь компоненты для фиксации из тары |
Тара технологическая |
|
|
|
02 |
Зафиксировать ячейки с помощью винтов |
Отвертка ручная |
|
|
|
230 |
Монтаж проводов |
Стол монтажный |
|
300 |
|
01 |
Отмотать и отрезать провод длиной, указанной в чертеже |
Тара технологическая, линейка, приспособление для нарезки проводов |
|
|
|
02 |
Снять изоляцию и зачистить концы провода с двух сторон |
Острогубцы |
|
|
|
03 |
Облудить концы провода с двух сторон |
Ванна для лужения |
Припой ПОС-61 ГОСТ 21931-76, температура ванны Т°=260+200С |
|
|
04 |
Произвести монтаж проводов согласно электромонтажному чертежу |
|
|
|
|
05 |
Повторить переходы 1-4для всех проводов разъема |
|
|
|
|
240 |
Установка крышки прибора |
Стол монтажный |
|
30 |
|
01 |
Извлечь крышку прибора из тары и установить на основание корпуса, совместив с отверстиями в основании |
Тара технологическая |
|
|
|
02 |
Закрепить крышку прибора винтами |
Отвертка ручная |
|
|
|
250 |
Функциональный контроль |
Стенд контроля |
|
1200 |
|
01 |
Проконтролировать функционирование прибора согласно инструкции по контролю |
|
|
|
|
260 |
Маркировка |
Стол монтажный |
|
120 |
|
01 |
Извлечь табличку из тары |
Тара технологическая |
|
|
|
02 |
Нанести клей на табличку и приклеить на крышку корпуса прибора легким прижатием |
Кисть |
Клей ПУ-2 ОСТ 4ГО.029.204 |
|
|
03 |
Выдержать прибор на воздухе при комнатной температуре |
|
Температура комнатная, время t= 30 мин |
|
|
270 |
Упаковка |
Стол монтажный |
|
180 |
|
01 |
Извлечь прибор из тары и упаковать прибор в полиэтиленовый пакет |
Ножницы, тара технологическая |
Липкая лента |
|
|
02 |
Поместить полиэтиленовый пакет с прибором в упаковочную коробку |
|
|
|
|
03 |
Вложить сопроводительную документацию в упаковочную коробку |
|
|
|
|
04 |
Закрыть крышку упаковочной коробки и зафиксировать липкой лентой |
Ножницы |
Липкая лента |
|