Материал: Расчеты болтового и шпилечного соединения

Внимание! Если размещение файла нарушает Ваши авторские права, то обязательно сообщите нам

Правила нанесения размеров устанавливает ГОСТ 2.311-68.

. Размер длины резьбы с полным профилем (без сбега) на стержне и в отверстии указывают, как показано на рисунке 1.25 а и рисунке 1.26 а. Размер длины резьбы (со сбегом) указывают, как показано на рисунках 1.25 б и 1.27 б. При необходимости указания величины сбега на стержне размеры наносят, как показано на рисунке 1.25 в.

. Основную плоскость конической резьбы на стержне, при необходимости, указывают тонкой сплошной линией, как показано на рисунке 1.27.

Рис. 1.25 - Способы указания размера длины резьбы на стержне

Рис. 1.26 - Способы указания размера длины резьбы в отверстии

Рис. 1.27 - Положение основной плоскости наружной конической резьбы

Рис. 1.28 - Указание дополнительных данных резьбы с нестандартным профилем

. Резьбу с нестандартным профилем показывают одним из способов, изображённых на рисунке 1.28, со всеми необходимыми размерами. Кроме размеров и предельных отклонений резьбы, на чертеже указывают дополнительные данные о числе заходов, о левом направлении резьбы с добавлением слова «Резьба».

. Обозначение резьбы указывают по соответствующим стандартам на размеры и относят их для всех резьб, кроме конических и трубной цилиндрической, к наружному диаметру, как показано на рисунках 1.29 и 1.30.

Обозначения конической и трубной цилиндрической резьбы наносят, как показано на рисунке 1.31.

Рис. 1.29 - Варианты нанесения обозначений наружной резьбы

Рис. 1.30 - Варианты нанесения обозначений внутренней резьбы

Рис. 1.31 - Нанесение обозначений конической и трубной цилиндрической резьбы: Знаком * отмечены места нанесения обозначения резьбы

. Специальную резьбу со стандартным профилем обозначают сокращенно «Сп» и условным обозначением резьбы.

1.4 Стандартные и нестандартные резьбы

Для крепежных деталей применяют резьбу треугольного профиля с углом при вершине 60° или 55°, одноходовую, имеющую небольшой угол подъема винтовой линии.

На деталях с резьбой такого типа лучше удерживается гайка от самопроизвольного отвинчивания при толчках и сотрясениях работающей машины (свойство самоторможения).

Треугольные крепежные резьбы бывают метрические и дюймовые.

На трубах, деталях трубных соединений - гайках, тройниках, крестовинах, отводах, нарезают трубную цилиндрическую, имеющую также исходный треугольный профиль с углом у вершины 55°. В отличии от дюймовой резьбы эта резьба имеет более меньший шаг и тем самым меньшую высоту профиля резьбы, что позволяет применять ее на тонкостенных деталях.

Резьбы ходовые используют на ходовых винтах металлорежущих станков, прессов и многих других механизмов. Ходовые винты должны обеспечивать гайке возвратно-поступательное движение. Для этой цели применяют резьбы с большим углом подъема винтовой линии. Таким свойством обладают многоходовые резьбы (двух- и трехходовые) трапецеидального профиля.

У трапецеидальной резьбы зазор может быть устранен применением разрезных гаек. Резьбы упорные применяют обычно для восприятия больших усилий, действующих в одном направлении (прессы и др.). Ходовые резьбы применяют также для винтов, испытывающих в работе ударную нагрузку (рывки).

Резьбы прямоугольного профиля не стандартизированы, и их изготовление производится по чертежам ведомственных нормалей.

Резьбы применяют преимущественно правые, при использовании левых резьб к их обозначению добавляют «LH». Обозначения типов резьбы приведены в таблице 1.2, примеры обозначения типов резьбы показаны в таблице 1.3 (см. приложение).

2. Резьбовые соединения

Резьбовые соединения широко распространены в машиностроении и приборостроении. В большинстве современных машин свыше 60 % всех деталей имеют резьбу. По эксплуатационному назначению различают резьбы общего назначения и специальные. К резьбам общего назначения относятся крепежные, применяемые для разъемного соединения деталей машин; главное требование к ним - обеспечить прочность соединения и сохранить плотность стыка в процессе длительной эксплуатации.

Резьбовые соединения относятся к разъемным соединениям, удовлетворяющим следующим требованиям:

возможность многократной сборки и разборки изделий без их повреждения;

неизменность форм и размеров деталей после многократной сборки и разборки;

сохранение при повторных сборках и разборках точного и определенного взаимного расположения деталей и их поверхностей в пределах требований к конструкции;

сохранение взаимного расположения деталей после их соединения при работе в жестких условиях, таких, как вибрация и сотрясения.

2.1 Стандартные крепежные детали

Стандартные крепежные детали весьма разнообразны по форме, точности изготовления, материалу, покрытию. Их разделяют на детали общего назначения и специальные, предназначенные для применения в определенных видах изделий или в особых условиях.

Болты, винты, шпильки и шурупы, изготовленные из углеродистых и легированных сталей, характеризуют в обозначении одним из двенадцати классов прочности: 3.6; 4.6; 4.8; 5.6; 5.8; 6.6; 6.8; 6.9; 8.8; 10.9; 12.9; 14.9, где первое число, умноженное на 100 (10), даёт минимальное временное сопротивление в МПа (кгс/мм2); второе, умноженное на 10, даёт отношение предела текучести к временному сопротивлению в процентах; произведение чисел определяет предел текучести в МПа (кгс/мм2). В обозначениях пишут 36, 46 и т. д. (точку опускают). Чем больше число, тем прочнее сталь. Для гаек установлено 7 классов прочности: 4, 5, 6, 8, 10, 12, 14. Умножив эти числа на 100 (10), получают напряжение от испытываемой нагрузки в МПа (кгс/мм2).

Таким образом, число стандартов, определяющих форму, размеры, материал, покрытие и другие характеристики крепежных деталей, велико, причем каждый из них содержит соответствующие условные обозначения, ссылки на которые, помещаемые в конструкторскую документацию, должны быть точными.

Болт состоит из двух частей: головки и стержня с резьбой. В большинстве конструкций болтов на его головке имеется коническая фаска, сглаживающая острые края головки и облегчающая наложение гаечного ключа при свинчивании.

Головка болта может быть шестигранной (рис. 2.1, а), квадратной
(рис. 2.1, б), сферической (рис. 2.1, в), конической (рис. 2.1, г) и т. п.

Выпускаемые промышленностью болты различают:

• по форме и размерам головки;

• по форме стержня;

• по шагу резьбы;

• по характеру исполнения;

• по точности изготовления.

Форма и размеры головки болта зависят от назначения и условий работы.

Болты с шестигранными головками изготавливают нормальной, повышенной и грубой точности, отличающиеся классом чистоты поверхности резьбы, цилиндрического стержня и опорной плоскости головки (рис. 2.1).

Болты с полукруглыми (сферическими) и потайными (коническими) головками изготавливают грубой точности.

а)                                  б)                        в)                         г)

Рис. 2.1 - Формы головок болтов: а - шестигранная; б - квадратная; в - сферическая с квадратным подголовком; г - потайная с квадратным подголовком

Болты выполняют с метрической резьбой с крупным и мелким шагом, причем для каждого диаметра d резьбы предусмотрен стандартом лишь один мелкий шаг. Размеры берутся по ГОСТ 9150-81, ГОСТ 24705-81, ГОСТ 8724-81, а допуски резьбы - по ГОСТ 16093-81. Для болтов нормальной и повышенной точности изготовления поле допуска принимают 6g и 8g.

В таблице 2.1 (см. приложение) приведены наименования и номера стандартов болтов.

Винты ввинчиваются в отверстия с резьбой (в гнездо) одной из соединяемых деталей. Винты подразделяют на крепежные и установочные (нажимные, регулирующие и др.). Типы винтов и стандарты на них приведены в сокращенных вариантах в таблице 2.2 и таблице 2.3 (см. приложение).

Наибольшее применение в технике получили винты крепежные с цилиндрической головкой, используемые в соединениях всех видов: с шайбой или без нее, с утопленными или не утопленными головками (ГОСТ 1491-80), (рис. 2.2). Размеры винта берутся из соответствующих стандартов, а l рассчитывается в зависимости от толщины притягиваемой винтом детали, а затем выбирают ближайшее значение l из таблиц ГОСТ.

Рис. 2.2 - Винт с цилиндрической головкой

Не меньшее применение находят винты с потайной головкой (ГОСТ 17475-80), приведенные на рисунке 2.3 в двух исполнениях.

Рис. 2.3 - Винты с потайной головкой

У винтов с потайной головкой размер l включает высоту головки винта H. Аналогично l рассчитывают и у винта с полупотайной головкой (ГОСТ 17474-80), изображенного на рисунке 2.4. Винты с потайной головкой или полупотайной головкой применяют в тех случаях, когда толщина привертываемой детали позволяет утопить головку винта и когда по конструктивным соображениям необходимо, чтобы головки винта не выступали над поверхностью привертываемой детали. В тех случаях, когда толщина привертываемой детали недостаточна (меньше 0,6d) и утопить головку нельзя, вместо винтов с потайными и полу-потайными головками используют показанные на рисунке 2.5 в двух исполнениях винты с полукруглыми головками (ГОСТ 17473-80).

Рис. 2.4 - Винт с полупотайной головкой

Рис. 2.5 - Винты с полукруглой головкой:

Шурупы - это винты для скрепления деревянных и пластмассовых деталей, а также металлических - с ними. Шурупы имеют полукруглую, потайную или полупотайную головку и треугольную резьбу с конусным заострением на конце стержня. Потайная головка имеет вид усеченного конуса, а полупотайная - вид конуса с шаровым сегментом на его большом основании. Шурупы (винты для дерева) с шестигранной или квадратной головками называют «глухарями» (рис. 2.6). В таблице 2.4 (см. приложение) приведены выборочные номера стандартов на шурупы.

Рис. 2.6 - Шуруп с квадратной головкой (глухарь)

Шурупы изготавливают из углеродистых сталей (в обозначении не указывают); из коррозионных сталей (обозначают цифрой 2); из латуни (обозначают цифрой 3).

Шпилька от болта отличается тем, что у нее отсутствует головка и на обоих концах имеется резьба треугольного профиля, однозаходная, чаще - правая. Одним концом шпилька ввертывается в отверстие детали (этот конец шпильки называют посадочным), а на другой конец навертывается гайка (этот конец шпильки называют стяжным). Шпильки служат для соединения деталей в таких местах, где головки болтов по конструктивным соображениям нежелательны.

Соединение деталей шпилькой применяют вместо болтового соединения в случаях: а) недостатка места у деталей для размещения головки болта; б) большой разницы в толщине соединяемых деталей (когда одна из деталей имеет значительную толщину, и применять в этом случае слишком длинный болт неэкономично).

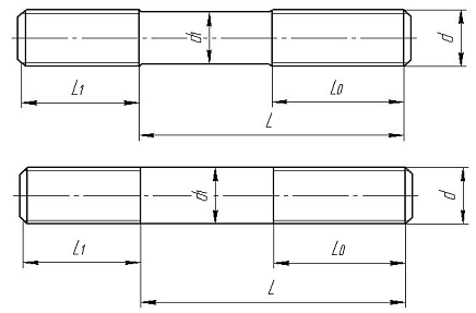
Шпильки выпускаются по ГОСТ 22032-76 - ГОСТ 22043-76 классов точности А и В с диаметром резьбы 2-48 мм и длиной 10-300 мм (рис. 2.8), где L - длина шпильки, указываемая в обозначении, L0 - длина гаечного конца (без сбега), L1 - длина резьбы, включая бег ввинчиваемого посадочного конца шпильки. При этом L1 = d для ввинчивания в резьбовые отверстия в деталях из стали, бронзы, латуни и титановых сплавов; L1 = 1,25∙d и 1,6∙d - в деталях из ковкого и серого чугуна; L1=2∙d и 2,5∙d - в деталях из легкого сплава.

Все стандарты на шпильки содержат только по одному исполнению. Допускается изготавливать шпильки с d1, приблизительно равным среднему диаметру резьбы d2 (рис. 2.8, б). В обозначении этих шпилек после слова «шпилька» ставят цифру 2.

При применении калиброванного проката поверхность гладкой части стержня d1 не обрабатывают. Размеры фасок берут по ГОСТ 10549-80.

Рис. 2.7

Рис. 2.8 - Шпилька и ее изображения на чертеже: а) стандартное исполнение шпильки; б) допустимое исполнение шпильки

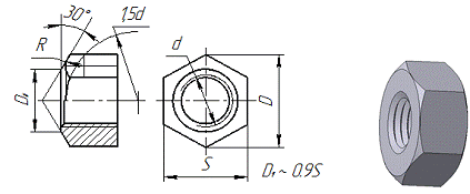
Основным типом являются шестигранные гайки нормальной высоты (рис. 2.9). Шестигранные гайки, выпускаются в одном, двух и трёх исполнениях (рис. 2.10); повышенной, нормальной и грубой точности (классов точности А, В и С); нормальной высоты; низкие, высокие и особо высокие (рис. 2.11); с нормальным или уменьшенным размером «под ключ»; с крупным или мелким шагом.

Рис. 2.9 - Изображение гайки на чертеже

Рис. 2.10 - Гайка и виды её исполнений

Рис. 2.11 - Разновидности гаек по высоте

Низкие гайки используют как контргайки для предотвращения самоотвинчивания. Высокие гайки служат для предотвращения износа резьбы при частом отвинчивании. Глухие гайки применяют в тех случаях, когда требуется изолировать конец стержня (ГОСТ 11860-85). Гайки с накаткой используют при частом отвинчивании вручную (ГОСТ 14742-69). Квадратные гайки применяют в конструкциях, в которых нельзя использовать шестигранные или круглые гайки, например в клеммной колодке, эти разновидности гаек определены соответствующим стандартом.

Наиболее часто употребляемые типы гаек показаны в таблице 2.5 (см. приложение).

2.2 Соединения деталей с помощью болтов, винтов и шпилек

При соединении деталей болтом, соединяемые детали имеют гладкие сквозные отверстия под болт (рис. 2.12).

Рис. 2.12 - Резьбовое соединение, в котором применены болт, гайка и шайба

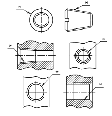
При соединении деталей винтами и шпильками гладкое сквозное отверстие выполняется в притягиваемой детали 1. В сопряженной с ней детали, участвующей в данном соединении, может быть резьбовое отверстие (рис. 2.13) или нерезьбовое отверстие с соответствующим конструктивным исполнением, например, с отверстием под головку винта (рис. 2.14). Эти конструктивные элементы называют опорными поверхностями.

Диаметры гладких отверстий больше диаметра стержня крепежной детали, что позволяет ей свободно пройти через отверстие.

Рис. 2.13 - Резьбовое соединение с применением: а) винта; б) шпильки, гайки и шайбы

В случае, когда по условиям конструкции узла номинальные размеры диаметра отверстия и диаметра стержня болта равны, т. е. в соединении без зазора, необходимо устранить контакт кромки отверстия с галтелью под головкой болта или винта, как это показано на рисунке 2.15. Размеры такого соединения регламентированы ГОСТ 24670-81. Размеры сквозных квадратных и продолговатых отверстий регламентированы ГОСТ 16030-70.