Материал: Расчет производственно–отопительной котельной с котлами ДКВР 20–13

Внимание! Если размещение файла нарушает Ваши авторские права, то обязательно сообщите нам

Расстояние от верхней рабочей площадки, предназначенной для обслуживания котлов или экономайзеров, до нижних конструктивных частей покрытия котельной составляет более 2 м, расстояние до наивысшей рабочей площадки - 10 м.

Деаэраторный бак расположен на уровне, превышающем на 7 м уровень установки питательных насосов, с таким расчетом, чтобы последние всегда находились под заливом. Дымовая труба отстоит от стены здания котельной на расстоянии 8,4 м до центра трубы, с внутренним диаметром 2,085 м.

С левого торца здания между осями Г и Д к зданию котельной примыкает канал с тепловой камерой, в которых проходят трубопроводы Т1 и Т2. Подающий трубопровод связан с 2-мя сетевыми насосами, расположенными на первом этаже. Трубопроводы Т1 и Т2 подключены к 3-ем последовательным сетевым теплообменникам на втором этаже.

Расположение оборудования в котельной запроектировано максимально безопасным и простым для эксплуатации и имеется несложная схема коммуникаций трубопроводов.

4. Тепловая схема котельной и ее описание

Тепловая схема представляет собой графическое изображение основного и вспомогательного оборудования тепловых станций, объединяемого линиями трубопроводов для транспорта теплоносителей в виде пара и воды.

Холодная вода из водопровода (В3) насосами сырой воды попадает в пароводяной теплообменник, где нагревается до 25оС. Далее эта вода проходит химводоподготовку (происходит умягчение воды путем замены катионов магния и кальция на катионы натрия). Затем умягченная вода (В6) попадает в водо-водяной теплообменник, где нагревается до 36оС, после чего направляется в охладитель выпара, где прогревается до 39оС. После охладителя выпара нагретая вода (В14) идет в деаэрированную колонку, затем в бак-аккумулятор и далее (В29) с помощью питательных насосов (В29Н) поступает в котлы. Питательные насосы предназначены для обеспечения подачи воды в барабанные паровые котлы. Паровой насос используется в качестве резервного. Насосы поршневые паровые работают на насыщенном или перегретом паре, его температура не превышает 300°С. Насосы такого типа обладают способностью бесступенчато регулировать показатели подачи и давления на выходе в интервале от 25 до 100% их основной величины. Происходит это благодаря изменению давления пара на входе в насос.

Насыщенный пар (Т97) из котла с давлением 14 ата попадает в редуктор, где его давление снижается до 7 ата, этот пар (Т92) идет к сетевым теплообменникам. Пар нагревает холодную воду в пароводяном теплообменнике. Образуется конденсат (Т81Н), после чего поступает в деаэратор.

С другой стороны пароводяной теплообменник подключен к сети Т1 и Т2. Охлажденный теплоноситель нагреваясь в теплообменниках становится Т1 и сетевыми насосами нагнетается потребителю.

Часть пара с давлением 14 ата используется для работы парового насоса. Чтобы лучше утилизировать тепло непрерывной продувки используются сепараторы непрерывной продувки. Продувочная вода, проходя через водо-водяной теплообменник, охлаждается до 40оС. Пар образуется в сепараторе непрерывной продувки за счет снижения давления и используется для подогрева воды в деаэраторе.

Выходя из деаэратора, пар (Е0) нагревает воду в охладителе выпара. В колонке деаэратора смешивается три водяных потока при средней температуре 80оС. Тепловая схема представлена на листе 2 графической части.

5. Расчет количества котлов по тепловой нагрузке

Нагрузка котельной по пару в общем случае определяется как сумма технологической нагрузки QТ, нагрузки на отопление, вентиляцию и горячее водоснабжение QОВ и Г В, нагрузки на собственные нужды Qсн и потери пара в котельной Qп.

К=Q Т+Q ОВ И ГВ+QС Н +QП, т/ч. (2)

Так как в котельной нет котельных агрегатов, работающих на ОВ и ГВ, то QОВ и Г В=0.

Расход пара на собственные нужды составит:

 (3)СН=0,05·90=4,5 т/ч.

Потери в котельной определяют по формуле:

 (4)

 т/ч;к=90+4,5+2,84=97,34 т/ч.

Количество котлов определяем по формуле:

 шт; (5)

 шт.

6. Деаэрация воды. Расчет и подбор бака-аккумулятора и деаэраторной колонки

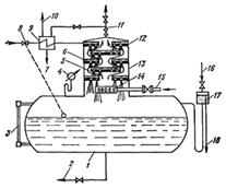
Деаэраторный бак представляет собой горизонтальный сосуд цилиндрической формы, устанавливаемый на двух катковых опорах со средним неподвижным упором между ними. Деаэраторные баки предназначены в основном для аккумулирования запаса питательной воды. Кроме того, в деаэраторном баке заканчивается процесс дегазации воды, то есть осуществляется выделение дисперсных газов и разложение бикарбонатов. Вода, поступающая в деаэратор на обработку, и возвращаемый потребителями конденсат могут содержать растворенные в них газы: кислород, двуокись углерода и др. Эти газы вызывают развитие химической коррозии питательных трубопроводов, поверхностей нагрева котла, что снижает надежность его работы. Кроме того, продукты коррозии, попадая с питательной водой в котлы, способствуют нарушению циркуляции, что приводит к пережогу труб котельного агрегата.

В котельной применяется термический способ деаэрации.

Деаэратор установлен для удаления из воды, поступающей в котельные установки и системы теплоснабжения, растворенных коррозионно-активных газов - кислорода и свободной углекислоты. Эти газы вызывают коррозию поверхности нагрева и трубопроводов котельных и тепловых систем.

Деаэрация воды основана на повышении ее температуры до кипения, при которой происходит выпаривание газов.

В котельной установлен атмосферный деаэратор с рабочим давлением 0,12 МПа на отметке 7,200 м.

Т.к. в атмосферном деаэраторе (рис.2) поддерживается давление несколько выше атмосферного, кипение воды происходит за счет нагрева воды паром до температуры 104°С, поступающим в колонку деаэратора. В данном проекте принят деаэратор ДА-300/75. На рисунке 3 приведена схема атмосферного деаэратора смешивающего типа.

Рис. 2. Деаэратор атмосферный: общий вид.

Рис. 3. Деаэратор атмосферный: 1 - бак (аккумулятор), 2 - выпуск питательной воды из бака, 3 - водоуказательное стекло, 4 - манометр, 5, 6 и 12 - тарелки, 7 - спуск воды в дренажный бак, 8 - автоматический регулятор подачи химически очищенной воды, 9 - охладитель пара, 10 - выпуск пара в атмосферу, 11 и 15 - трубы, 13 - деаэраторная колонка, 14 - парораспределитель, 16 - впуск воды в гидравлический затвор, 17 - гидравлический затвор, 18 - выпуск лишней воды из гидравлического затвора.

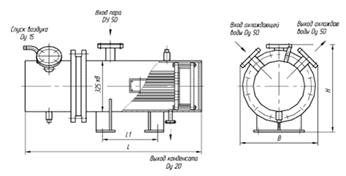
Водяной пар и неконденсирующиеся газы после деаэратора направляются в теплообменник-охладитель выпара ОВА - 8 с поверхностью теплообмена 8 м2, (ширина 516 мм, длина 2860 мм, высота 580 мм) для утилизации теплоты. Выпар в атмосферном деаэраторе вытесняется в охладитель выпара избыточным давлением. Охладитель данного типа прост и удобен в эксплуатации. Установка охладителя выпара над деаэрационными колонками, на высоте, обеспечивающей самотечный слив конденсата выпара в верхнюю часть колонок, обеспечивает надежный и полный возврат охлажденного исходной водой выпара в колонку деаэратора, и предотвращает унос ценного теплоносителя по трубопроводу отвода неконденсирующихся газов в атмосферу.

Рис. 4. Охладитель выпара ОВА-8 с поверхностью нагрева 8 м2.

6.1 Расчет и подбор бака-аккумулятора и деаэраторной колонки

Необходимый объем бака - аккумулятора вычисляется по формуле:

 (6)

где 0,5 - коэффициент, учитывающий запас деаэрированной воды в баке - аккумуляторе на 30 мин;

,1 и 0,85 - коэффициенты, соответственно учитывающие расход воды на продувку и заполнение бака-аккумулятора;- максимальная производительность 1 котла т/час;к - число работающих котлов в котельной;д - количество принимаемых деаэраторов.


Устанавливаем два деаэратора типа ДА-300/75 с характеристиками: Р=0,12 МПа, tводы=104,25оС, производительность номинальная 300 т/ч, полезный объем бака 75 м3/ч, габаритные размеры (бак с колонкой):

длина 12500 мм;

высота 5770 мм.

Технические характеристики деаэрационной колонки КДА-100: рабочее давление 0,12 МПа, температура воды 104,25оС, габаритные размеры: диаметр - 1800 мм, высота 2750 мм.

Технические характеристики деаэраторного бака БДА-75: полезная вместимость 75 м3/ч, общая вместимость 84,2 м3/ч, рабочее давление 0,2 МПа, температура воды 104,25оС.

7. Работа натрий-катионитовых фильтров

Фильтр 1-ой ступени предназначен для умягчения исходной воды.

Фильтр 2-ой ступени используются на водоподготовительных установках котельных и предназначены для глубокого умягчения исходной воды, а также улавливания проскоков солей жесткости после первой ступени обработки. Цикл работы фильтра состоит из следующих операций: умягчение, взрыхление, регенерация, отмывка.

Умягчение происходит следующим образом: вода, прошедшая обработку на Nа-катионитных фильтрах первой ступени, под давлением 0,6 МПа поступает в Nа-катионитный фильтр второй ступени и проходит через слой зернистого ионообменного материала в направлении сверху вниз. При этом катионит поглощает из воды ионы Cа2+ и Мg2+, обусловливающие ее жесткость, и заменяет их эквивалентным количеством ионов Na+.

Взрыхление предназначено для устранения уплотнения ионообменного материала, препятствующего свободному доступу регенерационного раствора к его зернам.

Регенерация катионита для обогащения его ионами Nа+ производится 5-8%-ным раствором NaCl.

Отмывка ионообменного материала от регенерационного раствора и продуктов регенерации происходит в направлении сверху вниз.

Преимущества метода:

значительное снижение сточных вод с выделением ионов жесткости в виде твердого осадка, удобного для утилизации,

резкое снижение расхода поваренной соли,

использование доступных реагентов,

реализация процесса при использовании стандартного оборудования.

При использовании данных фильтров в схемах глубокого обессоливания из воды удаляются практически все катионы и анионы, за исключением кремниевой кислоты, а при использовании в схемах полного химического обессоливания удаляется и кремниевая кислота. Рабочий цикл фильтра заканчивается при проскоке катионов натрия в фильтрат.

Рис. 5. Схема фильтра Схема подключения

В данном проекте представлен фильтр типа ФИПа II-1,4-0,6-Na, характеристики представлены в таблице 2.

Таблица 2

Типоразмер

Рабочее давление, МПа

Условный диаметр фильтра, мм

Высота фильтрующей загрузки, мм, не более

Произв., м3/ч

Масса в объеме комплекта, кг

1

2

3

4

5

6

ФИПа II-1,4-0,6- Na

0,6

1 424

1 500

92

1 562



8. Аэродинамический расчет котлоагрегата

8.1 Расчет газового сопротивления

Таблица 3

№п/п

Наименование величины

Обозначение

Расчетная формула или способ определения

Размерность

Величина

1

2

3

4

5

6

1

Разрежение в топочной камере

Принимается в зависимости от вида топлива и типа топки по приложению ХI [10].мм.вод. ст.

2



2                Сопротивление котла    

где: D - паропроизводительность котла, кг/час;П- поверхность нагрева котла, включая топочные экраны, пароперегреватель и конвективные пучки,;значения HП принимаются по приложению ХII [10];

αух - коэффициент избытка воздуха за водяным экономайзером (воздухоподогревателем) (из теплового расчета).мм.вод. ст.19,5




3                Сопротивление водяного экономайзера   ;

где: z2 - число рядов труб экономайзера (из теплового расчета);

ωг - средняя скорость газов в экономайзере (из теплового расчета);

γг - средний удельный вес газов при средней температуре газов θср, кг/м3;

θср - средняя температура газов (из теплового расчета);

γг0 - удельный вес газов при нормальных условиях, равный 1,34 ;

мм.вод. ст.6,24




4                Сопротивление трубчатого воздухоподогревателя (с газовой стороны)     ;

где:  - средняя скорость газов (из теплового расчета), м/с;

lср - средняя длина труб, м. мм.вод. ст.-




5                Сопротивление борова   ;

где: lб - длина борова, м; принимается в зависимости от количества котлов и вида топлива ориентировочно по приложению XIII [10] мм.вод. ст.2,88




6                Сопротивление шиберов               ;

где: n - число шиберов, принимаемое при сжигании газа (мазута) равным 4 для твердых топлив-6.0,1-1,5 мм вод. ст .-сопротивление одного шибера.мм.вод. ст.12




 

7

Сопротивление золоулавливающего устройства

Принимаем ориентировочно для батарейных циклонов 35-50мм вод. ст. (приложение XI [10] )мм.вод. ст.40