Материал: Производство полуводного гипса

Внимание! Если размещение файла нарушает Ваши авторские права, то обязательно сообщите нам

Производство полуводного гипса

ВВЕДЕНИЕ

полуводный гипс вяжущий

Высокого уровня достигла промышленность известковых и гипсовых вяжущих веществ, объединяющая современные высокомеханизированные крупные предприятия.

Общеизвестны труды А.А. Вайкова (1870-1946), разработавшего теорию твердения вяжущих веществ и осуществившего крупные исследования в области сульфатостойких и других цементов.

В.Ф. Журавлев впервые установил периодичность вяжущих свойств силикатов, алюминатов, ферритов и других соединений металлов II группы периодической системы элементов Д.И. Менделеева в зависимости от их положения в четном и нечетном ряду.

П.А. Ребиндер (1898-1974) развил теорию кристаллизационного структурообразования при твердении вяжущих веществ, предложил метод его регулирования с помощью поверхностно-активных веществ.

С.Д. Окороков (1901-1981) свои многочисленные исследования посвятил классификации цементов по их минеральному составу, экзотермии отдельных минералов, легированию клинкеров малыми добавками различных веществ, созданию малотермичных цементов, в частности для гидротехнического строительства.

И.Ф. Пономарев (1882-1982) известен многими теоретическими исследованиями в области силикатов и технологии цементов, огнеупоров, автоклавных материалов.

Завод будет строиться в Донецкой области, вблизи города Макеевка. Расположение завода очень удачное, так как рядом находится гипсовый карьер, Восточно-Михайловского месторождение. Завод будет строиться с целью производства высококачественного гипса.

1. ГИПСОВЫЕ ВЯЖУЩИЕ ВЕЩЕСТВА


Эти вяжущие наиболее эффективны в технико-экономическом отношении, особенно по удельным затратам сырья, топлива, электроэнергии и труда на единицу продукта. Неограниченны и запасы исходного природного сырья, а также побочных гипсосодержащих материалов, образующихся на предприятиях химической промышленности.

Гипсовыми вяжущими веществами называют порошковидные материалы, состоящие из полуводного гипса и получаемые обычно тепловой обработкой двуводиого гипса в пределах 105-200 °С.

При термообработке двуводиого гипса в паровой среде под давлением в автоклавах или в водных растворах некоторых солей при атмосферном давлении образуется а-полуводный сульфат кальция (гипсовое вяжущее а). При обжиге сырья при .140-180°С получают р-полуводный сульфат кальция (гипсовое вяжущее р). К группе гипсовых относится также вяжущее, получаемое без термообработки тонким измельчением двуводиого гипса с активизаторами твердения.

Ангидритовые вяжущие- изготовляют обжигом двуводиого гипса при 600-950 °С. Они почти целиком состоят из ангидрита -безводного сульфата кальция CaS04. Различают низкообжиговое ангидритовое вяжущее (ангидритовый цемент П.П. Будникова), получаемое обжигом двугидрата при 600-750 °С, и высокообжиговое, получаемое обжигом при 800-950 °С, и иногда называемое эстрихгипсом. Ангидритовое вяжущее можно производить без термообработки тонким измельчением природного ангидрита с добавкой активизаторов твердения.

Гипсовые вяжущие- по традиции с некоторой условностью, отвечающей практическим целям, разделяют на: строительный гипс, состоящий из р-модификации полугидрата; формовочный гипс того же состава с повышенными техническими свойствами; технический (высокопрочный) гипс, состоящий из а-полуводного гипса.

Свойства всех разновидностей гипсовых вяжущих, содержащих как а-, так и (3-модификации полугидрата сульфата кальция, а также методы их определения регламентируются ГОСТ 125-79 «Вяжущие гипсовые. Технические условия» и ГОСТ 23789-79 «Вяжущие гипсовые. Методы испытаний».

Для производства гипсовых и ангидритовых вяжущих веществ в качестве сырья применяют природные двуводный гипс, ангидрит, глиногипс, а также отходы промышленности, состоящие в основном из двуводного или безводного (а иногда и полуводного) сернокислого кальция или их смеси (фосфогипс, борогипс, фторогипс и др.).

Природный двуводный гипс - горная порода осадочного происхождения, сложенная в основном из крупных или мелких кристаллов сернокислого кальция CaSO*2O.

Плотные образования гипса называют гипсовым камнем. По внешнему виду и строению горной породы различают кристаллический прозрачный гипс, гипсовый шпат, тонковолокнистый гипс с шелковистым отливом (селенит) и зернистый гипс. Наиболее чистую разновидность зернистого гипса, напоминающую по внешнему виду мрамор, иногда называют алебастром.

Гипсовые породы содержат обычно некоторое количество примесей глины, песка, известняка, битуминозных веществ и др.

Чистый гипс белого цвета, примеси придают ему различные оттенки: оксиды железа окрашивают его в желтовато-бурые цвета, органические примеси -в серые и т.д. Небольшое количество примесей, равномерно распределенных в гипсе, заметно не ухудшает качество вяжущих. Вредное влияние оказывают крупные включения.

По ГОСТ 4013-82 гипсовый камень для производства гипсовых вяжущих веществ должен содержать не менее 95 % двуводного гипса в сырье 1-го сорта, не менее 90 % в сырье 2-го сорта и не менее 80 и 70 % в сырье 3-и 4-го сортов. В гипсовых породах лучших месторождений обычно содержится до 2-5% примесей, но часто их количество достигает 10-15 % и более.

Средняя плотность гипсового камня зависит от количества и вида примесей и составляет 2,2-2,4 г/см'3,

Насыпная плотность гипсовой щебенки 1200--1400 кг/м3, влажность колеблется в значительных пределах (3-5 % и более). Содержание воды в различных партиях гипсового камня неодинаково и зависит от его физических свойств, относительной влажности воздуха, времени года и условий хранения.

Природный ангидрит - горная порода осадочного происхождения, состоящая преимущественно из минерала-безводного сернокислого кальция CaSCV Залежи ангидрита обычно подстилают слой двуводного гипса. Под действием грунтовых вод ангидрит медленно гидра-тируется и переходит в двуводный гипс. Поэтому в природе ангидрит редко состоит из одного безводного сернокислого кальция и обычно содержит до 5-10 % и более двуводного гипса.

Ангидрит - порода более плотная и прочная, чем двуводный гипс. Его истинная плотность достигает 2,9- 3,1 г/см3. Чистый ангидрит белого цвета, и о в зависимости от примесей он, как и гипс, имеет различные оттенки. В природе ангидрит встречается реже чем двуводный гипс.

Области применения. Гипсовые вяжущие применяют главным образом для производства гипсовой сухой штукатурки, перегородочных плит и панелей, элементов заполнения междуэтажных и чердачных перекрытий зданий, вентиляционных коробов и других деталей, используемых в конструкциях зданий и сооружений при относительной влажности воздуха не более 60%. Из гипса изготовляют разнообразные архитектурные, 'огнезащитные, звукопоглощающие и тому подобные изделия. Из р-гипса выполняют стеновые камни, панели и блоки, используемые при возведении наружных стен малоэтажных домов, а также зданий хозяйственного назначения.

2. ТЕХНОЛОГИЧЕСКАЯ ЧАСТЬ

.1 Характеристика

Рассматриваемые виды полуводного гипса по своим основным свойствам во многом одинаковы. Главное различие состоит преимущественно в показателях прочности. Все определения свойств гипсовых вяжущих производятся по ГОСТ 23789-79.

Истинная плотность этих разновидностей колеблется в пределах 2,6-2,75 г/см3. Насыпная плотность в рыхлом состоянии обычно составляет 800-1100, в уплотненном-1250-1450 кг/м3.

По ГОСТ 125-79 дисперсность гипсовых вяжущих, зависящая от степени измельчения при помоле и влияющая на водопотребность материала, прочность и некоторые другие свойства, оценивается по остатку на сите с размерами ячеек, в свету 0,2 мм (в % по массе от просеиваемой пробы). При этом различают следующие виды: грубый помол (индекс I), остаток на сите не более 23%; средний помол (индекс II) - 14%; тонкий помол (индекс III) - 2 %.

Гипс с индексом III, а также гипс высшей категории качества должны характеризоваться по удельной поверхности порошка, устанавливаемой на приборе АДП-1 (ПСХ-2) в соответствии с ГОСТ 23789-79.

Водопотребность. Теоретически для гидратации полуводного гипса с образованием двуводного необходимо 18,6 % воды по массе вяжущего вещества. Практически же для получения теста стандартной консистенции по ГОСТ 23789-79 (нормальная густота) для (3-полугидра-та требуется 50-70 % воды, а для а-полугидрата - 35- 45 %• Стандартной консистенции соответствует расплыв массы до диаметра 180±5 мм.

Затвердевший гипс представляет собой твердое тело с высокой пористостью, достигающей 40-60 % и более. Естественно, что с увеличением количества воды затво-рения пористость гипсового изделия возрастает, а прочность уменьшается.

Сроки схватывания гипса зависят от свойств сырья, технологии изготовления, длительности хранения, количества вводимой воды, температуры вяжущего вещества и воды, условий перемешивания, наличия добавок и др. Быстрее всех схватывается полуводный гипс, содержащий некоторое количество частичек неразложившегося двугидрата, являющихся центрами кристаллизации и вызывающих ускоренную гидратацию полуводного гипса. Схватывание гипса значительно ускоряется при за-творении его пониженным количеством воды по сравнению с тем, какое требуется для теста нормальной густоты, и наоборот.

Повышение температуры гипсового теста до 40-, 46 °С способствует ускорению его схватывания, а выше этого предела, наоборот, - замедлению. При температуре гипсовой массы 90-100°С схватывание и твердение прекращаются. Это объясняется тем, что при указанных и более высоких температурах растворимость полуводного гипса в воде становится меньше растворимости двугидрата. В результате прекращается переход полугидрата в двугидрат, а следовательно, и связанное с ним твердение. Схватывание замедляется, если гипс применяют в смеси с заполнителями - песком, шлаком, опилками и т. д.

Быстрое схватывание полуводного гипса является в большинстве случаев положительным его свойством, позволяющим быстро извлекать изделия из форм. Однако в ряде случаев быстрое схватывание нежелательно. Для регулирования сроков схватывания (ускорения и замедления) в гипс при затворении вводят различные добавки.

Прочность гипсовых вяжущих . По ГОСТ 125-79 прочность (3- и а-полу-водного гипса определяют испытанием образцов-балочек размером 4X4X16 см из гипсового теста стандартной консистенции (нормальной густоты). Балочки испытывают через 2 ч после изготовления на изгиб, а их половинки - на сжатие, определяют в соответствии с требованиями ГОСТ 23789-79. Для этих вяжущих применяется условное обозначение с учетом их марки по прочности, сроков схватывания и дисперсности, например Г-5АП -- гипс прочностью 5 МПа, быстротвердеющий (А), среднего помола (индекс II).

Прочность затвердевшего гипса в большой мере зависит от того количества воды, которое было взято при его затворении (водогипсовое отношение). По данным А.Г. Панютина, уменьшение водогипсового отношения с 0,7 до 0,4 позволяет увеличить прочность изделий из строительного гипса в 2,5-3 раза.

Прочность полуводного гипса при осевом растяжении в 6-9 раз меньше прочности при сжатии. Изделия из а- и р-полугидрата, изготовленные при одинаковом водо-гипсовом отношении, имеют близкие значения прочности.

Прочность на сжатие затвердевшего гипсового вяжущего и изделий из него в большой степени зависит от их влажности. В частности, даже сорбционное увлажнение до 0,5-1 % сухого гипсового образца, находящегося в воздухе с относительным содержанием паров воды 80- 100 %, снижает его прочность до 60-70 % прочности в высушенном состоянии. Дальнейшее влагонасыщение образна до 10-15 % уменьшает прочность примерно до 50 %, а полное водонасыщение - до 35-40 % прочности в высушенном состоянии. Это относится к образцам, изготовленным с водогипсовым отношением 0,5-0,7. Прочность образцов, более плотных, полученных при пониженных водогипсовых отношениях, при увлажнении снижается несколько меньше.

Способность строительного гипса расширяться зависит от содержания в нем растворимого ангидрита. Установлено, что полугидрат расширяется при твердении на 0,5-0,15%, а растворимый ангидрит - на 0,7-0,8%. Поэтому гипс, обожженный при повышенных температурах и содержащий повышенное количество растворимого ангидрита, характеризуется большим расширением при твердении. Для уменьшения расширения в гипс при помоле вводят до 1 % негашеной извести, что снижает коэффициент расширения при твердении с 0,3 до 0,08- 0,1 %. Расширение гипса уменьшается с увеличением содержания в тесте воды, а также при введении в него замедлителей схватывания.

После первоначального расширения, как показывают опыты В. В. Помазкова, гипсовые изделия при последующем высыхании дают усадку в размере около 0,05- ОД % в результате уменьшения влажности с 5-10 до 1-2 %. Такая усадка при изготовлении крупноразмерных изделий сопровождается значительными напряжениями, что может вызвать уменьшение прочности и даже появление трещин. Для уменьшения усадки целесообразно применять гипс в смеси с минеральными заполнителями в виде гипсобетона.

Ползучесть гипсовых изделий значительно уменьшается при введении в него портландцемента совместно с пуццолановыми (гидравлическими) добавками.

Долговечность. Изделия из р- и а-полуводного гипса характеризуются большой долговечностью при службе их в воздушно-сухой среде. При длительном воздействии воды, особенно при низких температурах, когда изделия в водоиасыщенном состоянии систематически то замерзают, то оттаивают, они разрушаются.

Гипсовые изделия выдерживают обычно 15-20 и более циклов замораживания и оттаивания. Водостойкость изделий можно несколько повысить: применением интенсивных способов уплотнения гипсобетонных смесей при формовании; введением в гипс и изделия из него небольшого количества синтетических смол, кремнийорганических соединений и др.; нанесением покровных пленок или пропитыванием изделий растворами синтетических смол, гидрофобными веществами, баритовым молоком и т. п. Наиболее же эффективным оказалось применение смешанных вяжущих, представляющих собой композиции из полуводного гипса, портландцемента или доменных гранулированных шлаков и пуццолановых добавок.

Гипсовые изделия огнестойки. Они прогреваются относительно медленно и разрушаются лишь после 6-8 ч нагрева, т. е. при такой продолжительности пожара, которая маловероятна. Поэтому гипсовые изделия часто рекомендуют в качестве огнезащитных покрытий.

Стальная арматура в гипсовых изделиях в условиях нейтральной среды (рН = 6,5...7,5), особенно при значимой их пористости, подвергается интенсивной коррозии. Коррозия предотвращается при покрытии стали обмазками: цементно-битумной, цемеитно-полистиролыюй и др. Более надежно предварительно подвергать сталь металлизации цинком или алюминием, а затем покрывать указанными обмазками.

.2 Выбор способов производства и разработка технологической схемы

Основные способы производства строительного гипса, применяемые в настоящее врумя, можно разделить на следующие три групы, характеризующиеся:

)        Предварительной сушкой и измельчением сырья в порошок с последующей дегидратацией гипса (обжиг гипса в гипсоварочных котлах);







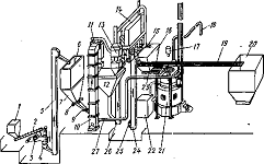
Рис. 2. Схема производства строительного гипса с применением варочных котлов

1-приемный бункер гипсового камня; 2- пластинчатый питатель; 3- ще- ковая дробилка; 4 - молотковая дробилка; 5 - элеватор; 6 - бункер дробленого гипса; 7 - вибратор для предупреждения зависания материала в бункере; 8 - реечный затвор; 9 - тарельчатый питатель; 10- шахтная мельница;