Материал: Производство херни

Внимание! Если размещение файла нарушает Ваши авторские права, то обязательно сообщите нам

2. Производство аммиака

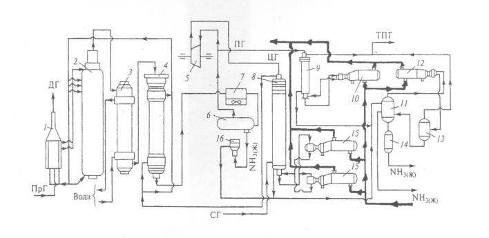
При синтезе аммиака в агрегате мощностью 1360 т/сутки свежая азотоводородная смесь (СГ) после очистки метанированием сжимается в центробежном компрессоре до давления 32 МПа и после охлаждения в воздушном холодильнике (на схеме не показан) поступает в нижнюю часть конденсационной колонны 8 для очистки от остаточных примесей СО2, воды и следов масла. Свежий газ (СГ) барботирует через слой сконденсировшегося жидкого аммиака,

освобождается от водяных паров и СО2 и масла, насыщается аммиаком до 3 = 5 % и

смешивается с циркуляционным газом (ЦГ).

Полученная смесь проходит по трубкам теплообменника конденсационной колонны 8 в направляется в межтрубное пространство выносного теплообменника 4,

где нагревается до 185 -195 0С теплотой газа, выходящего из колонны синтеза 2. Для дополнительного нагрева газа, поступающего в колонну синтеза 2, может использоваться подогреватель газа 1.

В колонне синтеза 2 газ проходит снизу вверх по кольцевой щели между корпусом колонны и кожухом насадки и поступает в межтрубное пространство внутреннего теплообменника, размещенного в горловине корпуса колонны синтеза.

В теплообменнике циркуляционный газ нагревается до температуры зажигания катализатора 400-440 С теплотой конвертированного газа и затем последовательно проходит четыре слоя катализатора, в результате чего концентрация аммиака в газе повышается до 15 %. Пройдя через центральную трубу, при температуре 500-5150С

азотовородноаммиачная смесь направляется во внутренний теплообменник, где охлаждается до 300 С.

Дальнейшее охлаждение газовой смеси до 25 0С происходит в трубном подогревателе подогревателя питательной воды 3, в трубном пространстве выносного теплообменника 4 до 65 С холодным циркулирующим газом, идущим по межтрубному пространству, и затем в аппаратах воздушного охлаждения 7 до 40 С,

при этом часть аммиака конденсируется. Жидкий аммиак, сконденсировавшийся при охлаждении, отделяется в сепараторе 6, а затем смесь, содержащая 10-12 %

аммиака, идет на циркуляционное колесо компрессора 5 азотоводородной смеси, где сжимается до 32 МПа.

6

Циркуляционный газ при температуре 50 0С поступает в систему вторичной конденсации жидкого аммиака, включающую в себя конденсационную колонну 8 и

испарители жидкого аммиака 15. В конденсационной колонне газ охлаждается до

18 0С и в испарителях вследствие кипения жидкого аммиака в межтрубном пространстве до – 5 0С. Из трубного пространства испарителей смесь охлажденного циркуляционного газа и сконденсировавшегося аммиака поступает в сепарационную часть конденсационной колонны, где и происходит отделение жидкого аммиака от газа и смешение свежей азотоводородной смеси с циркуляционным газом.

Далее газовая смесь проходит корзину с фарфоровыми кольцами Рашига, где отделяется от капель жидкого аммиака, поднимается по трубкам теплообменника и направляется в выносной теплообменник 4, а затем в колонну синтеза аммиака 2.

Жидкий аммиак из первичного сепаратора 6 проходит магнитный фильтр 16, где из него выделяется катализаторная пыль, и смешивается с жидким аммиаком из конденсационной колонны 8. Затем его дросселируют до давления 4 МПа и отводят в сборник жидкого аммиака 11.

Жидкий аммиак как продукт выводится частично непосредственно из сборника 11, частично через промежуточную дренажную емкость 14. В результате дросселирования жидкого аммиака до 4 МПа происходит выделение из него растворенных в нем газов – водорода, азота, кислорода и метана. Эти газы,

называемые танковыми, содержат 16-18 % аммиака и направляются в испаритель 12

для утилизации аммиака конденсацией его при минус 250С. Из испарителя танковые газы и сконденсировавшийся аммиак поступают в сепаратор 13 для отделения жидкого аммиака, направляемого в сборник жидкого аммиака. 11.

Для поддержания в циркуляционном газе постоянного содержания инертных газов, не превышающих10 %, проводят продувку газа после первичной конденсации аммиака (после сепаратора 6). Продувочные газы содержат 8-9 % аммиака, который выделяется при температуре минус 25-30 0С в конденсационной колонне 9 и

испарителе 10 продувочных газов.

Смесь танковых и продувочных газов после выделения аммиака используют как топливный газ.

7

Рис.5. Технологическая схема получения аммиака при давлении 32 МПа:

1 – подогреватель газа; 2 – колонна синтеза аммиака; 3 =- подогреватель воды; 4 – выносной теплообменник: 5 – циркуляционное колесо компрессора; 6 – сепаратор жидкого аммиака; 7 – блок аппаратов воздушного охлаждения; 8 – конденсационная колонна; 9 – конденсационная колонна продувочных газов; 10 – испаритель жидкого аммиака на линии продувочных газов; 11 – сборник жидкого аммиака; 12 – испаритель жидкого аммиака на линии танковых газов: 13 – сепаратор; 14 – промежуточная дренажная емкость; 15 – испарители жидкого аммиака; 16 – магнитный фильтр;

ПрГ – природный газ; ДГ – дымовой газ; ПГ – продувочный газ; СГ – свежий газ (азотоводородная смесь); ЦГ – циркуляционный газ; ТПГ – смесь танковых и продувочных газов;

8

Основные аппараты производства аммиака

Рис.6 . Колонна синтеза аммиака:

1 – люк для выгрузки катализатора, 2 –центральная труба, 3 – корпус катализаторной коробки, 4 – термопарный чехол, 5 – загрузочный люк, 6 – теплообменник, 7, 9, 11, 13 – ввод байпасного газа, 15 – корпус колонны.

Основной поток газа (азотоводородная смесь) поступает в колонну снизу,

проходит по кольцевой щели между корпусом колонны 15 и кожухом катализаторной коробки 3 и поступает в межтрубное пространство теплообменника

6.

9

Здесь синтез газ нагревается конвертированным газом до 420-4400С и проходит последовательно четыре слоя катализатора 8, 10, 12, 14, между которыми подается холодный байпасный газ. После четвертого слоя катализатора газовая смесь при

500-515 0С поднимается по центральной трубе 2, проходит по трубкам теплообменника 6, охлаждаясь при этом до 320-3500С, и выходит из колонны.

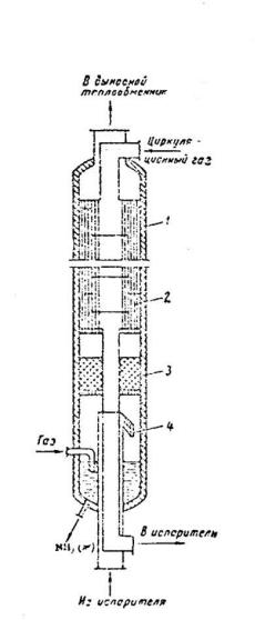
Конденсационная колонна

Представляет собой вертикальный цилиндрический аппарат, состоит из теплообменника и сепаратора, размещенного под теплообменником. Охлаждаемый газ идет по межтрубному пространству теплообменника, а газ после сепарации аммиака – по

трубам.

1 – корпус, 2 - теплообменник, 3 – отбойник, 4 – сепарационное устройство.

Газ, охлажденный в испарителе, через нижний штуцер поступает в сепарационное устройство 4, в

котором создается вращательное движение, при этом частицы жидкости отделяются от газового потока,

собираются в нижней части аппарата и непрерывно выводятся. Газ поднимается вверх, проходит отбойник 3 и, проходя трубное пространство, отдает свой холод. Свежий газ, входящий через боковой штуцер в нижней части аппарата, барботирует через слой жидкого аммиака, освобождаясь от паров воды и СО2

Рис.7. Конденсационная колонна:

1–корпус, 2- теплообменник, 3 –отбойник, 4 –сепарационное устройство.

10