Материал: Проектирование узловой участковой станции (2)

Внимание! Если размещение файла нарушает Ваши авторские права, то обязательно сообщите нам

Колесная техника

1

Высокая грузовая платформа

Длина – 27;

 

 

 

ширина – 6;

 

 

 

 

Для перегрузки по

2

Высокая грузовая платформа

Длина – 38,6;

прямому варианту

 

 

ширина –6

 

 

 

 

Минерально-

1

Крытый склад с внешним

Длина –18;

вяжущие материалы

 

расположением железнодорожного

ширина – 12

 

 

пути

 

 

 

 

 

6.2 Обоснование параметров путевого развития грузового района

Путевое развитие грузовых районов должно устанавливаться на основании комплексных расчетов технического оснащения входящих в него грузовых пунктов и принятой технологии подачи (уборки) вагонов на ГР,

расстановки (сборки) вагонов по грузовым фронтам.

Погрузочно-выгрузочные пути, как правило, проектируют тупиковыми.

Взаимное расположение путей, по возможности, должно обеспечивать подачу и уборку вагонов по мере окончания операций без нарушения погрузочно-

разгрузочных работ, выполняемых у соседних мест погрузки-выгрузки.

Выставочные пути – проектируются на ГР для временной постановки:

1.Подаваемых вагонов (до освобождения грузовых фронтов);

2.Убираемых на станцию вагонов после завершения грузовых операций.

3.Вагонов при выполнении маневровой работы связанной с изменением их месторасположения на грузовом фронте или

внутри маневрового состава.

Необходимость укладки выставочных путей на территории ГР

определяется в зависимости от расстояния подачи/уборки вагонов и технологии

взаимодействия со станцией:

1.При удаленном расположении ГР от станции рекомендуется на его территории укладывать выставочные пути.

93

2.При расположении ГР в непосредственной близости к СП подачу

(уборку) вагонов можно производить с сортировочных путей без использования выставочных путей. Для выполнения дополнительной маневровой работы может использоваться горловина грузового района.

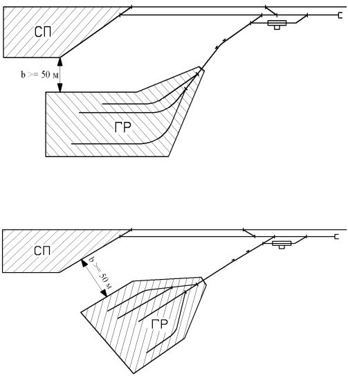
Вкурсовом проекте примыкание грузового района к станции рекомендуется проектировать с резервированием территории для развития станции (b) по вариантам, приведенным на рисунках 6.8 и 6.9

Рисунок 6.8 – Примыкание ГР к станции параллельно СП

Рисунок 6.9 – Примыкание ГР под углом к оси станции

Характеристика вариантов примыкания грузового района к станции представлена в таблице 6.2.

94

Суммарная вместимость выставочных путей на грузовом районе определяется удвоенным числом вагонов в подаче. При отсутствии сдвоенных операций суммарная минимальная длина выставочных путей должна быть не менее:

lполнвыст 2 LВАГ (NПОГ NВЫГ ) / nпод ,

(6.3)

где NПОГ и NВЫГ – суммарная суточная погрузка и выгрузка (ваг.) соответственно;

nпод – суточное количество подач на грузовой район.

Таблица 6.2 – Характеристика вариантов примыкания ГР к станции

Номер

 

Характеристика вариантов

варианта

 

 

 

наименование

преимущества

недостатки

 

 

 

 

1

Параллельно СП

1. Хорошие условия

1. Увеличение длины

 

(оси станции)

для дальнейшего

горловины ГР (дополнительные

 

 

развития станции (при

расходы на строительство и

 

 

увеличении как числа,

содержание)

 

 

так и длины путей)

2. Увеличение расстояния

 

 

2. Возможность

подачи вагонов (дополнительные

 

 

развития ГР по сквозному

эксплуатационные расходы)

 

 

типу (при увеличении

3. Большее количество

 

 

объемов работы)

кривых, в том числе обратных,

 

 

 

что негативно влияет на

 

 

 

безопасность производства

 

 

 

маневров и содержание пути

 

 

 

 

2

Под углом к оси

1. Минимальная длина

1. Ограниченные условия для

 

станции (по

соединительных путей и

развития станции при

 

кратчайшему

горловины ГР

увеличении полезной длины

 

расстоянию)

2. Обслуживания ГР по

путей

 

 

кратчайшему расстоянию

2. Необходимость наличия

 

 

 

соответствующих земельных

 

 

 

ресурсов

 

 

 

 

95

Количество и длина выставочных путей определяются исходя из

lвыст

рассчитанной суммарной длины полн с учетом их размещения на грузовом районе41, технологии подачи/уборки вагонов, а также выполнения маневровой работы по замене групп вагонов при необходимости. Не рекомендуется укладывать нечетное количество выставочных путей для исключения дополнительных маневровых передвижений при подаче/уборке вагонов.

Полезная длина каждого выставочного пути определяется с учетом размещения потребного числа вагонов и резерва на неточность их установки

(10 м) в соответствии со схемами, приведенными на рисунке 6.10.

А) Сквозного типа

Б) Тупикового типа

Рисунок 6.10 – Расчетная схема выставочных путей

Для рассматриваемого примера: lполнвыст 2 15(19 10) / 2 435м

Учитывая максимальную длину грузового фронта (100 м) в данном случае целесообразно предусмотреть 4 выставочных пути:

2 пути для размещения вагонов после выполнения грузовых операций перед уборкой их на станцию;

2 пути для стоянки подаваемых на ГР вагонов в ожидании перестановки на грузовой фронт.

Полезная длина каждого пути должна быть не менее 130 м – для размещения 8 вагонов (половины подачи).

41 Не менее двух

96

6.3 Разработка схемы вешней планировки грузового района и

технологии подачи, уборки вагонов

Размещение устройств на территории ГР должно обеспечивать:

компактность всей конструкции;

производство грузовых операций с наименьшими пробегами погрузочно-выгрузочных механизмов и автомобилей;

применение рациональной технологии маневровой работы;

возможность развития складов и других устройств при увеличении объема работы по принципу модульности.

При расположении складов применяется принцип концентрации,

заключающийся в размещении в одном районе устройств, которые обслуживаются одинаковыми или однотипными механизмами. Так, вблизи крытых складов располагают платформу для перегрузки по прямому варианту,

потому что на этих объектах будут работать одинаковые авто-

электропогрузчики. Вместе располагаются площадки для контейнеров,

тяжеловесных и лесных грузов, которые оснащаются однотипными козловыми или мостовыми кранами.

Места выгрузки пылящих грузов (угля, песка и др.), а также минерально-

вяжущих веществ (цемента, извести, алебастра и др.) размещают на расстоянии не менее 50 м от складов тарно-штучных грузов и контейнерных площадок с учетом преимущественного направления ветра.

Складские устройства, пути и автопроезды размещают вдоль прямых и параллельных участков железнодорожных путей, что способствует компактному размещению всех устройств и сокращения длины автопроездов.

При разработке схемы внешней планировки ГР должны приниматься следующие расстояния между устройствами:

97