Материал: Проектирование устройства изменения голоса для средств связи

Внимание! Если размещение файла нарушает Ваши авторские права, то обязательно сообщите нам

Технические характеристики:

-    чувствительность: -44дб ±2дб;

-       номинальное напряжение: 4,5в;

-       ток: 500 ма;

-       тип: электретный;

-       габариты: 9,7мм x 6.7мм высота;

-       отношение сигнал/шум: 60дб;

-       типфильтра: 10пфи 33пф;

-       сопротивление: 2.2ком;

-       частота: 20гц ~ 16кгц.

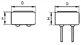
Рисунок 1.11 - Микрофон EM9767P-20C- 44DB

2.    
ПРОЕКТНАЯ ЧАСТЬ

2.1   Конструкторские расчеты

.1.1 Расчет габаритов печатной платы устройства

Исходными данными для расчета габаритов печатной платы являются справочные данные о корпусах использованных ИМС и дискретных элементов (резисторы, конденсаторы, стабилитроны, переключатели и т.д.), которые приведены в таблице 2.1.

Таблица 2.1 - Исходные данные для расчета габаритов печатной платы устройства

Наименование элемента

Количество, шт

Площадь одного элемента Si, мм2.

Операционный усилитель D1-LM386

1

75

Специализированная микросхема фирмы "Realtek" «VoiceChanger D2-RTS0072B

1

200

Электролитический конденсатор К50-6

3

201,06

Керамический конденсатор К10У-5

6

36

Резистор МЛТ-0,125

6

13,2

Резистор R4 100 Ом (Резистор подстроечный (код 100))

1

22,75

Резистор R8 10 кОм (Резистор подстроечный (код 103))

1

140,97

Стабилитрон VD1 1N4731A.113

1

14,04

Переключатель DIP SWD3-6

1

76,2

Микрофон BM EM9767P-20C- 44DB

1

73,9


Наивысший элемент - конденсатор. Его высота - 18 мм.

Полная высота платы с учетом пайки, толщины печатной платы, зазоров равна - 22 мм.

1.   Производим расчет установочной площади печатной платы по формуле 2.1.

 (2.1)


где Si - площадь одного элемента.

. Определяем полную площадь печатной платы по формуле 2.2.

Sполн. = Sуст* Кисп , (2.2)


где Кисп - коэффициент использования печатной платы (2…3).

Кисп=2,7

. Определяем длину и ширину печатной платы по значению Sполн. подбором.

В=45мм

L=90мм

. Определяем объем печатной платы по формуле 2.3.

V = 1.5*B*L*H, (2.3)


где H - высота самого высокого элемента с учетом зазоров и толщины печатной платы.

В - ширина печатной платы,

L - длина печатной платы.

Н=22 мм

В результате расчетов получили следующие данные:

-       установочная площадь печатной платы -1501,24 мм2;

-       полная площадь печатной платы - 4050 мм2;

-       длина печатной платы - 90мм;

-       ширина печатной платы - 45мм;

-       объем печатной платы - 133650мм3.

устройство изменение голос плата

2.1.2 Расчет печатного монтажа платы устройства

Двусторонняя печатная плата изготавливается электрохимическим методом и имеет 3-й класс точности.

Исходными данными для расчетов являются следующие справочные данные:

1. толщина фольги t=35 мкм=0,035 мм.

2. максимальный ток через проводник Iмах =0,5 А.

3. максимальная длина проводника l=0,135 м.

4. допустимое падение напряжения на проводнике Uдоп.=0,2 В.

5. максимальный диаметр выводов элементов dэ=0,9 мм.

6. расстояние между выводами микросхемы L0=2,5 мм.

7. допустимая плотность тока jдоп.=20А/мм2.

8. удельное сопротивление r=0,05Ом*мм2/м.

1.      Определяем минимальную ширину печатного проводника по постоянному току в цепях питания и заземления с учетом данных по формуле 2.4.

bmin1 = Iмах / (jдоп.*t) (2.4)


2.   Определяем минимальную ширину проводника исходя из допустимого падения напряжения на нем по формуле 2.5.

bmin2 = (r*Imax*l)/ (t*Uдоп.) (2.5)


. Определяем номинальное значение диаметров монтажных отверстий по формуле 2.6.

d= dэ+ êDdноê+ r, (2.6)


где dэ-максимальный диаметр вывода микросхемы.

Ddно-нижнее предельное отклонение от номинального диаметра монтажного отверстия (0,1 мм).

r - разница между минимальным диаметром отверстия и максимальным диаметром вывода МС, выбирается в пределах 0,1-0,4мм.

. При выборе значения диаметра отверстия следует учитывать, что должно выполняться неравенство 2.7.

dmin³Hрасч*g, (2.7)

dmin³2*0,33³0,66

где Нрасч-расчетная толщина платы (2 мм).

g-отношение диаметра металлизированного отверстия к толщине платы (0,33)

. Рассчитываем минимальный диаметр контактных площадок по формуле 2.8.

Dmin=Dmin1+1,5t, (2.8)

где Dmin1-минимальный эффективный диаметр площадки, рассчитываемый по формуле 2.9.

Dmin1=2*(bm+dmax/2+dd+dр), (2.9)

где bm-расстояние от края просверленного отверстия до края контактнойплощадки (0,035 мм).

dd и dр - допуски на расположение отверстий и контактных площадок (0,1 мм и 0,25мм соответственно).

dmax-максимальный диаметр просверленного отверстия рассчитывается по формуле 2.10.

dmax=d+Dd+ (0,1…0,15), (2.10)

где Dd-допуск на отверстие (0,1 мм).

. Определяем максимальный диаметр контактной площадки по формуле 2.11.

Dmax=Dmin+0.03 (2.11)


. Определяем минимальную ширину проводников по формуле 2.12.

bmin=bmin3+0,03, (2.12)

bmin=0,18+0,03=0,21мм

где bmin3-минимальная эффективная ширина проводника, для плат 3-гокласса точности 0.18 мм.

. Определяем максимальную ширину проводника по формуле 2.13.

bmax=bmin+ (0.02…0.06) (2.13)


. Определяем минимальное расстояние между проводником и контактной площадкой по формуле 2.12.

S1min=L0-Dmax/2 - dp - bmax/2 - dl, (2.14)


где L0 - расстояние между центрами рассматриваемых элементов.

. Определяем минимальное расстояние между двумя контактными площадками по формуле 2.13.

S2min=L0-Dmax - 2dp (2.13)


. Определяем минимальное расстояние между двумя проводниками по формуле 2.14.

S3min = L0 - bmax- 2dl, (2.14)


где dl - допуски на расположение проводников (0,1 мм).

Расчетные параметры печатного монтажа платы устройства изменения голоса сведены в таблицу 2.2.

Таблица 2.2 - Параметры печатного монтажа платы устройства

Параметр

Значение, мм


Min

Max

Ширина проводника

0,48

0,25

Диаметр отверстия

1,22

Диаметр контактной площадки

2,0425

2,0725

Минимальное расстояние между проводником и контактной площадкой

0,99

Минимальное расстояние между двумя контактными площадками

0,07

Минимальное расстояние между двумя проводниками

2,45


.1.3   Расчет показателей надежности и качества устройства

Расчет надежности заключается в определении показателей надежности изделия по известным характеристикам надежности составляющих компонентов и условиям эксплуатации. Справочные данные параметров надежности элементов, находящихся на печатной плате устройства находятся в таблице 2.3.

Таблица 2.3 - Справочные параметры надежности элементов

Наименование элемента

Количество, шт

l0i, (10-6 1/ч)

аi(Т,кн)

li, (10-6 1/ч)

Резисторы

8

0,087

0,73

0,068

Конденсаторы

9

0,035

0,37

0,013

1

0,2

0,7

0,149

ИМС

2

0,013

0,61

0,008

DIP-переключатель

1

0,14

1

0,149

Микрофон

1

4

1

4,28

Печатная схема

-

0,7

1

0,749

Пайка

-

0,01

1

0,010

1.     
Определяем интенсивности отказов элементов с учетом условий эксплуатации изделия по формуле 2.15.

, (2.15)

где  - номинальная интенсивность отказов.

к1и к2 - поправочные коэффициенты, зависящие от воздействия механических факторов (для стационарных РЭА равны 1,04 и 1,03 соответственно).

к3 - поправочный коэффициент, зависящий от воздействия влажности и температуры (при влажности 60-70% и температуре воздуха 20-40 ºС равен 1.0).

к4 - поправочный коэффициент, зависящий от давления воздуха (при давлении воздуха 80-100кПа равен 1.0).

аi(Т,кн) - поправочный коэффициент, зависящий от температуры поверхности элемента (Т) и коэффициента нагрузки (кн).

.        Определяем интенсивность отказов блока по формуле 2.16.

= lэлементов (2.16)


Определяем среднее время наработки на отказ по формуле 2.17.

 = 1/блока (2.17)

 = 1/

Тср = 166278,68 часов.

.       
Определяем вероятность безотказной работы в течении 10000 ч. (для нерезервированных систем) по формуле 2.18.

Р(tр) =е(-Dблока*tр) (2.18)


Р(tр) =94,16 %

Вероятность безотказной работы в течении 10000 часов равна 94,16%.

.1.4   Расчет ударопрочности печатной платы электронного узла

Рассчитаем ударное воздействие на печатную плату при падении ее с некоторой высоты.

Исходные данные:

а=0,09м ;

b=0,045м ;

M=0,2кг;

h=1мм=1*10-3м ;

=2 м.

1    Определяем частоту собственных колебаний печатной платы, закрепленной в четырех точках по формуле 2.19.

 (2.19)

где а и b - длина и ширина пластины .

D - цилиндрическая жесткость;

М - масса пластины с элементами ;

. Определяем цилиндрическую жесткость по формуле 2.20.

, (2.20)


где Е - модуль упругости (3,02*109 Н/м).

h - толщина пластины 1мм;

n - коэффициент Пуассона (0,22).

2    Определяем условную частоту ударного импульса по формуле 2.21.

, (2.21)

 Гц

где t - длительность ударного импульса (0.5 с).

3    Определяем коэффициент передачи при ударе для полусинусоидального импульса по формуле 2.22.

, (2.22)

Ky

где n - коэффициент расстройки.

=0,00707

4   
Определяем ударное ускорение по формуле 2.23.

, (2.23)

ay=12,522*0,0106=0,1327

где Ну - амплитуда ускорения ударного импульса.

5    Определяем амплитуду ускорения по формуле 2.24.

, (2.24)


где h” - высота падения платы; g - ускорение свободного падения.

6    Определяем максимальное относительное перемещение для полусинусоидального импульса по формуле 2.25.

 (2.25)

Zmax

7    Проверяем выполнение условия ударопрочности для элементов РЭА типа пластин по формуле 2.26.

, (2.26)

=0,09/2=0,045, ,

где dдоп. - допустимая стрела прогиба фольгированных материалов (22 мм).

Так как условие ударопрочности выполняется - печатная плата при падении с высоты 2 м не получит повреждений.

.1.5   Расчет потребляемой мощности устройства

Расчет потребляемой мощности заключается в определении показателей общего потребляемого тока схемы и общей потребляемой мощности изделия по известным электрическим параметрам радиоэлементов, расположенных на печатной плате устройства. Справочные данные параметров элементов находятся в таблице 2.4.

Таблица 2.4 - Исходные данные для расчета потребляемой мощности устройства

Наименование элемента

Количество, шт

Iпотр, мА

Uпит, В

Pпотр, мВт

МЛТ 0,125

6

0,6

200

0,125

CA6V

1

0,00055

900

0,5

SH-R115SR

1

0,001

250

0,25

VD1

1

50

24

1200

SWD3

1

58

4,5

261

EM9767P-20C- 44DB

1

50

4,5

225

LM386

1

4

9

36

RTS0072B

1

18

5

90