Материал: Проектирование установки пневмоклассификатора

Внимание! Если размещение файла нарушает Ваши авторские права, то обязательно сообщите нам

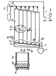
Рисунок 2.7 - Пневматический классификатор с восходящим потоком

Пневматический классификатор работает следующим образом:

Исходный материал через загрузочный патрубок 6 подается в полый корпус 1 на наклонное перфорированное днище 2 под первую сепарационную шахту 5, где начинается процесс разделения. Под первой сепарационной шахтой 5 часть материала поступает вверх, в ее внутреннюю полость, где разделяется на крупный и мелкий продукты. Мелкий продукт выносится газом в патрубок 8 вывода газового потока с мелким продуктом, крупная фракция опускается по наклонному перфорированному днищу 2 к следующей сепарационной шахте 5. При движении по наклонному перфорированному днищу 2 крупные частицы попадают на перфорированную треугольную грань 12 пирамидального выступа 9. Двигаясь по ней, они продуваются восходящим потоком воздуха и, поскольку вершина грани 12 направлена в сторону наклона перфорированного днища, 2, крупные частицы пересыпаются на поверхность наклонного перфорированного днища 2, имеющего большой уклон. Благодаря этому крупные частицы приобретают большую скорость движения по наклонному перфорированному днищу 2. Поскольку скорость движения крупных частиц по наклонному перфорированному днищу 2 увеличена, то и их начальная скорость на перфорированной грани следующего пирамидального выступа 9 будет больше, а значит несмотря на то, что угол наклона перфорированной грани пирамидального выступа 9 меньше, чем угол наклона перфорированного днища 2, по поверхности грани выступа 9 крупные частицы пройдут за меньшее время и быстрее попадут на наклонное перфорированное днище 2. Двигаясь таким образом, крупные частицы будут приобретать более высокую скорость от элемента к элементу. Мелкие частицы находятся в верхней части песевдоожиженного слоя и вероятность их попадания с перфорированной грани пирамидального выступа 9 на наклонное перфорированное днище 2 ниже, а вероятность выноса в сепарационную шахту 5 выше. Выше и скорость их выноса из аппарата. Сечение аппарата представлено на рис. 2.8.

Таким образом, время прохождения перфорированного днища 2 крупными и мелкими частицами сокращено, что позволяет поднять расходную концентрацию и таким образом увеличить производительность. При этом качество разделения не ухудшится, так как локальная концентрация на наклонном перфорированном днище 2 не повысится. Скорость движения приграничных классов частиц будет соответствовать промежуточному значению между скоростью движения при угле наклона грани пирамидального выступа 9 и угле наклона перфорированного днища 2, что обеспечит качественное разделение материала при повышенных расходных концентрациях (производительностях). После последней сепарационной шахты 5 крупные частицы поступают в патрубок вывода 7 крупного продукта.

Основное отличие данного аппарата от других - с целью повышения качества разделения и производительности работы под каждой сепарационной шахтой часть перфорированного днища выполнена в виде выступа в форме неправильной треугольной пирамиды с вершиной, направленной в сторону уклона перфорированного днища, при чем по меньшей мере верхняя грань неправильной треугольной пирамиды выполнена перфорированной.

Рисунок 2.8 - Пневматический классификатор с восходящим потоком

Пневматический классификатор [7] представленный на рисунке 2.9 предназначен для классификации полидисперсных сыпучих материалов и может быть использован в промышленности стройматериалов, горно-обогатительной, химической, и других отраслях промышленности.

Пневматический классификатор состоит из корпуса 1, который образован нижней 2 и верхней 3 частями. В корпусе 1 установлены пакеты вертикальных вставок 4, образующих вертикальные сепарационные каналы 5. К вертикальным вставкам 4 прикреплены наклонные полки 6. Под вставками 4 установлены разгрузочные полосы 7 V- образной формы. Между боковыми сторонами полос 7 имеются зазоры а, симметричные относительно вертикальной оси каждого сепарационного канала 5. Величина зазора а может регулироваться. С этой целью боковые стенки V-образных полос 7 могут быть соединены между собой «шарнирами».

Рисунок 2.9 - Пневматический классификатор

На верхней части 3 корпуса 1 размещен патрубок 8 отвода воздуха и наиболее тонкого продукта разделения. В нижней части 2 вертикально установлен патрубок 9 подвода воздуха, на котором крепится загрузочный патрубок 10 исходного материала. В нижней части 2 корпуса 1 установлены сборники 11 крупной фракции.

Полосы 7, установленные между стенками 12 и 13, своими внутренними поверхностями совместно с пластинами 14 образуют каналы отвода продуктов разделения. Пластины 14 установлены с наклоном к отверстиям в стенке 13, на которой, охватывая эти отверстия, крепятся сборники 15 промежуточных фракций. Вид сбоку представлен на рис. 2.10.

Пневматический классификатор работает следующим образом:


Рисунок 2.10 - Пневматический классификатор (вид сбоку)

При движении по сепарационным каналам из пылевоздушного потока выделяется материал более крупных фракций, попадающих на пластины 14, установленные в V-образных полосах, по которым через отверстия в стенке 13 поступает в сборник 15, промежуточных продуктов разделения. Более тонкие фракции с воздушным потоком поступают в следующую секцию сепарационных каналов, где происходят аналогичные процессы. Самый тонкий продукт с воздухом направляется через патрубок 8 в пылеочистительную систему.

При работе классификатора с мельницей-вентилятором пылевоздушный поток от мельницы непосредственно подается через патрубок 9, при этом патрубок 10 загрузки перекрыт.

Количество секций и сепарационных каналов в них определяется требуемым количеством и величиной промежуточных фракций, а также производительностью классификатора.

Основное отличие данного аппарата от других - с целью повышения производительности и качества разделения за счет равномерного распределения аэросмеси в сепарационных каналах, разгрузочные полосы установлены в горизонтальной плоскости под вставками с возможностью образования зазоров, симметричных относительно вертикальных осей сепарационных каналов, при этом количество сепарационных каналов увеличивается в направлении движения воздушного потока.

Пневматический классификатор [8] представленный на рисунке 2.11 предназначен для пневматической классификации различных сыпучих материалов в восходящем потоке воздуха и для разделения материалов крупностью не более 10 мм на два или несколько продуктов по граничному зерну 5 - 0,05 мм, а также для фракционирования и обогащения сыпучих материалов в горной, металлургической, химической ,строительной и других отраслях промышленности.

Пневматический классификатор включает корпус 1, вертикальные и боковые стенки 2 и поперечные вставки 3, образующие сепарационные колонны с пересыпными приспособлениями 4, установленную в нижней части корпуса наклонную распределительную решетку 5, патрубок 6 для подвода воздуха, разгрузочные устройства в виде патрубка 7, бункера 8 и циклона 9, загрузочный патрубок 10, вентилятор 11, вентили 12 для регулировки скорости потока в колонках.

Рисунок 2.11 - Пневматический классификатор

Распределительная решетка 5 снабжена сменными перегородками 13, выполненными из пластин, верхний обрез которых имеет волнообразную Форму. Классификатор комплектуется набором волнообразных перегородок 13.

Классификатор работает следующим образом:

Исходный материал через загрузочный патрубок 10 подается на распределительную решетку 5 классификатора. Воздух поступает снизу через решетку 5 из патрубка 6, Таким образом, на решетке создается псевдоожиженый слой материала. Материал провеивается на решетке при своем движении вниз. Часть его (тонкие фракции) поступает (вдувается) в сепарационные колонки. Крупные фракции, двигаясь вниз по решетке 5, многократно последовательно подвергаются перечистке и через разгрузочный патрубок 7 поступают в бункер 8. Благодаря наличию сменных перегородок 13, установленных на решетке 5, материал перед ними тормозится, причем, поскольку верхний обрез пластин имеет волнообразную форму крупные частицы проходят нарез впадины перегородок 13 и поступают на выгрузку. Подбирая необходимое живое сечение сменных перегородок 13, добиваются одинаковой концентрации материала по всей длине решетки 5. Таким образом, благодаря установке перегородок 13, концентрация материала по всей длине решетки одинакова. Регулирование скорости воздуха в колоннах осуществляется с помощью вентилей 12. Тонкие фракции отделяются от воздуха в циклонах 9.

Благодаря тому, что концентрация материала и скорость воздушного потока одинаковы по длине решетки и в каждой сепарационной колонке, процесс разделения в них протекает эффективно, граница разделения поддерживается одинаковой и постоянной, что обеспечивает более высокое качество разделения.

Основное отличие данного аппарата от других - с целью улучшения качества разделения за счет равномерной концентрации материала по длине распределительной решетки, последняя снабжена сменными перегородками, выполненными в виде пластин, установленных на распределительной решетке под вертикальными вставками и имеющих обращенный к ним обрез волнообразной формы.

Пневматический классификатор [9] представленный на рисунке 2.12 предназначен для пневматической классификации полидисперсных материалов и использовано для фракционирования карбонатных отходов камнедобычи с равновесной влажностью 7-14% с целью получения минеральной муки и заполнителей для бетонов.

Классификатор включает сужающуюся камеру 1 классификации, в верхней части которой установлен загрузочный бункер 2 и питатель 3. Под питателем 3 расположено диспергирующее приспособление, выполненное в виде полок 4, установленных на горизонтальных внецентренных осях 5 (т.е. смещенных относительно центра тяжести полок 4) с возможностью поворота и фиксации. Регулирующие полки 6 установлены с возможностью поворота.

Рисунок 2.12 - Пневматический классификатор

Под диспергирующим приспособлением 4 расположены разгрузочные бункеры для сбора минеральной муки 7 и для сбора песка 8 с разделительной перегородкой 9, в которой выполнено окно 10. Нижняя часть корпуса классификатора соединена с разгрузочным бункером 11 для сбора щебня. Бункер 7 соединен с вентилятором 12 и циклоном 13. Вентилятор 14 направлен в сторону бункера 7. Одна регулирующая полка 6 установлена в окне 10 разделительной перегородки 9 и выполнена квадратной, другая - на разделительной перегородке 9, остальные - между полками 4 и разделительной перегородкой 9. Механизм поворота полок 4 состоит из гайки 15, болта 16, эллипсовидного ограничителя 17 и рычага 18.

Классификатор работает следующим образом:

Перед началом работы классификатора положение полок 4 на оси 5 задается следующим образом. Откручивается гайка 15 от болта 16. Поворачиваются эллипсовидные ограничители 17 и фиксируются болтом 16 с гайкой 15, чтобы рычаг 18 мог поворачиваться на угол 2φ, где φ - угол наклона решеток в зависимости от равновесной влажности карбонатных отходов камнедобычи.

Включают, питатель 3, и на все полки 4 насыпаются карбонатные отходы. Затем включаются вентиляторы 12 и 14. Полки 4 под действием аэродинамического напора и массы "скользящей" по ступенькам струи наклоняются на оптимальный угол φ.

При образовании на полках 4 слипшихся комков материала, полка 4 под действием своей силы тяжести поворачивается на угол слипшийся комок падает на регулирующие полки 6 и разрушается. Одновременно происходит некоторое подсушивание материала и выравнивание влажности материалов.

При нарушении равновесия на полках 6 они наклоняются на угол 2φ и высыпают подсушенные карбонатные частицы, которые падают в бункер 8, а мелкая фракция либо идет в бункер 7 через окно 10 ,либо оседает на полке 6. Вентилятор 12 увлекает мелкие частицы с полок 6 над бункером 7 и из зоны над полками 6. Мелкие частицы оседают в бункере 7 и циклоне 13. Последний соединяется с двумя вентиляторами 12 и 14. Вентилятор 14 создает аэродинамическое давление на частицы и выносит их в верхнюю часть слоя. Затем мелкие частицы, как более легкие, падают в верхнюю часть камеры 1 и через полки 4 в бункер 7. Воздух в классификаторе движется по замкнутой схеме, что исключает пылевыделение.

Основное отличие данного аппарата от других - регулируемая полка, установленная в окне разделительной перегородки, выполнена квадратной.

Пневматический классификатор [10] представленный на рисунке 2.13 предназначен для воздушной классификации сыпучих материалов и может быть использован в угольной, химической и других отраслях промышленности.

Пневмоклассификатор состоит из двух смежных пневмошахт: первичной 1 и вторичной 2, В нижней части первичной пневмошахты расположены патрубки для подачи исходного материала 3 и выхода крупного продукта 4, а также, штуцер 5 для забора воздуха, подаваемого под перфорированную решетку 6.

Рисунок 2.13 - Пневматический классификатор

Нижняя часть пневмошахты 2 снабжена аналогичной релеткой 7, но перекрывающей только часть сечения шахты, а также патрубками для выхода мелкого продукта 8 и для забора воздуха 9. В верхней части пневмошахты находятся направляющие козырьки 10 и штуцер 11 для отвода пылевоздушной смеси, оборудованный жалюзями 12.

Корпус аппарата имеет прямоугольное сечение. Причем две противоположные стенки каждой из пневмошахт имеют форму зигзага, а две другие стенки - плоские. Зигзагообразные стенки установлены одна относительно другой таким образом» что поперечное сечение каждой пневмошахты поочередно сужается и расширяется по высоте аппарата. В расширениях пневмошахт 1 и 2 установлены двухскатные перфорированные вставки 13 и 14, ориентированные вершиной скатов в сторону загрузочного приспособления. Вставки 13 установлены с образованием зазора между собой в вершине ската и закреплены с помощью шарниров 15. Скаты вставок 14 соединены между собой шарнирами 16, установленными на вертикальной оси пневмошахты 2.

При выборе величины углов между скатами руководствуются требованиями к дисперсному составу продуктов классификации, так как именением углов можно регулировать время пребывания твердого материала в рабочей зоне классификатора, а следовательно, и состав получаемых продуктов. Для интенсификации процесса взаимодействия воздушного потока с зернистым материалом скаты вставок 13 и 14 выполнены перфорированными, их живое сечение зависит от состава исходного продукта и может изменяться от 10 до 30%.

Пневмоклассификатор работает следующим образом:

Исходный материал подается в патрубок 3 и попадает на наклонную перфорированную полку. Двигаясь по ней, материал интенсивно продувается потоком воздуха через перфорацию и уносится вверх. Грубые фракции (крупный продукт) удаляются через патрубок 4. Остальной материал уносится потоком и проходит последовательно несколько ступеней очистки, двигаясь от одной вставки к другой. Частицы, попадающие в пространство между скатами вставок, проваливаются в щелевой зазор и вновь участвуют в разделительном процессе. Изменяя величину щелевого зазора, можно регулировать время пребывания частиц в рабочей зоне и эффективность разделения в пневмошахте 1.