Клеевые соединения деталей изделия.
Сущность процесса склеивания с использованием термопластических клеевых
материалов заключается в том, что при нагревании склеиваемых материалов,
находящихся под давлением, термопластичный клей, достигнув определенной
температуры, переходит в вязкотекучее состояние, проникает в склеиваемые
материалы на некоторую часть их толщины, где затем при охлаждении закрепляется
с образованием клеевого соединения. Параметры дублирования приведены в таблице
3.11
Таблица 3.11 Параметры дублирования используемые при проектировании модели.
|
Наименование операции |
Вид склеиваемых материалов |
Вид клеев вещества |
Режимы склеивания |
|||
|
|
|
|
tº прессующей поверхности, ºС |
Время прессования (сек) |
Давление прессования (Па) |
Влажность |
|
1 |
2 |
3 |
4 |
5 |
6 |
7 |
|
Дублирование полочки, спинки, бортов, воротника |
Ткань из х/б пряжи с односторонним начесом, с точечным регулярным клеевым покрытием арт. 7067-Н1 |
ПА-6/6,6 |
150-160 |
20-30 |
0,03-0,05 |
30-35 |
|
Дублирование мелких деталей пальто |
Нетканое клеевое полотно из вискозных и нитроновых волокон (прокламелин) арт.935508 |
ПА-12/6/6,6 |
120-140 |
15-30 |
0,03-0,05 |
0-25 |
|
Кромка в мелкие детали, низ спинки, рукава, проймы |
Ткань кромочная со сплошным покрытием клея (бязь) арт. 276H1 |
БФ-6 |
160-170 |
- |
Масса утюга |
30 |
Параметры влажно-тепловой обработки изделия.
Под влажно-тепловой обработкой швейных изделий понимают специальную
обработку деталей или изделия влагой, теплом и давлением с помощью специального
оборудования. При изготовлении одежды влажно тепловая обработка составляет
приблизительно 15-25% всей трудоемкости изделия. Параметры ВТО подобранные в
соответствии с основными свойствами для основного и подкладочного материалов
представлены в таблицах 3.12 и 3.13
Таблица 3.12 Параметры ВТО для основного материала.
|
Температура прессования, Сº |
Усилие прессования, КПа |
Время обработки, С |
Увлажнение к массе материала |
||
|
Пресса |
Утюга |
|
На прессе |
Утюгом |
|
|
150 |
30 |
15 |
23 |
30 |
|
Таблица 3.13 Параметры ВТО для подкладочного материала.
|
Температура прессования, Сº |
Усилие прессования, КПа |
Время обработки, С |
Увлажнение к массе материала |
||||||
|
Пресса |
Утюга |
|
На прессе |
Утюгом |
|
||||
|
Подкладка вискозно-ацетатная: |
|
||||||||
|
140-160 |
160 - 180 |
15-100(4-6) |
10 - 45 |
30 |
20 - 30 |
|
|||
На основе выбранных методов обработки и оборудования, составлена схема сборки женского пальто-сюртука и справочник технологических операций процесса таблица 3.14
Схема сборки сюртука женского
Монтаж
3.4 Разработка справочника технологических
операций процесса
Таблица 3.14 Справочник технологических операций процесса
|
№ п/п |
Наименование неделимой операции |
Специальность |
Оборудование приспособления |
Технические условия на выполнение |
||||||
|
1 |
2 |
3 |
4 |
5 |
||||||
|
Обработка накладного кармана |
||||||||||
|
1 |
Фронтальное дублирование накладного кармана клеевой прокладкой |
П |
Cs-371 KMH-1+32-36A+956 «Паннония» |
На нижнюю подушку пресса укладывают деталь из основной ткани изнаночной стороной вверх. Срезы прокладок должны входить в швы соединения деталей на 1-5 мм. |
||||||
|
2 |
Прокладывание клеевой кромки в припуск на подгиб верхнего края кармана |
У |
Стол утюжильный Cs -394 KE-2+1392 «Паннония» |
Клеевую кромку прокладывают с изнаночной стороны с небольшим натяжением в припуск на подгиб верхнего края кармана на 5-6 мм. |
||||||
|
3 |
Притачивание подкладки к припуску на подгиб верхнего края кармана |
М |
Дюркопп 212-115105/E112 |
К припуску на подгиб верхнего края кармана притачивают подкладку шириной шва 5 мм |
||||||
|
4 |
Обмётывание боковых и нижних срезов кармана с подкладкой |
С |
737FS-504M2-04 SIRUBA |
Карман и подкладку складывают уравнивая срезы обмётывают со стороны подкладки шириной шва 5 мм. |
||||||
|
Обработка полочек |
||||||||||
|
5 |
Фронтальное дублирование полочек клеевой прокладкой |
П |
Cs-371 KMH-1+32-36A+956 «Паннония» |
На нижнюю подушку пресса укладывают деталь из основной ткани изнаночной стороной вверх. Срезы прокладок должны входить в швы соединения деталей не менее чем на 1-2 мм. |
||||||
|
6 |
Стачивание боковых вытачек |
М |
АО «Орша» 1820-5 |
Боковые вытачки стачивают швом шириной 10 мм, сводя строчку в конце вытачки на нет на 10 мм |
||||||
|
7 |
Разутюживание боковых вытачек |
У |
Cs -1351+12-10+396B «Паннония» |
Вытачки разутюживают до плотного прилегания сторон с использованием пропаривания через подошву утюга и вакуум-отсоса. Через поверхность стола производят охлаждение обрабатываемого участка изделия. |
||||||
|
8 |
Намелка местоположения накладного кармана на полочке |
Р |
Лекало, мел |
|
||||||
|
9 |
Притачивание накладного кармана на полочку |
М |
Дюркопп 212-115105/E112 |
Кармана вместе с подкладкой совмещая нанесённые линии притачивают к полочке шириной шва 10 мм |
||||||
|
10 |
Приутюживание полочки |
П |
Cs -1351+12-10+396B «Паннония» |
Полочку с накладными карманами укладывают на подушку пресса изнанкой вверх и прессуют. |
||||||
|
11 |
Прокладывание клеевой кромки в проймы полочек |
У |
Стол утюжильный Cs -394 KE-2+1392 «Паннония» |
Прокладывают в проймы полочек с натяжением, кромку располагают от среза проймы на расстоянии 5-6 мм. |
||||||
|
Обработка спинки |
||||||||||
|
12 |
Дублирование горловины спинки клеевой прокладкой |
П |
Cs-371 KMH-1+32-36A+956 «Паннония» |
На нижнюю подушку пресса укладывают деталь из основной ткани изнаночной стороной вверх. Срезы прокладок должны входить в швы соединения деталей не менее чем на 1-2 мм. |
||||||
|
13 |
Дублирование припуска на подгиб низа спинки клеевой прокладкой |
|
|
|
||||||
|
14 |
Дублирование припуска на подгиб низа боковой части спинки прокладкой |
|
|
|
||||||
|
15 |
Стачивание рельефных срезов спинки |
М |
Дюркопп 212-115105/E112 |
Рельефные срезы спинки стачивают швом шириной 15 мм со стороны бочка и 7 мм со стороны средней части спинки |
||||||
|
16 |
Заутюживание рельефов спинки |
У |
Cs -1351+12-10+396B «Паннония» |
Рельефы спинки разутюживают, затем заутюживают до плотного прилегания швов. |
||||||
|
17 |
Стачивание среднего шва спинки. |
М |
Дюркопп 212-115105/E112 |
Средний шов спинки стачивают шириной шва 10 мм, начиная строчку от верха спинки. Частота строчки 4-5 стежков в 10мм |
||||||
|
18 |
Разутюживание среднего шва спинки. |
П |
Cs-371 KM+12-45+396В «Паннония» |
Средний шов спинки заутюживают на прессе, предварительно разутюживая и заутюживая шов утюгом. |
||||||
|
19 |
Прокладывание клеевой кромки в проймы спинки |
У |
Утюжильный стол CS-394KE-2+1392 «Паннония» |
Кромку по пройме прокладывают с натяжением, располагая от среза проймы на расстоянии 5 мм. |
||||||
|
Обработка подборта |
||||||||||
|
20 |
Дублирование подборта |
П |
Cs-371 KMH-1+32-36A+956 «Паннония» |
На нижнюю подушку пресса укладывают деталь из основной ткани изнаночной стороной вверх. Срезы прокладок должны входить в швы соединения деталей не менее чем на 1-2 мм |
||||||
|
Обработка рукавов |
||||||||||
|
21 |
Дублирование припуска на подгиб низа рукавов клеевой прокладкой |
П |
Cs-371 KMH-1+32-36A+956 «Паннония» |
На нижнюю подушку пресса укладывают деталь из основной ткани изнаночной стороной вверх. Срезы прокладок должны входить в швы соединения деталей не менее чем на 1-2 мм. Прокладку в низ рукавов располагают со стороны припуска на подгиб. |
||||||
|
22 |
Стачивание локтевых срезов рукавов |
М |
Дюркопп 212-115105/E112 |
Локтевые срезы рукавов стачивают по нижней половинке рукава, посаживая верхнюю половинку в области локтя на 10-15 мм. Ширина шва 10 мм. |
||||||
|
23 |
Разутюживание локтевых швов рукавов |
П |
Cs-351 P2M+22-215+396B «Паннония» |
На подушке пресса одевают рукава изнанкой вверх, размещая швы на выпуклой поверхности подушек. Швы раскалывают паровым утюгом и прессуют. |
||||||
|
24 |
Намелка линии низа рукавов |
Р |
Мел, лекало |
С помощью лекала и мела с изнаночной стороны намечают линию низа рукавов. |
||||||
|
25 |
Замётывание низа рукавов |
С/М |
929D Дюркопп |
Припуск на подгиб низа рукавов перегибают по меловой линии и замётывают, прокладывая строчку на 7-10 мм от края. |
||||||
|
26 |
Приутюживание низа рукавов |
П |
Cs-1351+12-10+396В «Паннония» |
Рукава укладывают на подушку пресса изнанкой вверх, спуская верхнюю часть рукава с подушки пресса и прессуют. |
||||||
|
27 |
Вывёртывание рукавов на лицевую сторону |
Р |
- |
Рукава вывёртывают на лицевую сторону через верхнюю часть рукава |
||||||
|
28 |
Удаление нитей замётывания низа рукавов |
Р |
Спецколышек |
Нити замётывания низа рукавов удаляют специальным колышком, поддевая за один из стежков конца строчки |
||||||
|
Обработка подкладки |
||||||||||
|
29 |
Стачивание вытачек на полочке. |
М |
АО«Орша»1820-5 |
Вытачки на полочке стачивают швом шириной 10 мм, сводя строчку в концах вытачек на нет на 10 мм. |
||||||
|
30 |
Стачивание вытачек на спинке. |
М |
АО«Орша»1820-5 |
Стачивание вытачек на спинке шириной шва 10 мм. |
||||||
|
31 |
Стачивание среднего шва на спинке. |
М |
MO-816-FF6 T001 «Джуки» |
Средний шов спинки стачивают шириной шва 10мм. |
||||||
|
32 |
Стачивание боковых срезов. |
М |
MO-816-FF6 T001 «Джуки» |
Боковые срезы стачивают до контрольных знаков шириной шва 10 мм. |
||||||
|
33 |
Стачивание плечевых срезов. |
М |
MO-816-FF6 T001 «Джуки» |
Плечевые срезы стачивают со стороны спинки, уравнивая срезы шириной шва 10 мм. |
||||||
|
34 |
Стачивание среза рукава. |
М |
MO-816-FF6 T001 «Джуки» |
Передние срезы стачивают по верхней части рукава, уравнивая срезы шириной шва 10 мм. |
||||||
|
35 |
Втачивание подкладки рукава в проймы подкладки |
М |
697D «Дюркопп» |
Рукава втачивают со стороны в проймы, совмещая локтевые с надсечками ширина шва 10 мм. |
||||||
|
36 |
Притачивание концов вешалки к горловине спинки |
М |
Дюркопп 212-115105/E112 |
Концы вешалки располагают симметрично относительно среднего шва спинки и настрачивают тройной обратной строчкой. |
||||||
|
37 |
Приутюживание подкладки. |
У |
Утюжильный стол CS-394KE-2+1392 Паннония |
Подкладку приутюживают, заутюживая швы. |
||||||
|
38 |
Настрачивание тканевой ленты с товарным знаком на полочку подкладки |
М |
Дюркопп 212-115105/E112 |
Тканевую ленту настрачивают на правую полочку подкладки по контрольным знакам. Один срез ленты уравнивают с боковым срезом подкладки, второй срез настрачивают с подгибом среза. |
||||||
|
Монтаж |
||||||||||
|
39 |
Стачивание боковых срезов пальто |
М |
Дюркопп 212-115105/E112 |
Стачивают боковые срезы со стороны спинки, посаживая полочку на уровне боковых карманов. Ширина шва 10 мм. |
||||||
|
40 |
Стачивание плечевых срезов пальто |
М |
Дюркопп 212-115105/E112 |
Стачивают плечевые срезы со стороны спинки, посаживая спинку в области лопаток. Ширина шва 10 мм. |
||||||
|
41 |
Разутюживание боковых швов и среднего шва спинки |
П |
CS-371 KM +12-45+396B Паннония |
На среднюю подушку пресса укладывают средний шов спинки изнаночной стороной вверх, расправляя его. Боковые швы размещают на крайних подушках. Низ пальто располагают справа. При укладке швов используют вакуум-отсос. Швы раскалывают паровым утюгом. Затем пресс закрывают и выполняют разутюживание швов. |
||||||
|
42 |
Стачивание среднего среза стойки |
М |
Дюркопп 212-115105/E112 |
Средний срез стойки стачивают шириной шва 7 мм |
||||||
|
43 |
Разутюживание среднего среза стойки |
П |
CS-371 KM +12-45+396B Паннония |
Припуски шва стойки разутюживают до полного прилегания. |
||||||
|
44 |
Втачивание верхней стойки в горловину |
М |
Дюркопп 212-115105/E112 |
Верхнюю стойку воротника втачивают в горловину со стороны основной детали шириной шва 7 мм. |
||||||
|
45 |
Обтачивание борта подбортом и фигурного выступа воротника |
М |
Дюркопп 212-115105/E112 |
Обтачивают детали, уравнивая срезы. Ширина шва обтачивания 0,8см |
||||||
|
46 |
Разутюживание припуска шва обтачивания |
П |
CS-371 KM +12-45+396B Паннония |
Припуски разутюживают до полного прилегания к деталям. |
||||||
|
47 |
Надсекание припуска шва обтачивания борта и фигурного выступа воротника |
Р |
Ножницы |
В концах уступов проставляют рассечки до строчки обтачивания и надсекают шов не доходя до строчки 2-3мм. |
||||||
|
48 |
Вывертывание борта |
Р |
Спецколышек |
Вывертывают на лицевую сторону, выправляя углы и швы |
||||||
|
49 |
Выметывание края борта |
С/М |
929D Дюркопп |
Борта вымётывают, с образованием канта, прокладывая строчку на расстоянии 7мм от сгиба бортов. |
||||||
|
50 |
Приутюживание края борта |
П |
Cs-1351+12-10+396В «Паннония» |
Край борта приутюживают до полного прилегания |
||||||
|
51 |
Нанесение меловых линий по низу пальто и уточнение |
Р |
Мел, лекало |
Линию подгиба низа пальто намечают по лекалу с лицевой стороны за два приема. Пальто расправляют по низу и подмеляют линию подгиба низа спинки и затем отвертывают нижний край полочки и намечают линию подгиба низа пальто на полочке, для прокладывания конца кромки по борту. |
||||||
|
52 |
Обметывание низа пальто |
С |
737FS-504M2-04 SIRUBA |
Срезы низа пальто обметывают со стороны основной ткани шириной 5-6мм. |
||||||
|
53 |
Заметывание низа пальто |
С/М |
929D Дюркопп |
Низ пальто вправляют и заметывают со стороны припуска на расстоянии 7мм от перегиба низа пальто. |
||||||
|
54 |
Подшивание низа пальто |
М |
Дюркопп 212-115105/E112 |
Припуск на подгиб низа пришивают по низу располагая пальто с правой стороны от работницы изнаночной стороной вверх. |
||||||
|
55 |
Нанесение контрольных меловых знаков на внутренних краях подбортов для притачивания подкладки |
Р |
Мел, лекало |
Пальто раскладывают изнаночной стороной вверх, расправляют срезы подбортов и лекала, и проставляют меловые знаки га подкладке и на подбортах |
||||||
|
56 |
Притачивание подкладки к подбортам и воротнику стойки |
М |
Дюркопп 212-115105/E112 |
Притачивают со стороны подкладки низа левой полочки совмещая надсечки, ширина шва 10мм |
||||||
|
57 |
Втачивание рукавов в проймы |
С/М |
697D Дюркопп |
Рукава втачивают со стороны рукавов швом шириной 10 мм, распределяя посадку рукавов согласно надсечкам. Строчка в концах швов должна заходить одна на другую на 15-20 мм |
||||||
|
58 |
Сутюживание посадки швов втачивания рукавов |
П |
Стол утюжильный Cs-394 K+395/11 Паннония |
На спецколодку пресса одевают пройму рукава, увлажняют шов втачивания рукава в пройму и прессуют. |
||||||
|
59 |
Пришивание подокатников |
М |
Дюркопп 212-115105/E112 |
Подокатники пришивают со стороны проймы рукавов, прокладывая строчку по подокатникам на расстоянии 1-2 мм от швов втачивания рукавов. Подокатники равномерно располагают от плечевого шва в одну и другую сторону. |
||||||
|
60 |
Пришивание верхних плечевых накладок |
М |
Дюркопп 212-115105/E112 |
Плечевые накладки пришивают к пройме, располагая строчку на расстоянии 1 мм от строчки втачивания рукавов. Середину плечевых накладок совмещают с плечевыми швами. |
||||||
|
61 |
Вывертывание рукавов на изнаночную сторону |
Р |
- |
Вывертывают и выправляют |
||||||
|
62 |
Притачивание подкладки к низу рукавов |
М |
Дюркопп 212-115105/E112 |
Подкладку к припуску на подгиб низа рукавов притачивают швом 10 мм прокладывая строчку со стороны рукавов. Концы строчек должны заходить друг на друга на 15 мм |
||||||
|
63 |
Прикрепление припуска на подгиб низа рукава по локтевому шву |
М |
Дюркопп 212-115105/E112 |
|||||||
|
64 |
Вывертывание рукавов на лицевую сторону |
Р |
Спецколышек |
Вывертывают и расправляют |
||||||
|
65 |
Прикрепление проймы подкладки в верхней части с помощью отрезка ткани |
М |
Дюркопп 212-115105/E112 |
Пройму подкладки прикрепляют в верхней части со стороны отрезка ткани над плечевым швами шириной шва 8мм |
||||||
|
66 |
Прикрепление проймы подкладки к нижней части |
М |
Дюркопп 212-115105/E112 |
Прикрепляют к нижней части швом 8мм на расстоянии 8-10см |
||||||
|
67 |
Застрачивание отверстия в шве подкладки рукава |
М |
Дюркопп 212-115105/E112 |
Застрачивают шириной шва 1мм |
||||||
|
68 |
Вывертывание пальто на лицевую сторону |
Р |
Спецколышек |
Вывертывают и расправляют |
||||||
|
69 |
Уточнение подкладки с изделием и подрезка подкладки по низу |
Р |
Мел, ножницы |
Пальто с подкладкой расправляют на столе, подмеляют подкладку по низу и подрезают подкладку по меловой линии. |
||||||
|
70 |
Застрачивание низа подкладки |
М |
Дюркопп 212-115105/E112 |
Подкладку по низу перегибают в сторону изнанки на 28-30мм подгибая внешний срез подкладки внутрь на 8 мм и застрачивают. Строчку прокладывают по припуску на подгиб низа подкладки |
||||||
|
71 |
Прикрепление уголков подбортов к припуску на подгиб низа |
М |
Дюркопп 212-115105/E112 |
Прикрепление уголков подбортов к припуску на подгиб низа |
||||||
|
72 |
Удаление нитей вымётывания бортов |
Р |
Спецколышек |
Удаляют нити выметывания борта, поддевая за один из стежков конца строчки. |
||||||
|
Отделка |
||||||||||
|
73 |
Чистка пальто |
Р |
Спец щетка |
Пальто очищают от пыли и загрязнения щеткой с лицевой и изнаночной сторон. |
||||||
|
74 |
Приутюживание окатов, проймы и верхней части рукавов |
П |
Прессы левый и правый LW-29+LY-152 LW-30+LY-153 |
Рукав пальто берут за пройму со стороны подкладки и заправляют нижнюю ее часть под выдвижную подушку пресса, а окат рукава расправляют на подушке. Другой рукав навешивают на рычаг, расположенный за подушкой пресса. Обрабатывают окат рукава за 2 приёма. Опускают поочередно подушки для обработки передней и задней частей оката рукава, выполняя прессование, одновременно с пропариванием-7с. Для охлаждения изделия включают вакуум-отсос - 5с. Выдвижную подушку прижимают к корпусу пресса и прессуют пройму за один приём одновременно с пропариванием-5с. Выдвижную подушку возвращают в исходное положение. Пропуская пар через выдвижную подушку, обрабатывают верхнюю часть рукава. |
||||||
|
75 |
Приутюживание полочек пальто |
П |
Cs-1351+12-10+396В «Паннония» |
Полочку укладывают лицевой стороной вверх, бортом от работающего так, чтобы выпуклость в области груди на полочке совпадала с выпуклостью на подушке. При этом пройма рукава не должна попадать в зону прессования. Вторую полочку укладывают на другом прессе. При укладывании полочек используют вакуум-отсос. Во время выполнения операции выправляют низ, борта, вытачки, швы. |
||||||
|
76 |
Приутюживание воротника, бортов, низа |
П |
Cs-1351+12-10+396В «Паннония» |
На подушку пресса укладывают обрабатываемые участки изделия, расправляют и прессуют. |
||||||
|
77 |
Приутюживание боковых швов, спинки пальто |
П |
Cs-371 KM+12-45+396В «Паннония» |
На подушку пресса укладывают боковой шов пальто, изделие располагают горловиной вправо, лицевой стороной вверх. После прессования бокового шва изделие перемещают, располагая в зоне обработки спинку и обрабатывают второй боковой шов. При укладывании изделия на подушке используют вакуум-отсос. |
||||||
|
78 |
Приутюживание изделия со стороны подкладки |
У |
Cs-394 KЕ-2+1392 «Паннония» |
Изделие на столе располагают подкладкой вверх, горловиной влево. Подкладку отутюживают, перемещая изделие на себя. 3амины подкладки отутюживают с использованием технологического пара. |
||||||
|
79 |
Обмётывание 5х петель. |
С |
Дюркопп 558-31391E334/28 |
Обметывание петель должно быть, плотным, без просветов между стежками. |
||||||
|
80 |
Наметка мест расположения 5 пуговиц. |
Р |
Мел, лекало |
Место расположения пуговиц намечают с лицевой стороны полочек согласно петлям |
||||||
|
81 |
Пришивание 5 пуговиц. |
С |
Дюркопп 564 - 30/02 - 15 |
Пуговицы пришивают по разметке «с ножкой». Пуговицы пришивают за 10 проколов в каждые 2 отверстия. |
||||||
3.5 Разработка графической модели
технологического процесса
Графическая модель технологического процесса дает в сжатой форме
информацию о технологии изготовления, позволяет систематизировать информацию,
совершенствовать способы, отражает последовательный характер выполнения операций
и способствует систематизации процесса, рациональной организации работы.
ЗАКЛЮЧЕНИЕ
Так как главной задачей швейной промышленности является удовлетворение потребностей покупателей в одежде высокого качества и разнообразного ассортимента. Для совершенствования швейного производства предлагается внедрение высокопроизводительного оборудования, поточных линий, расширение ассортимента и повышение качества изделия, выпуск изделия, пользующийся повышенным спросом, отвечающим по своим показателям лучшим современным образцам.
В курсовом проекте были решены задачи и сделаны выводы:
создание 5 моделей женского пальто-сюртук, учитывая направления моды;
произведен выбор применяемого оборудования;
выбраны методы обработки, режимы и нормы соединения, согласно нормативно-технической документации;
сборочные схемы узлов;
разработана технологическая последовательность обработки пальто.
При выборе оборудования провели сравнительный анализ технических
достоинств оборудования разных производителей. Выбрали оборудование для
изготовления изделий и учли возможность изготовления из разных материалов.
БИБЛИОГРАФИЧЕСКИЙ СПИСОК
1. Промышленная технология одежды: Справочник (П.П.Кокеткин, Т.Н.Кочегура, В.Н.Барышникова и др.) - М.: Легпромбытиздат, 2008. - 640с.
. Савостицкий А.В. и др. Технология швейных изделий. - М.: Легкая индустрия, 2012.- 438с.
.
#"862711.files/image026.gif">
ПРИЛОЖЕНИЕ 3
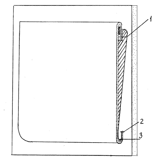
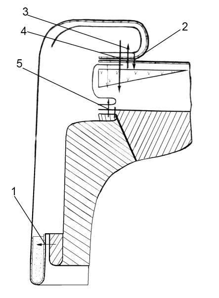
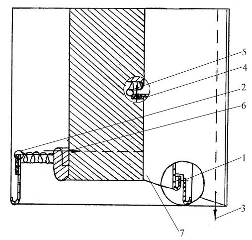
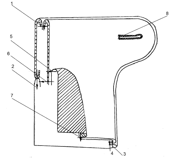
Технический чертеж изделия
1 - 1 Воротник
|
№ строчки |
Код шва |
Ширина шва |
|
1 |
1.01.01/301 |
0,7 |
|
2 |
1.01.01/301 |
0,7 |
|
3 |
1.01.01/301 |
0,7 |
|
4 |
1.01.02/301 |
0,5 |
|
5 |
1.01.01/301 |
1,0 |
|
6 |
504 |
0,5 |
2 - 2 Рукав
|
№ строчкиКод шваШирина шва |
|
|
|
1 |
1.10.01 /301 |
0,8 |
|
2 |
1.01.02/301 |
0,5 |
|
3 |
1.01.01/301 |
1,0 |
|
4 |
1.01.02/301 |
1,0 |
|
5 |
1.01.02/301 |
0,7 |
3 - 3 Борт
|
№ строчкиКод шваШирина шва |
|
|
|
1 |
6.02.06/103.505 |
0,7 |
|
2 |
6.02.06/103.505 |
1,0 |
|
3 |
6.02.06/103.505 |
1,0 |
|
4 |
1.01.02/ 206 |
0,1 |
|
5 |
1.01.02/301.505 |
1,0 |
|
6 |
6.03.01/301 |
- |
4 - 4 Карман
|
№ строчкиКод шваШирина шва |
|
|
|
1 |
1.01.01/301 |
0,7 |
|
2 |
504 |
0,5 |
|
3 |
1.01.01/301 |
1,0 |
5 - 5 Низ пальто
|
№ строчкиКод шваШирина шва |
|
|
|
1 |
1.01.01/301 |
0,8 |
|
2 |
504 |
0,5 |
|
3 |
1.01.01/301 |
1,0 |
|
4 |
1.01.02/301 |
1,0 |
|
5 |
1.01.02/504 |
1,0 |
|
6 |
6.03.01/301 |
3,0 |
|
7 |
301 |
- |