Содержание
Введение
. Обзор и анализ существующих конструкций
. Описание и принцип действия спроектированного механизма
. Расчеты, подтверждающие работоспособность конструкции
.1 Выбор электродвигателя
.2 Кинематический расчёт
.3 Расчёты, подтверждающие работоспособность зубчатой передачи
.3.1 Расчет зубчатых колес на контактную выносливость
.3.2 Расчет зубьев на выносливость при изгибе
.3.3 Основные параметры зубчатой передачи
.3.4Точность зубчатой передачи
.4 Расчёт передачи винт-гайка
.5 Расчёт работоспособности подшипников качения
.6 Силовой расчет вала
.6.1 Определение диаметров валов
.6.2 Расчёт на усталостную прочность
.6.3 Расчёт валов на жёсткость
.7 Расчёт направляющих скольжения
Заключение
механизм подшипник зубчатый вал
Введение
Целью курсового проекта является приобретение навыков принятия самостоятельных конструктивных решений, усвоение последовательности разработки механизмов общего назначения, закрепление учебного материала по расчету типовых деталей приборов.
Привод состоит из электродвигателя и зубчатого редуктора. Электродвигатель выбирается по требуемой мощности и ориентировочной частоте вращения. Зубчатые передачи проектируются по критерию контактной прочности активной поверхности зубьев, проверяются по контактным и изгибным напряжениям. Ориентировочный расчет валов проводится на чистое кручение по пониженным допускаемым напряжениям. Подшипники выбираем по характеру нагрузки на валы и по диаметрам валов, проверяем на долговечность по динамической грузоподъемности. Шпоночные соединения проверяем на смятие.Способ смазки и уровень масла обусловлены компоновкой механизма. Масло выбирается исходя из действующих контактных напряжений и окружной скорости в зацеплениях.
В результате работы должна быть получена
компактная и эстетичная конструкция редуктора, отвечающая современным
требованиям, предъявляемым к механизмам данного назначения.
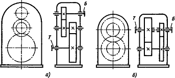
1. Обзор и анализ существующих конструкций.
Наиболее распространены двухступенчатые
горизонтальные редукторы, выполненные по развернутой схеме. Эти редукторы отличаются
простотой, но из-за несимметричного расположения колес на валах повышается
концентрация нагруз ки по длине зуба. Поэтому в этих редукторах следует приме
нять жесткие валы.
Соосная схема позволяет получить меньшие габа риты по длине; это ее основное преимущество.
В соосных редукторах быстроходная ступень зачастую недогружена, так как силы, возникающие в зацеплении колес тихоходной ступени, значительно больше, чем в быстроходной, а межосевые расстояния ступеней одинаковы (aWB = аwt). Указан ное обстоятельство является одним из основных недостатков соосных редукторов. Кроме того, к их недостаткам относят также:
а)большие габариты в направлении геометрических осей валов, по сравнению с редукторами, выполненными по развернутой схеме;
б)затруднительность смазывания подшипников, расположенных в средней части корпуса;
в)большое расстояние между опорами
промежуточного вала, поэтому требуется увеличить его диаметр для обеспечения
достаточной прочности и жесткости.
Очевидно, применение соосных редукторов ограничивается случаями, когда нет необходимости иметь два выходных конца быстроходного или тихоходного вала, а совпадение геометри ческих осей входного и выходного валов удобно при намеченной общей компоновке привода.
В отношении типа зубьев и подшипников в двухступенча тых редукторах справедливо сказанное относительно одно ступенчатых цилиндрических редукторов; часто быстроходную ступень выполняют косозубой, а тихоходную - прямозубой (это относится как к соосным, так и к несоосным редукторам).
Тихоходная ступень при этом может иметь либо шевронные колеса, либо прямозубые.
При раздвоенной быстроходной (или тихоходной)
ступени колеса расположены симметрично относительно опор, что приводит к
меньшей концентрации нагрузки по длине зубьев, чем при применении обычной
развернутой или соосной схемы. Это позволяет иметь в рассматриваемом случае
менее жест кие валы. Быстроходный вал редуктора, показанного на рис., должен
иметь свободу осевого перемещения («плавающий» вал), что обеспечивается
соответствующей конструкцией подшипниковых узлов; в редукторе с шевронными
тихоходными колесами свободу осевого перемещения должен иметь и тихоходный вал.
При соблюдении указанного условия нагрузка распределяется поровну между
параллельно работающими парами зубчатых колес.

Двухступенчатые цилиндрические редукторы обычно приме няют в широком диапазоне передаточных чисел: по ГОСТ 2185 - 66 м = 6,3 ч-63. Крупные двухступенчатые цилиндрические редукторы, выпускаемые НКМЗ, имеют и = 7,334-44,02.
От целесообразной разбивки общего передаточного
числа двухступенчатого редуктора по его отдельным ступеням в значительной
степени зависят габариты редуктора, удобство смазывания
каждой ступени, рациональность конструкции корпуса и удобство компоновки всех
элементов передач. Дать рекомендации разбивки передаточного числа,
удовлетворяющие всем указанным требованиям, невозможно, и поэтому все
рекомендации следует рассматривать как ориентировочные.
2. Описание и принцип действия спроектированного
механизма
Данный механизм предназначен для поднятия груза на высоту 200мм. Преобразует вращение вала электродвигателя в перемещение обьекта.
Данный механизм вертикального перемещения состоит из корпуса, в котором размещаются элементы передачи - зубчатые колёса, валы, подшипники, а так же из направляющей и гармошки, которая защищает от окружающей среды.
Корпус выполним литым. Валы монтируются на подшипниках качения.
Спроектированный в данном курсовом проекте механизм вертикально перемещения соответствует условиям технического задания (приложение 1).
Конструкция механизма отвечает всем сборочным и техническим требованиям.
Крутящий момент с вала двигателя с помощью шпонки передаётся зубчатому колесу. Оно, в свою очередь, вращает зубчатое колесо, которое передаёт крутящий момент следующему зубчатому колесу. Последнее зубчатое колесо передаёт крутящий момент выходному валу.
Сборка и демонтаж соединений проводится в соответствии с чертежом.
Во избежание травм при эксплуатации привода
следует строго соблюдать технику безопасности.
3. Расчеты, подтверждающие работоспособность
конструкции
3.1 Выбор
электродвигателя
Для определения требуемой мощности двигателя
необходимо знать силу тяжести, развиваемую приводом, силу трения и скорость
перемещения каретки. Определяем силу тяжести:
=FТ
+Fтр=m*g+µ*m*g=20*10+0,1*20*10=200+20 = 220H,
где FТ - сила тяжести;тр- сила трения.
Рассчитываем скорость перемещения
каретки:
V=
=0,0033м/c
Переходим к непосредственному
расчету полезной мощности:
P=V *ΣF=0,0033*220=0,67Вт
Находим с учетом кпд механизма
затраченную мощность (принимаем суммарное кпд редуктора и катушки 0,5):
η=![]()
=![]()
Мощность электродвигателя должна быть не ниже
той, которая
была определены выше. Из существующих электродвигателей выбирают
маломощные. Выберем
двигатель УАД с
мощностью10Вт и частотой
вращения
ротора 2800об/мин.
3.2 Кинематический расчёт
Входе проектирования был выбран электродвигатель УАД-42,Р=10 Вт, n=2800 об/мин.
Скорость вращения вала двигателя:
![]()
![]()
ίΣ=29
С учетом передаточного числа мы
можем высчитать скорость вращения выходного вала
nвых=
Погрешность, возникающую при такой операции:
.3.Расчёты, подтверждающие
работоспособность зубчатой передачи
В редукторе используются
цилиндрические зубчатые колёса, выполненные без смещения. Материал ведущего
колёса - Сталь 40Х ГОСТ 4543-71, твёрдость зубьев 45-55 HRCэ
3.3.1 Расчет зубчатых колес на контактную выносливость
Здесь и далее на прочность будут просчитываться элементы, подвергающиеся наибольшим нагрузкам. Однотипные им элементы, подвергающиеся меньшим нагрузкам, просчитываться не будут.
Расчёты даны в соответствии с рекомендациями ГОСТ 21354-75.
Для начала найдем допустимое
контактное напряжение:
![]()
,
где![]()
- предел контактной выносливости
при базовом числе циклов работы. ![]()
. Значение HRC берется для стали
объемной закалки (HRC = 40). ![]()
;
![]()
- коэффициент долговечности. Если
число циклов нагружения каждого колеса больше базового, то принимают ![]()
;
![]()
- коэффициент безопасности, при
объемной закалке ![]()
![]()
.
Далее, пользуясь формулой
проектировочного расчета, найдем допустимое межосевое расстояние:
![]()
,
где Ка для прямозубых передач 49.5- передаточное число, принимается за 10/40=0.25 - наибольшее передаточное число;- передаваемый момент, принят M = 8;
![]()
- коэффициент концентрации
контактной нагрузки, ![]()
;
![]()
- допустимое контактное напряжение,
найдено ранее ![]()
;
![]()
- коэффициент ширины колеса, ![]()
.
![]()
.
Таким образом минимальное межосевое
расстояние составляет 8.2 мм.
3.3.2 Расчет зубьев на выносливость при изгибе
Применим формулу проектировочного
расчета для нахождения минимального модуля зубчатых колес:
![]()
,
Где M - передаваемый момент, принят M = 8;
![]()
- коэффициент нагрузки, ![]()
,
Где![]()
- коэффициент, учитывающий
неравномерность нагрузки по длине зуба, ![]()
;
![]()
- коэффициент, учитывающий
динамическое действие нагрузки, ![]()
.
![]()
.
![]()
- коэффициент, учитывающий форму
зуба, так как количество зубьев 18, то ![]()
;
![]()
- допускаемое напряжение, ![]()
, где
![]()
- предел выносливости, ![]()
;
![]()
- коэффициент безопасности, ![]()
, где