Материал: Применение контроллеров частоты при нефтедобыче

Внимание! Если размещение файла нарушает Ваши авторские права, то обязательно сообщите нам

СПБГУАП группа 4736 https://new.guap.ru/i03/contacts

T

 

9554 P

 

9554 5,5

70 Н м

H

 

 

 

 

 

 

H

 

N

 

750

 

 

 

 

 

(2.1)

где РН - мощность нагрузки в кВт;

N - число оборотов двигателя, об/мин;

ТН - крутящий момент на валу двигателя, (н·м) или (кгс·м).

Необходимо проверять мощность на валу с учетом момента нагрузки и условий окружающей среды. Обычно когда температура уменьшается,

мощность на валу увеличивается.

2.2 Предварительный выбор двигателя/преобразователя на основе

данных и расчетов

а) Выбор мощности двигателя: РДВ. > РНАГРУЗКИ, (кВт). Мощность двигателя должна быть больше мощности нагрузки.

б) Выбор мощности преобразователя частоты.

Мощность преобразователя частоты выбирается так, чтобы номинальный ток двигателя (IДВ) был меньше или равен току на выходе преобразователя частоты (IПЧ)

Дан асинхронный двигатель (таблица 2.1) с короткозамкнутым ротором типа 4А100L4У3, с моментом статической нагрузки Мс=26,7 Н·м и моментом инерции Jрм=0,1 кг·м2. Определить параметры и составить структурную схему силовой части.

Таблица 2.1 Технические данные двигателя 4А100L4У3

Наименование

Размерность

Значение

 

 

 

Номинальная мощность, Рном

кВт

4

 

 

 

Номинальное напряжение сети, U

В

380

 

 

 

Номинальная частота питающей сети, fc

Гц

50

 

 

 

Синхронная частота вращения, nо

об/мин

1500

 

 

 

Номинальное скольжение, sном

%

4,6

 

 

 

Скольжение критическое, sкр

%

31,5

 

 

 

СПБГУАП группа 4736 https://new.guap.ru/i03/contacts

Отношение Мпуск ном

-

2,0

 

 

 

Отношение Мминном

-

1,6

 

 

 

Отношение Мкр ном

-

2,4

 

 

 

Отношение Iпуск /Iном

-

6,0

 

 

 

Момент инерции, Jдв

кг*м2

0,011

 

 

 

КПД, cosφном

%

87

 

 

 

Коэффициент мощности, cosφном

-

0,83

 

 

 

Таблица 2.2 Параметры схемы замещения в относительных единицах

Параметры

Хμ

В номинальном режиме

При коротком замыкании

 

 

 

 

 

 

 

 

 

 

 

 

Статора

Ротора

 

 

 

 

 

 

 

 

 

 

 

 

 

 

 

 

R1

X1

R2

 

X2

R2п

Rкп

X2

 

 

 

 

 

 

 

 

 

 

В отн. единицах

2,4

0,067

0,079

0,053

 

0,14

0,058

0,13

0,15

 

 

 

 

 

 

 

 

 

 

Номинальный фазный ток статора определяется по формуле:

I1ф.ном.

P2ном.

 

4000

 

8,9 А

(2.2)

3U1ф. cos

3 220 0,82 0,83

 

 

 

 

Значение параметров схемы замещения в именованных единицах определяются по формулам:

x X

U

1ф.

24,7 X

 

 

I

 

 

 

 

 

1ф.ном

 

 

 

 

 

r R

 

U1ф.

 

24,7R

 

I1ф.ном

 

 

 

, (2.3)

(2.4)

где x, r – сопротивление, Ом

X, R – сопротивление, отн. ед.

Результаты расчета сопротивлений в именованных единицах представлены в таблице 2.3.

СПБГУАП группа 4736 https://new.guap.ru/i03/contacts

Таблица 2.3 Параметры схемы замещения в именованных единицах

Параметры

Хμ

В номинальном режиме

При коротком замыкании

 

 

 

 

 

 

 

 

 

 

 

Статора

Ротора

 

 

 

 

 

 

 

 

 

 

 

 

 

 

R1

X1

R2

X2

R2п

Rкп

X2

 

 

 

 

 

 

 

 

 

Сопротивление в Ом

59,28

1,64

1,95

1,31

3,46

1,43

3,21

3,71

 

 

 

 

 

 

 

 

 

В силовую часть электропривода входят асинхронный двигатель с короткозамкнутым ротором и комплектный преобразователь частоты.

Условием выбора преобразователя частоты является соответствие номинального напряжения и тока тиристорного преобразователя номинальным параметрам двигателя, т.е.

UТПном > U1ном, IТПном > I1ном.

Для питания двигателя выбран комплектный электропривод типа АТО4

5,5 (рисунок 2.2.1). Данный преобразователь является тиристорным электроприводом с автономным инвертором напряжения.

Параметры тиристорного преобразователя представлены в таблице 2.4.

Таблица 2.4 Данные комплектного электропривода АТО4 5,5

Наименование

Размерность

Значение

 

 

 

Напряжение питающей сети, Ucном

В

380

 

 

 

Частота питающей сети, fном

Гц

50±2%

 

 

 

Число фаз, m

-

3

 

 

 

Номинальное напряжение

В

0±380, ±2%

выходное, линейное U1

 

 

 

 

 

Номинальный ток, I1

А

11

 

 

 

Выходная частота, f1

Гц

0±400, ±0,05%

 

 

 

Ток перегрузки, Iдоп

%

150

 

 

 

Длительность перегрузки, t

с

60

 

 

 

Электропривод АТО4 5,5 предназначен для высокодинамичных электроприводов механизмов с высокими требованиями к регулированию параметров при четырехквадрантном управлении.

СПБГУАП группа 4736 https://new.guap.ru/i03/contacts

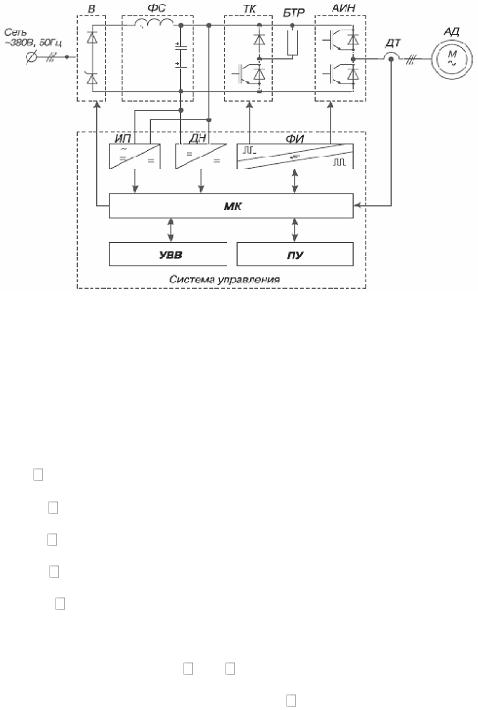
Рис. 2.1 Комплектный электропривод АТО4 5,5

B – силовой полууправляемый выпрямитель

ФС – силовой LC-фильтр звена постоянного напряжения;

ТК – тиристорный ключ реостатного торможения (тормозной ключ);

БТР – блок тормозного резистора.

АД асинхронный электродвигатель;

ИП источник питания (конвертор);

ДН датчик напряжения;

ФИ формирователь управляющих сигналов тиристоров (драйвер);

МК микропроцессорный контроллер.

Силовой канал В ФС АИН осуществляет двухступенчатое преобразование электрической энергии выпрямление сетевого напряжения с помощью нерегулируемого выпрямителя В и последующее инвертирование выпрямленного постоянного по величине напряжения посредством автономного инвертора напряжения АИН. Алгоритм ШИМ обеспечивает взаимосвязанное регулирование частоты F и величины U выходного напряжения по заданному закону, а также формирует синусоидальную форму кривой тока приводного АД.

Для реализации режима динамического (реостатного) торможения в звено постоянного тока электропривода включён тормозной тиристорный

СПБГУАП группа 4736 https://new.guap.ru/i03/contacts

(IGBT), ключ ТК и внешний блок тормозного резистора БТР. Датчики тока ДТ и напряжения ДН в силовом канале электропривода служат для контроля,

регулирования и измерения электрических параметров электропривода, в т.ч.

для защиты от токов перегрузки и короткого замыкания, недопустимых отклонений напряжения.

Многоканальный источник питания ИП преобразует сетевое переменное напряжение или выпрямленное напряжение звена постоянного тока в систему напряжений постоянного тока требуемых уровней и степени стабильности,

гальванически связанных и не связанных между собой, для питания устройств управления.

Микропроцессорный контроллер МК осуществляет формирование режимов работы электропривода с заданными параметрами с помощью сигналов управления: сигналов ШИМ – управления тиристорами АИН,

сигналов защиты и аварийного отключения электропривода, приёма и передачи внешних управляющих, задающих и информационных сигналов.

2.3 Расчет и выбор элементов выходного фильтра

На выходе с автономного инвертора напряжения расположен фильтр.

Наиболее распространенным видом выходного фильтра является LC – фильтр.

Основным требованием, предъявляемым к фильтру, является обеспечение заданного коэффициента гармоник переменного напряжения в стационарном режиме.

Индуктивность фильтра определяется по формуле:

L

 

0,25 Е

max

 

 

 

 

 

 

 

 

 

ф2

 

(0,4...0,6)

f

 

I

 

 

 

k

1ном.

 

 

 

 

 

 

(2.5)