ℓз >= ℓн (15)
Разработка грунта ведется отдельными полосами (проходками) через одну для обеспечения равномерной нагрузки на скрепер, либо по ребристо-шахматной схеме (рис.9).
Площадь набора грунта разбивают в продольном направлении на ряд полос с промежутками между ними примерно в 1/2 ширины ножа скрепера. При первом проходе грунт срезают на каждой полосе по всей ширине ножа скрепера, при втором – отступив от начала первого на половину длины набора, при этом ось движения скрепера должна совпадать с осью оставленного промежутка между проходами первого ряда.
Для облегчения разработки плотных грунтов применяется предварительное рыхление. Отсыпка грунта производится горизонтальными слоями.
Формы стружки грунта при наборе зависит от свойств и состояния грунтов, формы ножей скрепера, глубины резания и оснащенности скрепера, устройством автоматического управления.

Рис.10. Форма стружки, срезаемой скрепером:
1– обычная (постоянной толщины); 2 – гребенчатая; 3 – клиновидная.
Степень наполнения ковша скрепера характеризуется коэффициентом наполнения Кн, который, как правило, находится в пределах 0,8–1,1 в зависимости от грунта и выбранной схемы резания.
Наполнение ковша скрепера производится только при движении скрепера по прямой на первой передаче со скоростью 2–4 км/ч.
Хороший эффект дает применение толкачей. Для более рационального использования бульдозеров-толкачей каждый скрепер начинает набирать грунт там, где закончил загрузку предыдущий, а бульдозер-толкач перемещается назад так, чтобы не препятствовать подходу следующего скрепера, т.о. сократится количество холостых ходов.
При наборе и выгрузке грунта совмещают операции подъема заслонки и опускания ковша, закрытия заслонки и подъема ковша.
При транспортировке грунта скрепер переводится в транспортное положение. Ковш поднимается над поверхностью грунта на 0,4–0,5 м. При ширине разработки выемки 34 м и более скрепер может развернуться для обратного хода.
По окончании разгрузки ковш скрепера устанавливают в транспортное положение, увеличивают скорость движения и направляют скрепер для очередного набора грунта. Повороты скрепер выполняет с пустым ковшом.
2. В состав скреперного модуля для планировки площадки включается несколько скреперов (четное количество) – 2- 4. Для обеспечения высокой производительности работы скреперов в модуль включается рыхлитель, бульдозер-толкач и грунтоуплотняющие машины. Количество вспомогательных машин определяется исходя из возможности использования возможной производительности скреперов.
Пример. На определенном участке дальность транспортировки грунта составляет 360 метров. В состав модуля включено 2 скрепера самоходных. Суточная производительность скреперов составляет
Псут = (100 / (1,4+0,16)) *8* 2 *2 = 2052 м3/сут.
Здесь принимаем прицепной скрепер на тракторе ДЭТ-250, вместимость ковша 15 м3, II группа грунтов;
1,4 – норма из ЕниР, машино-часов / 100 м3;
0,16 – добавка на каждые 100 м сверх первых 300 м (по дорогам с покрытиями низшего типа)
8 – продолжительность рабочей смены, ч;
2 – число рабочих смен в сутки;
2 – число ведущих машин в комплекте.
Отсыпка ведется послойно и уплотнение прицепным пневмоколесным катком. По заданному коэффициенту уплотнения, толщина уплотняемого слоя составляет 0,25м. П роизводительность грунтоуплотняющей машины в этом случае составит 3440,8 м2/сут, что больше производительности скреперного модуля, поэтому принята одна грунтоуплотняющая машина.
Состав модуля должен быть представлен в таблице по форме табл.2 (стр.25).
3. Укладка и уплотнение грунта в насыпи.
При укладке грунта скреперами его разравнивают ножом скрепера в процессе отсыпки с последующим разравниванием бульдозером. Перед уплотнением отсыпка грунта производится послойно. Для уплотнения используется грунтоуплотняющая машина.
Толщина отсыпаемых слоев грунта в насыпь зависит от способа уплотнения грунта. При легких катках отсыпка ведется слоями толщиной 50-30 см; при тяжелых катках, виброкатках и трамбующих плитах толщина уплотнениях слоев может быть поведена до 0,5 - 1,0 м.
В процессе отсыпки и уплотнения грунта ведется контроль плотности, как описано в п.5.
III. Организация труда рабочих.
Оформить в виде таблицы см. п.1.5.1. табл.1., стр.26.
Работа по возведению насыпи скрепером производится поточным методом в 1–2 смены комплексно-механизированными бригадами. В состав бригады могут входить:
1) для работы на прицепном скрепере:
с тягой тракторами ДТ-75, Т-74 – машинист 5-го разряда;
с тягой тракторами Т-100, Т-180, ДЭТ-250 – машинист 6-го разряда;
2) для работы на самоходном скрепере – машинист 6-го разряда;
3) для управления бульдозером:
на тракторе ДТ-74, Т-74 – машинист 5-го разряда;
на тракторе Т-100, Т-130, Т-180, ДЭТ-250 – машинист 6-го разряда;
4) для работы прицепного решетчатого катка:
с трактором Т-80 – тракторист 6-го разряда;
для прицепного катка на пневматических шинах ДУ-39А – тракторист 6-го разряда;
для бульдозера- рыхлителя грунта на базе трактора Т-100 машинист 6 разряда.
IV. Материально-технические ресурсы.
Оформить в виде таблицы см. п.1.5.1. табл.4.
V. Календарный график производства работ на площадке.
Методика проектирования календарного графика приведена в разделе 1.4. стр.18,19 настоящего пособия
VI. Калькуляция затрат труда.
Расчет потребного количества затрат труда в человеко-днях и затрат машинного времени в машино-сменах приведен в п.1.5.1. стр.26.
VII. Контроль и качество выполненных работ.
Выполнить в виде таблицы 4 и 5 в п.1.5.1 стр.26.
VIII. Технико-экономические показатели.
Основные технико-экономические показатели приведены в таблице 6 в п.1.5.1. стр.27.
Котлованы представляют собой временные выемки устраиваемые для возведения частей здания или сооружения расположенных ниже поверхности земли.
Объем земляных работ при устройстве котлована вычисляют по проекту, составленному в соответствии с отметками заложения фундаментов и дна котлована, планом участка в горизонталях и принятой крутизной откосов.
Устойчивость вертикальных стен котлована должна обеспечиваться установкой креплений, либо требуется устраивать откосы в соответствии с табл.7.
Таблица 7.
|
Наименование грунта |
Крутизна откоса – отношение его высоты к заложению при глубине котлована не более, м |
||
|
1,5 |
3,0 |
5,0 |
|
|
Песок, гравий |
1:0,50 |
1:1,0 |
1:1,0 |
|
Супесь |
1:0,25 |
1:0,67 |
1:0,85 |
|
Суглинок |
1:0,00 |
1:0,50 |
1:0,75 |
|
Глина |
1:0,00 |
1:0,24 |
1:0,50 |
Наиболее широко для отрывки котлованов применяются одноковшовые экскаваторы (обратная лопата, драглайн, прямая лопата).
При выборе экскаватора по емкости ковша, можно ориентироваться рекомендациями таблицы 8:
Таблица 8.
|
Месячный объем переработки грунта, тыс.м3 |
Экскаватор с емкостью ковша, м3 |
|
до 20 |
0,4 – 0,65 |
|
20 – 60 |
1,0 – 1,6 |
|
60 – 100 |
1,6 – 2,5 |
Экскаватор «обратная лопата» разрабатывает грунт ниже уровня стояния и поэтому может разрабатывать котлованы и траншеи в переувлажненных грунтах. Работа может осуществляться в отвал или с погрузкой на транспорт. Недостатком является ограниченная глубина копания (до 6,0 м). Особенно эффективно применение этих экскаваторов для разработки траншей с вертикальными стенками.
Экскаватор драглайн применяется для разработки глубоких котлованов в сухих и переувлажненных грунтах. Особенно эффективна работа в отвал. Глубина резания до 20 м.
Экскаватор прямая лопата разрабатывает грунт выше уровня стоянки и применяется при разработке котлованов преимущественно в сухих грунтах. Из-за конструктивных особенностей этого вида оборудования его почти не применяют для работы с отсыпкой в отвал.
Экскаватор обратная лопата и драглайн разрабатывает котлован торцевыми или боковыми проходками. При торцевой проходке экскаватор разрабатывает грунт по обе стороны от оси движения в зависимости от того, с какой стороны подходит машина. При боковой проходке разработка грунта происходит по одну сторону оси движения экскаватора. При разработке котлована с погрузкой грунта в автосамосвалы более производительная торцевая проходка (рис.11).
Экскаватор прямая лопата разрабатывает выемки лобовой проходкой в транспортные средства, которые размещаются непосредственно в забое либо несколько выше уровня подошвы забоя.

Рис.11. Схемы разработки котлованов различной ширины торцевыми
проходками экскаваторов обратная лопата и драглайн:
а –нормальной ширины; б, д –с продольным перемещением экскаватора несколькими проходками; в –уширенной с перемещением экскаватора по зигзагу; г – уширенной с поперечным перемещение экскаватора.
2.1. Технологическая карта на разработку котлована экскаватором обратная лопата ЭО-4321 с ковшом емкостью 0,65 м3.
I. Область применения
Технологическая карта предусматривает разработку грунта в котловане размером в плане 37,41х17,17 м, глубиной 2,5 м для устройства фундаментов (рис.12).
Строительство ведется в г. Ижевск. Климатический район I. Глубина промерзания -1,70 м. Грунт – тяжелый суглинок, γ = 1800 кг/м3, группа грунта II, крутизна откосов 1:0,5.

Рис.12. План котлована
Работы выполняются в 2 смены.
В состав работ, рассматриваемой картой, входят: разработка и транспортирование грунта; подчистка дна котлована.
П. Организация и технология строительного процесса.
1.До начала разработки грунта в котловане должны быть выполнены следующие работы:
Очистка территории;
Снятие растительного слоя грунта;
Планировка площадки в зоне расположения котлована;
Отвод поверхностных вод;
Геодезическая разбивка;
Устройство временных дорог;
2. Подчистка дна котлована ведется бульдозером и вручную. При подчистке дна бульдозером, грунт изымается из котлована экскаватором, с торца котлована.
3. Грунт для обратной засыпки размещается вдоль одной длинной стороны котлована.
4. Лишний грунт вывозится за пределы строительной площадки автосамосвалами КамАЗ-5511 на расстояние 3 км.
5.Котлован разрабатывается в 2 торцевые проходки.
6. Расчет №1. Определение объемов земляных работ.
6.1. Для подсчета объемов земляных работ котлован разбивается на простейшие геометрические фигуры.
,м3
(15)
где Н - глубина котлована;
-
площади нижнего и верхнего основания
котлована.
Также в объем V= 0,5*2,5*(37,41*17,17+34,91*14,67) = 1443,07м3 ,
где Н - средняя глубина котлована;
F1,F2- площади нижнего и верхнего основания котлована.
6.2.Объем земляных работ для устройства въездной траншеи (для спуска бульдозера):
,
где m`В и m – коэффициенты заложения откосов соответственно дна траншеи и котлована; b – ширина въездной траншеи по дну; Н – глубина котлована, 30°- уклон въездной траншеи.
6.3.Объем
грунта при зачистке котлована:
,
где
Sф – площадь фундаментов по низу, м2; hн – величина недобора грунта экскаваторами. При объеме ковша 0,65м3, hн = 0,15м (при объеме ковша >0,65м3 принимаем hн = 0,20м).
Vзач=427,43*0,15=64,11м3.
6.4.Объем
грунта для засыпки пазух котлована:
,
где Vк-
объем котлована; Vф-
объем фундаментов; Кор
=1,07 –коэффициент остаточного разрыхления.
![]()
6.5. Объем грунта, подлежащий вывозке:
![]()
Таблица 1
|
№№ пп. |
Объем котлована Vк, м3 |
Объем грунта при зачистке котлована Vзач,м3 |
Объем грунта обратной засыпки Vоз, м3 |
Объем лишнего грунта Vлг, м3 |
|
1 |
2 |
3 |
4 |
5 |
|
1 |
1378,68 |
64,11 |
289,81 |
1088,87 |
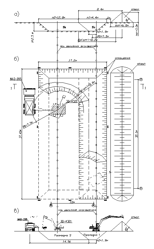
7. Определение размеров земляного сооружения. Разбивка на проходки и размещение отвала (рис.13).
Принят: Экскаватор ЭО-4321 с емкостью ковша 0,65 м3;
Максимальный радиус копания на уровне стоянки – Rmax=9,1 м;
Наибольшая глубина копания – 6м;
Продолжительность цикла – 27 сек.;
Радиус разгрузки при высоте 3 м – 7,5м;
Оптимальный радиус резания Rр=0,9*9,1=8,19м.
Принимаем следующую последовательность производства работ: разбиваем котлован на две продольные проходки. Первая проходка будет разрабатываться навымет, в отвал, расположенный в 1 метре от бровки котлована, вторая – с погрузкой в автосамосвалы.
Размер I проходки определяется исходя из того, что этот грунт будет использован для засыпных пазух.
Площадь поперечного сечения первой проходки:
SI= Vоз/ lк =289,81/37,41=7,84 м2;
Ширина поперечного сечения по дну котлована m0:
m1 = (SI-mH2)/ H= (7,84-0,5*2,52)/2,5 = 1,9м,
где m - коэффициент заложения откоса
H – глубина котлована.
Ширина поперечного сечения по верху котлована m1:
m2= m1 +2 mH=1,9+2*0,5*2,5=4,4м.
Ширина поперечного сечения по верху котлована второй проходки m2:
m3=В- m2= 17,17- 4,4= 12,8м
Площадь поперечного сечения второй проходки:
SII = m3*Н=12,8х2,5 =31,9м2;
Размеры отвала определяются:
Fот = SI х кр =7,84 х 1,2 = 9,41 м2,
где кр = 1,2 – коэффициент первоначального разрыхления грунта;
hот = √9,41= 3,01 м; bот = 3,01 х 2 = 6,02 м.
Для разработки котлована применяется гидравлический экскаватор ЭО-4321 с навесным оборудованием обратная лопата, с емкостью ковша 0,65 м3.
Для зачистки дна котлована применяется бульдозер ДЗ-42 на тракторе ДТ-75.
8. Выбор транспортных средств для транспортирования грунта.
Исходя из рекомендаций оптимального использования техники, т.е. 3-5 ковшей экскаватора должно помещаться в кузов автосамосвала, принимаем согласно таблице технических характеристик автосамосвала [3] и принимаем автомобиль МАЗ-205, грузоподъемностью 6 т.

Рис.13. Технологическая схема разработки котлована:
а) расчетная схема котлована; б) схема разработки грунта в плане; в) схема последовательности выполнения земляных работ в разрезе.