Материал: Перспективы повышения эффективности обеспечения питьевой водой потребителей города Дзержинский Московской области

Внимание! Если размещение файла нарушает Ваши авторские права, то обязательно сообщите нам

5.2 Разработка конструкций для очистки подземных вод

.2.1 Устройство для обезжелезивания воды

Систематическое употребление воды с повышенным содержанием железа приводит к развитию заболеваний печени и крови, сердечнососудистым заболеваниям и появлению у человека разнообразных аллергических реакций. Оседая в организме, железо ухудшает ежедневное самочувствие и, в конечном счете, может стать причиной необратимых последствий. Кроме того, вода с высоким содержанием железа приобретает желто-бурую окраску, металлический привкус, неприятный запах, вызывает зарастание водопроводных сетей. Такая вода практически непригодна для технического и питьевого применения [9].

Чтобы не создавать угрозу возникновения и распространения заболеваний, здоровью и жизни населения показатели качества питьевой воды, в частности, содержание железа, должны соответствовать действующим нормативным документам, а процесс обезжелезивания должен быть эффективным.

Традиционные методы обезжелезивания имеют большое количество недостатков, таких как высокая стоимость, громоздкость сооружения, ограниченную область применения, поэтому в выпускной квалификационной работе будем применять новую технологию обезжелезивания воды, разработанную в ВоГУ. Данная технология подтверждена патентом RU № 2501740 [22].

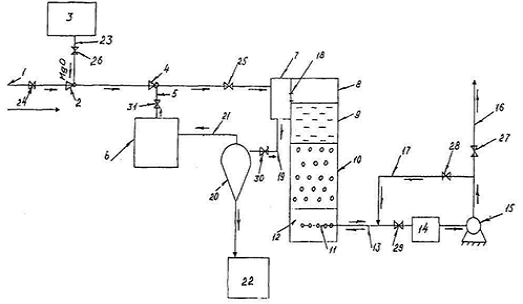
Изобретение относится к области обработки подземных вод с повышенным содержанием железа и может быть использовано в процессах водоподготовки для питьевых и технических целей. Устройство для обезжелезивания воды (рисунок 5.5) включает не менее двух емкостей, представляющих собой вертикально расположенные корпусы цилиндрической формы из диэлектрика, на внутренней поверхности которых расположены инертные аноды 7 в виде спирали, а в центре - железные катоды 8 в виде круглых стержней, к входам в корпусы подсоединены электрифицированные задвижки 9, соединенные с подающей трубой насоса 3, в верхних частях корпусов расположены воздушные вантузы 10, соединенные с вентиляционными трубами 11, на выходах из корпусов расположены трубы для отвода чистой воды 12 с электрифицированными задвижками 13 и отвода промывной воды 14 с электрифицированными задвижками 15.

На трубе отвода чистой воды расположены датчик расхода воды 16 и датчик содержания в воде железа 17. Труба промывной воды подсоединена к тангенциальному входу гидроциклона 18, верхний выход которого соединен с трубой сброса промывной воды 19 в канализацию, а нижний выход направлен в емкость для утилизации гидроксида железа 21. Блок управления 5 соединен проводниками с источником постоянного тока 4, всеми электрифицированными задвижками, датчиком расхода воды и датчиком содержания в воде железа. Технический результат - повышение надежности процесса обезжелезивания воды, гарантированное качество очищенной воды.

Рисунок 5.5 - Схема устройства обезжелезивания воды

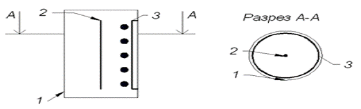
Методика проектирования камеры обезжелезивания воды. Главным элементом устройства для обезжелезивания воды является корпус (камера) из диалектрика, в который входят катод и анод. Схема камеры показана на рисунке 5.6

Рисунок 5.6 - Схема камеры: 1 - корпус для диэлектрика; 2 - катод; 3 - анод

Целью проектирования камеры обезжелезивания воды является определение диаметра и высоты корпуса, а также размеров катода, при котором будут полностью удаляться ионы железа [23].

Устройство для обезжелезивания воды работает следующим образом. В соответствии с технологическим регламентом эксплуатации устройства в блок автоматического управления 5 введены следующие установки:

- суточный график обеспечения расходов очищенной воды, подаваемой потребителям;

периодичность переключений с режимов обезжелезивания на режимы промывки и обратно;

максимальная допустимая величина остаточного содержания железа в очищенной воде;

начальная скорость движения воды снизу вверх в корпусах цилиндрической формы 6 определяется на основании предварительно проведенных исследований;

промежуток времени между сбросом суспензии, содержащей гидроксид железа в емкость для утилизации 21 и открытием задвижки 22;

алгоритмы управления всеми электрифицированными задвижками составляются по результатам предпусковых испытаний.

Перед началом работы закрыты все электрифицированные задвижки и отключен источник постоянного тока 4. После включения насоса 2 по сигналу блока управления 5 включается источник постоянного тока 4, подающий разности потенциалов на катоды и аноды, а также последовательно осуществляется открытие задвижек 9 и 13. В начальный период во всех корпусах обеспечиваются режимы обезжелезивания воды. При этом удаление пузырьков газов, в состав которых входит водород, производится через установленные в верхних частях камер вантузы 10 откуда пузырьки небольшими порциями попадают в вентиляционные трубы 11, через которые удаляются в атмосферу. На основании сигналов датчиков расхода воды 16 и содержания в воде железа 17 в дальнейшем обеспечивается включение и отключение корпусов задвижками, а также гибкое регулирование задвижек 9 и 13 для обеспечения требуемого качества воды на выходе из корпусов. При переключении одного корпуса на режим промывки закрывается задвижка 13, открывается задвижка 15 и регулируется открытие задвижки 9 для пропуска через корпус 6 расхода промывной воды. Промывная вода с частицами гидроксид а железа поступает в гидроциклон 18, откуда основной объем промывной воды сбрасывается в канализацию по трубе 19, а суспензия, содержащая частицы гидроксида железа поступает по трубе 20 в емкость для утилизации 21. В этой емкости частицы гидроксида железа оседают на дно, после чего по команде блока управления 5 открывается задвижка 23 и верхний слой      промывной воды сбрасывается в канализацию по трубе 22. Все операции по автоматическому управлению устройства для обезжелезивания воды выполняет блок управления 5.

По сравнению с традиционными станциями обезжелезивания данное устройство обладают следующими преимуществами:

) высокая надежность процесса обезжелезивания воды за счет гибкого автоматического управления;

) гарантированное качество очищенной от железа воды независимо от количества ионов железа в исходной воде;

) расширение возможностей применения за счет компактности оборудования: появляется возможность устанавливать устройства на каждой водозаборной скважине, при этом отпадает необходимость строительства дорогостоящих водоочистных сооружений с насосными станциями и водоводами, подающими исходную воду на эти станции и отводящими очищенную воду для подключения к сети потребителей;

) значительное снижение строительной стоимости устройства за счет его малых габаритов и возможности расположения в существующих павильонах над скважинами;

) уменьшение эксплуатационных затрат за счет полной автоматизации, отсутствия необходимости в использовании расходных материалов (реагенты, мембраны, растворимые электроды) и минимальных затрат электроэнергии на очистку (градиент потенциала 2 В/см, сила тока от 0,01 до 0,07 А);

) безотходная технология: попутное получение ценного продукта - гидроксида железа, который является дорогостоящим каталитическим сорбентом нового поколения [22].

Для микрорайона Школьный необходимо принять 4 камеры обезжелезивания воды с высотой равной 1 м, диаметром 1,5 м для одной скважины с производительность 1281,5 м3/сут. Оценочная стоимость устройства с 4 камерами составляет 180 000 руб. Таким образом, в ближайшее время все остальные микрорайоны города Дзержинский будут использовать именно этот метод очистки воды от железа, существующую станцию обезжелезивания реконструируем для очистки воды от фтора.

5.2.2 Устройство для обесфторивания воды

Фтор относится к микроэлементам, содержание которых в воде для нормальной жизнедеятельности человека должно находиться в строго определенном количестве. Малые и большие концентрации фтора в питьевой воде вредны для человеческого организма. При употреблении питьевой воды с содержанием фтора более 1,5 мг/л у населения развивается флюороз, нарушение окостенения скелета и истощение организма. Поэтому воду перед поступлением к потребителям её необходимо очистить [24].

Традиционные методы обесфторивания не подходят из-за высокой стоимости и громоздкости, я предлагаю реконструировать имеющуюся в городе Дзержинский станцию обезжелезивания для способа обесфторивания разработанного в ВоГУ патент RU № 2274608 [25].

Изобретение относится к области очистки природных подземных вод от фторид-ионов и может быть использовано в процессах водоподготовки для питьевых и технических целей.

Для осуществления способа в обрабатываемую воду вводят магнийсодержащий реагент с последующим образованием и отделением осадка оксифторида магния, причем в качестве реагента используют оксид магния, который с очищаемой водой подают в надфильтровый слой скорого фильтра, толщина которого должна быть не менее 1,6 м, фильтрующий слой из тяжелой зернистой загрузки толщиной не менее 0,8 м, с эквивалентным диаметром зерен 0,7-0,8 мм, коэффициентом неоднородности 1,8-2 при скорости фильтрования не более 10 м/ч. Устройство для обесфторивания воды включает систему дозирования оксида магния, скорый фильтр с тяжелой зернистой загрузкой, трубу отвода обесфторенной воды, резервуар чистой воды и систему подачи воды для промывки фильтрующей загрузки, причем труба подачи исходной воды соединена с надфильтровым слоем скорого фильтра, а труба отвода промывной воды соединена с входом гидроциклона, нижний выход которого направлен в емкость для сбора осадка оксифторида магния. Верхний выход направлен в емкость для сбора очищенной промывной воды, куда также опущена всасывающая труба, соединенная с другой стороны со штуцером эжектора, расположенного на трубе подачи исходной воды на отрезке между точками ввода магнийсодержащего реагента и ввода этой трубы в скорый фильтр.

Схема устройства обесфторивания воды оксидом магния представлена на рисунке 5.7

Рисунок 5.7 - Схема устройства обесфторивания воды оксидом магния: 1- подача исходной воды; 2, 4 - эжектор; 3 - емкость; 5 - всасывающая труба; 6 - емкость для хранения очищенной (отделенной от осадка оксифторида магния) промывной воды; 7 - боковой карман скорого фильтра; 8 - скорый фильтр; 9 - надфильтровый слой воды; 10 - фильтрующий слой; 11 - дренажная система; 12 - подфильтровое пространство; 13 - труба отвода очищенной воды; 14 - трубопровод подачи воды в РЧВ; 15 - патрубок насоса; 16 - трубопровод подачи воды потребителям; 17 - трубопровод подачи промывной воды в дренажную систему; 18 - отверстие для пропуска исходной воды; 19 - трубопровод отвода промывной воды; 20 - гидроциклон; 21 - трубопровод отвода очищенной промывной воды; 22 - емкость для сбора осадка оксифторида магния; 24 - 31 - задвижки

Устройство работает следующим образом. При режиме обесфторивания открыты задвижки 24,25,26, 29 и 27. Закрыты задвижки 28 и 30. Задвижка 31 при этом режиме окрывается на время удаления очищенной промывной воды из емкости 6. Исходная вода из источника по трубе подачи исходной воды 1 проходит через эжектор 2, где в воду добавляется оксид магния из емкости 3. Затем проходит через эжектор 4, где в исходную воду периодически добавляется очищенная промывная вода из емкости 6, и поступает в боковой карман фильтра 7, откуда через отверстие 18 поступает в корпус скорого фильтра 8. Фильтрование в скором фильтре 8 осуществляется сверху вниз со скоростью не более 10 м/ч. При этом сначала в надфильтровом слое 9 происходит реакция обесфторирования воды с образованием осадка оксифторида магния. Этот осадок задерживается в порах зернистого фильтрующего слоя 10, а очищенная обесфторенная вода поступает в подфильтровое пространство 12, где с помощью дренажной системы 11 собирается и по трубе отвода очищенной воды 13 направляется в резервуар чистой воды 14. Из резервуара чистой воды 14 вода забирается насосом 15 и подается по трубе 16 потребителям. При переходе на режим промывки сначала закрываются задвижки 26, 24, 31 (если перед режимом промывки она была открыта), 25, 29 и 27. Открываются задвижки 28 и 30. Интенсивность и продолжительность промывки принимаются по СНиП. Промывная вода по трубам 17 и затем 13 поступает в дренажную систему 11, проходит снизу вверх через фильтрующую загрузку, взмучивает ее и выносит из загрузки осадок оксифторида магния; затем промывная вода через отверстие 18 попадает в боковой карман и оттуда по трубе 19 поступает на вход гидроциклона 20. В гидроциклоне отделившийся осадок оксифторид магния через нижний патрубок попадает в сборную емкость 22, а очищенная промывная вода по трубе 21 поступает в емкость 6, откуда с помощью трубы 5 и эжектора 4 вводится в общий поток исходной воды. После промывки закрываются задвижки 28 и 30, открываются задвижки 24, 25, 29, 27. Начинается процесс обесфторирования. Соединение трубы подачи исходной воды с надфильтровым слоем скорого фильтра значительно упрощает конструкцию устройства, так как отпадает необходимость подачи исходной воды с введенным в нее магнийсодержащим реагентом до фильтра в осветлитель со взвешенным осадком. Кроме того, исключается необходимость устройства системы приготовления и дозирования подщелачивающего реагента для обрабатываемой воды и системы приготовления и дозирования подкисляющего реагента для обесфторенной воды. Это в свою очередь также упрощает эксплуатацию устройства, уменьшает строительные и эксплуатационные затраты. Соединение трубы отвода промывной воды с входом гидроциклона, нижний выход которого направлен в емкость для сбора осадка оксифторида магния, а верхний выход - в емкость для сбора очищенной промывной воды, обеспечивает возможность отделения и утилизации осадка оксифторида магния для последующего его использования в качестве фторсодержащего реагента [26].

Соединение верхнего выхода гидроциклона с емкостью для сбора очищенной промывной воды, куда также опущена всасывающая труба, соединенная с другой стороны со штуцером эжектора, расположенного на трубе подачи исходной воды на отрезке между точками ввода магнийсодержащего реагента и ввода этой трубы в скорый фильтр, позволяет увеличить производительность устройства, так как большая часть объема обесфторенной промывной воды (до 90 %) возвращается в поток, поступающий на скорый фильтр. Кроме того, также способствует уменьшению эксплуатационных затрат, так как не требуется дополнительное расходование магнийсодержащего реагента на промывную воду, введенную в трубу подачи исходной воды.

Устройства обладают следующими преимуществами:

) упрощается технология;

) улучшается качество очищенной воды;

) улучшаются потребительские свойства осадка;

) увеличивается производительность;

) обеспечивается возможность отделения и утилизации осадка оксифторида магния для последующего его использования;

) упрощается эксплуатация;

) уменьшаются строительные и эксплуатационные затраты [25].

5.3 Гидравлические расчёты водопроводной сети микрорайона Школьный

Подготовка водопроводной сети к гидравлическому расчету:

Вычерчивается схема водопроводной сети, на которой указываются номера узлов и длины участков в метрах (рисунок 5.8).

Рисунок 5.8 - Схема водопроводной сети

Определяется удельный равномерно-распределенный расход воды по формуле (5.8)

                                                                                   (5.8)

где  - равномерно-распределенный расход, л/с;

∑ l - суммарная длина водопроводной сети, м.

= 0,02740196

Определяются величины узловых отборов воды. Расчеты сводятся в таблицу 5.4. В графе 1 приводятся номера всех узлов водопроводной сети (включая водонапорную башню). В графе 2 обозначаются участки, примыкающие к каждому узлу. В графе 4 определяются путевые равномерно-распределенные расходы на каждом участке по формуле (5.9):

, л/с,                                                                    (5.9)

где  - удельный равномерно-распределенный расход воды;

li - длина участка, м.

В графе 5 определяются узловые равномерно-распределенные расходы по формуле (5.10):

, л/с,                                                                          (5.10)