Адсорбционные свойства пленки из соединений железа на зернах фильтрующей загрузки, высокая ее удельная поверхность и наличие большого количества связанной воды позволяют сделать, вывод, что пленка представляет собой очень сильный адсорбент губчатой структуры. Одновременно пленка является катализатором окисления поступающего в загрузку железа (II). В связи с этим эффект очистки воды зернистым слоем несравненно выше, чем это могло быть в гомогенной среде.
Для катализатора такого типа некоторые вещества, находящиеся в воде
(аммиак, сероводород, свободная углекислота, коллоидная кремнекислота),
являются «ядами». Молекулы этих веществ имеют по паре свободных электронов,
которые могут участвовать в образовании ковалентных связей с поверхностью
катализатора, что при значительных концентрациях этих соединений приводит к
понижению его активности.
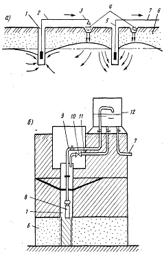
Рисунок 2.2 - Упрощенная аэрация с двухступенчатым фильтрованием: 1 -
подача исходной воды; 2 - бак-аэратор; 3 - насос; 4 - скорый фильтр; 5 - скорый
фильтр II ступени; 6 - ввод хлора; 7 -
водонапорная башня; 8 - отвод воды к потребителю
Метод фильтрования на каркасных фильтрах (рисунок 2.3) следует применять для обезжелезивания воды на установках производительностью до 1000 м3/сут. Сущность обезжелезивания воды по рассматриваемому методу заключается в том, что железо (II) после окисления переходит в осаждающееся железо (III). Гидроксид железа, формирующийся в нижней части аппарата, намывается на патрон. При этом в начале процесса решающую роль играет различие в зарядах керамического патрона, хлопьев гидроксида железа и ионов железа (II). Нарастающий на патроне слой гидроксида железа служит контактным материалом для новых постоянно намываемых агрегатов, при этом происходят как физические, так и химические процессы. Патрон служит только опорным каскадом для фильтрующего слоя гидроксида железа.
При обезжелезивании природных вод на патронных фильтрах первой стадией
процесса является фильтрование с постепенным закупориванием пор фильтрующей
перегородки. Эта стадия заканчивается по достижении определенного соотношения
объема твердых частиц, задержанных в порах, к объему самих пор, после чего
наступает вторая стадия - фильтрование с образованием первоначального слоя
осадка. На этом заканчивается процесс зарядки фильтра и начинается фильтрование
с целью обезжелезивания воды.
Рисунок 2.3 - Обезжелезивание на каркасных (патронных) фильтрах: 1 -
компрессоры с ресиверами; 2 - трубчатый колодец; 3 - смеситель; 4 - дозатор; 5
- каркасный (патронный) фильтр; 6 - отвод фильтрата; 7 - подача промывной воды;
8 - спуск в канализацию; 9 - выпуск регенерационного раствора
Сущность метода аэрации с использованием вакуумно-эжекционных аппаратов
(рисунок 2.4) заключается в окислении кислородом воздуха железа (II) в окисное
с образованием коллоида гидроксида железа, его коагулировании при рH = 6,8…7 и выделении в осадок в виде
бурых хлопьев. При контакте воды, содержащей железо(II), с воздухом кислород растворяется в воде, окислительный
потенциал системы повышается, и если при этом создать условия для удаления
части растворенной углекислоты, то рН системы возрастет до значения,
обеспечивающего при данном окислительном потенциале выпадение в осадок
гидроксида железа (III).
Рисунок 2.4 - Вакуумно-эжекционная аэрация и фильтрование: 1 - подача
воды; 2 - вакуумно-эжекционный аппарат; 3 - скорый каркасно-засыпной фильтр; 4
- отвод воды потребителю
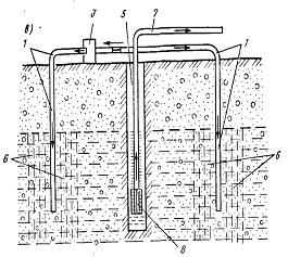
Метод удаления железа из подземных вод непосредственно в водоносном пласте, известный под названием «Виредокс» или «Гидрооксиринг». Схема представлена на рисунке 2.5
Сущность метода заключается в создании вокруг забойной части скважины окислительной зоны путем закачки воды, обогащенной кислородом воздуха. Вода может подаваться как непосредственно в водозаборную скважину, так и в специальные поглощающие скважины, располагаемые в близости от нее. Процесс эксплуатации скважины рассчитан на чередование циклов закачки в пласт питательной воды и отбора обезжелезенных подземных вод. Аэрированной воды, как правило, оказывается недостаточно. Поэтому сначала производится как бы подготовка водоносного пласта или так называемая «зарядка», включающая многократное повторение циклов закачки аэрированной воды, отбора ее и частично обезжелезенной воды из пласта. После этого начинается эксплуатация установки обезжелезивания подземных вод, которая также сводится к последовательному выполнению операций по закачке в пласт питательной воды и отбору обезжелезенных подземных вод [7].
Очевидно, что рассматриваемый метод имеет большие достоинства с точки
зрения снижения, как удельных капитальных вложений, так и эксплуатационные
затрат. Однако эффективная его реализация непосредственно в водоносном пласте
зависит от ряда факторов: глубины скважины, степени закольматированности
фильтра, наличия запаса мощностей на водозаборе, величины дебита скважины,
гидрогеологических условий, гидрохимических показателей котируемой воды,
скорости кольматации прифильтровой зоны фильтра и др. Указанные факторы
значительно снижают возможность широкого применения метода. В последнее время
он рассматривается как временная мера, предпринимаемая до ввода в устойчивую
эксплуатацию наземной станции (установки) обезжелезивания.

Рисунок 2.5 - Схемы очистки подземных вод в пласте: а - система
«Гидрооксиринг»; б - односкважинная установка; в - многоскважинная; 1 -
вспомогательная скважина; 2 - трубопровод; 3 - устройство для аэрации воды; 4 -
кольцевой инфильтрационный бассейн; 5 - эксплуатационная скважина; 6 - зона
аэрации; 7 - отвод воды потребителю; 8 - насос; 9 - трубопровод подачи воды в
сборную емкость; 10 - эжектор; 11 - трубопровод подачи воды из сборной емкости
в скважину; 12 - сборная емкость
2.2 Методы обесфторивания подземных вод
Обесфторивание воды является одним из относительно сложных и дорогих методов водоподготовки. Поэтому, несмотря на то, что природные воды с повышенным содержанием фтора имеют значительное распространение, число действующих установок по обесфториванию воды относительно не велико. Это объясняется тем, что гигиенисты лишь недавно стали предъявлять жесткие требования к содержанию фтора в питьевой воде.
Метод обесфторивание воды сильноосновными катионитами и анионитами целесообразен при его одновременном опреснении. Очевидно, что в современных условиях ионообменный метод обесфторирования воды с применением сильноосновных ионитов не может иметь самостоятельного значения по экономическим соображениям. Он может быть рекомендован только для случая обработки воды в целях одновременного обессоливания и удаления фтора. Первоначально обрабатываемая вода поступает на напорные фильтры, загруженные активированным углем, назначение которых извлекать органические вещества из обрабатываемой воды для сохранения обменной ёмкости ионнообменников. Затем вода передается в водород-катионитовые фильтры, загруженные сильноосновным катионитом КУ-2, которые служат для извлечения из воды катионов. Образующийся в процессе водород-катионирования диоксид углерода в результате распада бикарбонатов удаляется в дегазаторе. После удаления углекислоты вода собирается в промежуточном резервуаре, откуда насосами подается на группу анионитовых фильтров, загруженных сильноосновным анионитом. Здесь помимо удаления из воды анионов сильных кислот происходит задержание фтора. Технологическая схема заканчивается буферным натрийкатионитовым фильтром, который сглаживает возможные проскоки на предыдущих ступенях обработки и поддерживает постоянное значение величины рН в фильтрате. Регенерация фильтров с загрузкой из активного угля и анионита производится едким натром. Водород-катионитовые фильтры регенерируются раствором соляной кислоты. Из изложенного видно, что технологическая схема отличается громоздкостью, сложностью реагентного хозяйства, чем объясняется ограниченность её применение [9].
Контактно-сорбционный метод обесфтроривания природной воды. НИИ КВОВ АКХ
предложен контактно-сорбционный метод обесфторивания природных вод. Коагулянт
вводят в воду непосредственно перед контактными осветлителями (рисунок 2.6). В
первоначальный период 1,5-2,0 ч подается повышенная доза коагулянта 100-150
мг/л по Al2O3. При этом на зернах и в порах загрузки образуется гидроксид
алюминия, который впоследствии сорбирует фтор. В этот период - период
"зарядки" фильтрат, содержащий большое количество ионов фтора и
алюминия, отводят в специальную емкость для последующего использования в качестве
промывных вод. После "зарядки" дозу коагулянта снижают до 20-25 мг/л,
что обеспечивает эффективное извлечение фтора за счет сохранения сорбционной
способности гидроксида алюминия. Процесс дефторирования воды можно осуществлять
и без "зарядки" при постоянной дозе коагулянта, величина которой
определяется качеством исходной воды. Контактно-сорбционное обесфторивание
приемлемо при обработке вод, содержащих фтор до 5 мг/л, сероводород до 2 мг/л,
щелочность до 6 мг-экв/л. На 1 мг удаляемого фтора расходуется около 80 мг
сульфата алюминия. При этом происходит резкая потеря напора в толще фильтрующей
загрузки. Продолжительность фильтроцикла длится от 4 до 6 часов. Снижение дозы
сернокислого алюминия после 2-3 часов "зарядки" приводит к быстрому
возрастанию содержания ионов фтора в фильтрате. Высокая щёлочность
обрабатываемых вод и преимущественное образование гидроксида алюминия требует
введения высоких доз коагулянта и малую продолжительность фильтроцикла.
Подкисление превышает эффективность контактно-коагуляционного метода
дефторирования, однако требует расхода большого количества кислоты, организации
дополнительного реагентного хозяйства и работы с дефицитными и небезопасными в
эксплуатации кислотами. Кроме того, обслуживание дефторирующих установок
осложнено двухступенчатым дозированием алюмосодержащего коагулянта и длительным
периодом "зарядки" фильтрующей загрузки с отведением большого
количества обработанной воды [11].
Рисунок 2.6 - Технологическая схема обесфторивания воды методом
контактной коагуляции: 1 - скважина; 2 - смеситель; 3 - контактный осветитель;
4 - насос; 5 - резервуар для сбора первого двухчасового фильтрата; 6 -
резервуар-отстойник; 7 - резервуар чистой воды; 8 - отвод обесфторенной воды
Дефторирование воды на магнезиальных сорбентах. Исследованиями по сорбции фтора на магнезиальных сорбентах, проведенными во ВНИИ ВОДГЕО, установлено, что удаление фтора-иона происходит за счет образования на поверхности твёрдой фазы растворимых оксифторидов магния. Ёмкость поглощения по фтору при скорости фильтрования 3 м/ч составляет 0,9 мг фтора на 1 г магнезиального сорбента. Отработанный сорбент регенерируют 1% раствором едкого натра, но в результате регенерации магнезиальные сорбенты лишь частично восстанавливают свою первоначальную ёмкость по фтору, что требует частой замены сорбента свежим материалом и, следовательно, ведет к значительному удорожанию обесфторивания воды [12].
Метод обесфторивания воды активированным углём. Попытки обесфторивания воды активированным углём БАУ, КАД, СКТ и активированным углём, пропитанным солями алюминия, предпринимаются уже давно. Однако исследования показали, что активированные угли обладают низкой сорбционной ёмкостью по фтору. Сорбция фтор-иона на активированных углях протекает лишь в кислой среде (рН = 3,0-3,5). Обработка активированного угля ализориновоциркониевым лаком или солями алюминия позволяет увеличить количество поглощенного фтора на 20-40%, но их сорбционная ёмкость полностью не восстанавливается при регенерации.
Дефторирование воды активированным оксидом алюминия обеспечивает наилучшие результаты по удалению фтора из подземных вод. Зернистый активированный оксид алюминия является наиболее дешевым сорбентом, простым в изготовлении и емким по поглощению фтора. При фильтровании обрабатываемой воды со скоростью 5-7 м/ч через зернистый активированный оксид алюминия происходит поглощение фтора сорбентом в результате обмена сульфат-ионов на фтор-ионы. В начале фильтроцикла содержание фтора в фильтрате близко к нулю. С течением времени поглотительная способность уменьшается и при достижении 1,5 мг/л рабочий цикл обесфторивания воды прекращается, так как сорбент нуждается в регенерации. Регенерация сорбента производится пропуском через него раствора едкого натра или сульфата алюминия. В процессе регенерации из сорбента вытесняется поглощенный им фтор. После регенерации сорбент отмывается водой для удаления продуктов регенерации и не прореагировавшего реагента [13].
В процессе обесфторивания воды в результате ионного обмена происходит увеличение концентрации в фильтрате сульфатных ионов. Количественно это увеличение эквивалентно уменьшению концентрации суммы ионов фтора и бикарбонатных ионов. Известно, что содержание сульфатов в питьевой воде регламентируется. Согласно ГОСТ 2874-82 [16], оно не должно превышать 500 мг/л. Поэтому увеличение содержания сульфатов при обесфторивании воды необходимо учитывать при проектировании и расчете комплексов по улучшению качества воды.
Основными технологическими сооружениями рассматриваемого метода обесфторивания воды (рисунок 2.7), являются скорые напорные или открытые фильтры, загруженные зернистым активированным оксидом алюминия. Помимо фильтров установка по удалению фтора из воды должна иметь реагентное хозяйство для приготовления регенерационных растворов, баки для хранения воды, необходимой для взрыхления и отмывки сорбента [9]. Рисунок 2.7 - Технологическая схема дефторирования воды фильтрованием через активированный оксид алюминия:
- насос; 2 - резервуар промывных вод; 3 и 8 - подача исходной и отвод дефторированной воды; 4 - фильтр, загруженный оксидом алюминия; 5 - бак регенерационного раствора; 6 - ввод реагентов; 7 - резервуар чистой воды
После рассмотрения методов обезжелезивания и обесфторивания можно сделать
вывод о том, что традиционные методы имеют достаточно много недостатков:
ограниченная область применения; установки очень громоздкие, дорогостоящие и
имеют большие эксплуатационные затраты; сложная управляемость технологическими
процессами.
3. ОПРЕДЕЛЕНИЕ ВОДОПОТРЕБНОСТИ С УЧЕТОМ ПЕРСПЕКТИВНОГО РАЗВИТИЯ
МИКРОРАЙОНА ШКОЛЬНЫЙ ГОРОДА ДЗЕРЖИНСКИЙ
Водопотребность микрорайона определяется с учётом перспективного развития на 2026 год.
Водопотребность и расчетные расходы воды определяют в соответствии с требованиями главы 2 [14].
Расчет среднего суточного расхода воды (Qсут.ср.), суточного максимального расхода (Qсут.макс.) и суточного минимального расхода (Qсут.мин.) приведен в таблице 3.1.
Водопотребление определяется по двум секторам: коммунальному и производственному, удельное водопотребление населения принимается по данным главы 2 [14].
Удельное водопотребление зданий, не входящих в общую норму водопотребления, а также ванн, принимается по данным приложения 3 [15].
Расходы воды в бане учтены в общей норме водопотребления. Поэтому при расчете суточного водопотребления баня не учитывается.
Суточные расходы воды определяются в соответствии с требованиями п.2.2 [14].
Величина среднего суточного расхода воды (Qсут.ср.) определяется по формуле (3.1).
ут.ср. =
, м3/с (3.1)
где q - удельное водопотребление, л/сут;
N - расчетное число жителей в районах жилой застройки с различной
степенью благоустройства, чел;
Величина суточного максимального расхода (Qсут.макс.) и суточного минимального расхода (Qсут.мин.) определяется по формулам (3.2) и (3.3).
Q сут.max = Kсут,max · Qсут, ср , м3/сут (3.2)
где Ксут.max - коэффициент суточной неравномерности;
Qсут.ср. - средний суточный расход воды, м3/сут.
сут.min = Kсут,min · Qсут, ср , м3/сут. (3.3)
где Ксут.min - коэффициент суточной неравномерности;
Qсут.ср. - средний суточный расход воды, м3/сут.