Материал: основы проектирования хим произв дворецкий

Внимание! Если размещение файла нарушает Ваши авторские права, то обязательно сообщите нам

ГИБКИЕ АВТОМАТИЗИРОВАННЫЕ ПРОИЗВОДСТВЕННЫЕ СИСТЕМЫ

301

 

 

Хладагент

Нитрит

натрия

Суспензия

амина

6 lк = (8…10)D

dтр D

αд/2

2

3

Нитрит

натрия

4

5

Хладагент

1

Диазосоединение

78

αк/2

Рис. 8.14. Малогабаритный турбулентный трубчатый реактор с камерами смешения диффузор-конфузорного типа (комбинированный реактор):

dтр – диаметр трубчатой части реактора; D – диаметр камеры смешения; lk – длина камеры смешения; αд – угол расширения диффузора; αк – угол сужения конфузора; 1 – трубчатый модуль; 2 – колено; 3 – форсунки для распыления нитрита натрия; 4 – диффузор-конфузорное устройство; 5 – теплообменная рубашка, 6 – диффузор; 7 – прямой участок; 8 – конфузор

постоянного сечения за диффузором, поэтому чтобы сгладить турбулизацию потока реакционной среды за диффузором необходимо наличие участка цилиндрической формы. На этом участке полное выравнивание потока по сечению достигается на расстоянии lk = (8…10)D, где D – диаметр выходного сечения диффузора.

Конфузор служит для окончательного выравнивания потока при переходе из камеры смешения в трубчатую часть реактора. Для выравнивания профиля скорости потока целесообразно принять угол сужения конфузора αк равным

302 Глава 8. ПРОЕКТИРОВАНИЕ МНОГОАССОРТИМЕНТНЫХ ХИМИЧЕСКИХ ПРОИЗВОДСТВ

30…40°. Следовательно, для более интенсивного подвода нитрита натрия в реакционную зону будем применять камеры смешения с размерами: диаметр камеры – D = 0,1 м, длина камеры – lk = 1,0 м, углы расширения диффузора – αд = 60° и сужения конфузора – αк = 30°.

Таким образом, при моделировании процесса тонкого органического синтеза учитывается смешение дозируемых в аппарат компонентов в устройстве, смонтированном на входе в аппарат; химическое взаимодействие в трубчатой части и камерах смешения; изменение условий протекания элементарных процессов химического взаимодействия при наличии в реакторе устройств турбулизации потока (диффузор-конфузоров или камер кинетического смешения).

В целом работоспособность турбулентного трубчатого реактора определяется условиями неосаждения агрегатов твердой фазы амина в вертикальных трубах, обеспечения заданной производительности и турбулентного режима течения реакционной смеси в зоне реакции. Основными параметрами, обеспечивающими выполнение этих условий при заданной производительности, являются внутренний диаметр вертикальной трубы dтр и концентрация твердой фазы в питании реактора [CA]S. Чтобы избежать нарушения условий работоспособности реактора необходимо выбрать такой диаметр трубы, которому будет соответствовать максимально возможный интервал допустимых концентраций твердой фазы для выбранной производительности. При заданной производительности реакторной установки – Q = 1000 т/год максимально допустимыми значениями диаметра трубы

реактора диазотирования и концентрации [CA(0) ]S твердой фазы ароматического амина являются – dтр = 0,04 м и [CA(0) ]S = 300…400 моль/м3.

Математическая модель непрерывного процесса синтеза азопигментов в турбулентной трубчатой реакторной установке представляет систему нелинейных дифференциальных уравнений в обыкновенных производных для трубчатой части и систему нелинейных алгебраических уравнений для камер смешения реакторной установки [46, 49].

Техническое задание на проектирование турбулентной трубчатой реакторной установки диазотирования включает выполнение следующих требований: выход диазосоединения – KD 97,0%; «проскок» твердой фазы амина в реакторе диазотирования – Пη 0,25%; содержание диазо-смол в диазорастворе – Пχ 0,9%; содержание нитрозных газов в диазорастворе – Пσ 5%, показатели качества Yi, i = 1, 2, …, 8 синтезируемых азопигментов должны соответствовать

показателям Yiт типового образца.

Выполнение вышеперечисленных требований ТЗ на проектирование реакторных установок необходимо обеспечить в условиях неопределенности отдельных кинетических параметров химических реакций, процесса кристаллизации азопигментов и ряда технологических переменных (например, концентраций твердой фазы амина и азосоставляющих в питании реакторной установки синтеза азопигментов).

ГИБКИЕ АВТОМАТИЗИРОВАННЫЕ ПРОИЗВОДСТВЕННЫЕ СИСТЕМЫ

303

 

 

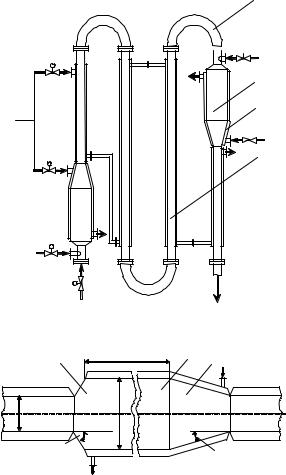
Непрерывный технологический процесс синтеза азопигментов алого концентрированного, лакокрасочного и желтого светопрочного в ГАПС непрерывного действия производительностью 1000 т пигментов/год осуществляется следующим образом (рис. 8.15) [50]. Солянокислую суспензию амина (например, 3-нитро-4-аминотолуола) с заданной концентрацией приготавливают в аппарате 1. Процесс диазотирования 3-нитро-4-аминотолуола нитритом натрия в присутствии 2,5…3-кратного избытка соляной кислоты осуществляют непрерывно в турбулентном трубчатом реакторе диазотирования 2, куда солянокислая суспензия амина подается центробежным насосом 3. Водный раствор нитрита натрия непрерывно и распределенно (по длине трубчатого реактора) подают в реакторную установку 2 с помощью системы дозирующих насосов 4 таким образом, чтобы избыточная концентрация азотистой кислоты (диазотирующего агента) в зоне реакции диазотирования находилась в пределах 0,2…0,5 г/л. Процесс диазотирования осуществляют при турбулентном режиме движения потока реакционной массы при заданном (оптимальном) температурном профиле. Полученный диазораствор непрерывно подается на стадию очистки, которая осуществляется с помощью ультрацентрифуги 5, и далее очищенный раствор диазосоединения самотеком поступает в турбулентный трубчатый реактор азосочетания 7. В реактор 7 одновременно подают растворы азосоставляющей (β-нафтолята или анилида ацетоуксусной кислоты в зависимости от марки пигмента) и наполнителя (хлористого бария, гидроокиси алюминия). Подача щелочного агента осуществляется распределенно по длине реактора 7 для формирования оптимального профиля pH-среды сочетания.

Суспензии азопигментов накапливаются в специальных аппаратахсборниках для проведения последующих операций термообработки и транспортировки на заключительные стадии физико-механической обработки (фильтрования, сушки и размола).

Автоматическая система регулирования переменных состояния реакторных установок диазотирования и азосочетания включает контуры I – VII, реализующих найденные при решении задачи стохастической оптимизации оптимальные значения режимных (управляющих) переменных. В контуре I стабилизируется оптимальное значение расхода солянокислой суспензии амина (датчик (Д1), регулятор (Р1), клапан (К1)) с коррекцией по концентрации азотистой кислоты в третьей зоне реакторной установки диазотирования (Д2(1, 2, 3), корректирующий регулятор (КР 1)). Оптимальное распределение подачи нитрита натрия в зоны реакторной установки диазотирование обеспечивается системой высокоточных дозирующих насосов. В контурах II – IV обеспечивается реализация оптимального

профиля температуры в зонах 1, 2, 3 диазотирования (Д3(1, 2, 3), Р2(1, 2, 3), К2(1, 2, 3)). Соотношение расходов азосоставляющей и диазораствора в питании реакторной

установки азосочетания поддерживается в контуре V с помощью Д4, Д5, Р3 и К3. Наконец, оптимальный профиль pH-среды азосочетания реализуется в контурах

VI и VII (Д6(1, 2), Д7(2), Р4(1, 2), КР2, К4(1, 2)).

304 Глава 8. ПРОЕКТИРОВАНИЕ МНОГОАССОРТИМЕНТНЫХ ХИМИЧЕСКИХ ПРОИЗВОДСТВ

Рис. 8.15. ГАПС азокрасителей и пигментов

ГИБКИЕ АВТОМАТИЗИРОВАННЫЕ ПРОИЗВОДСТВЕННЫЕ СИСТЕМЫ

305

 

 

Вопросы для самоконтроля

1.Назовите типичных представителей малотоннажных химических производств и их основные отличительные особенности.

2.Приведите основные понятия и определения: технологической операции, технологической стадии, партии продукта, технологического цикла, лимитирующей стадии, материального индекса, технологического маршрута, диаграммы Гантта, расписания.

3.Классифицируйте ХТС в соответствии со следующими классификационными признаками (А по способу функционирования; Б по количеству выпускаемой продукции; В по типам технологической и организационных структур;

Гпо количеству стадий):

многостадийные;

гибкие;

многоассортиментные;

непрерывные;

совмещенные;

одностадийные;

периодические;

индивидуальные;

полностью совмещенные;

дискретно-непрерывные;

частично совмещенные.

4. Перечислите: А общесистемные принципы создания ГАПС и Б специфические особенности:

иерархичность;

гибкость;

открытость;

управляемость;

модульность;

устойчивость;

интегрированность;

эмерджентность;

целенаправленность.

5. Каковы основные атрибуты гибких автоматизированных ХТС?

низкая производительность;

изменчивость ассортимента;

многопродуктовость;