Материал: Организация технологического процесса на Машиностроительном заводе им. С.М. Кирова

Внимание! Если размещение файла нарушает Ваши авторские права, то обязательно сообщите нам

 = , (16)

 =  =  = 0,0123.

Разгон маховика активным моментом  от угловой скорости  до угловой скорости  также происходит по закону прямой.

 =  +    , (17)

где  =  или  =  = 7,094  - угловое ускорение маховика от действия момент

или

 =  +    , (18)

 - время разгона маховика

 =  или  = , (19)

количество оборотов маховика (в радианах) соответствующее полному ходу ползуна вниз.

 +  =  =  = 11,28 , (20)

где  - ход ползуна = 230 мм

h - ход резьбы шпинделя 128 мм подставив в выше полученное выражение значения   получим

 +  = 11,28 ,

0,061=  = 11,28 ,

0,0865=  + 900 -  = 160,

0,913 = 740,

 =  =  =28,47 ,

 = = 0,0123 · 28,47= 0,35 сек.,

 =  =  = 0,216 сек.,

Время хода ползуна вниз

 =  = 0,35 +0,216 = 0,566 сек, (21)

Число оборотов моховика в минуту

 =  =  =286,62 об/мин., (22)

 =  =272 об/мин.,

Наибольшая скорость ползуна

 =  =  = 0,61 м/сек., (23)

Наибольшая окружная скорость на ободе маховика


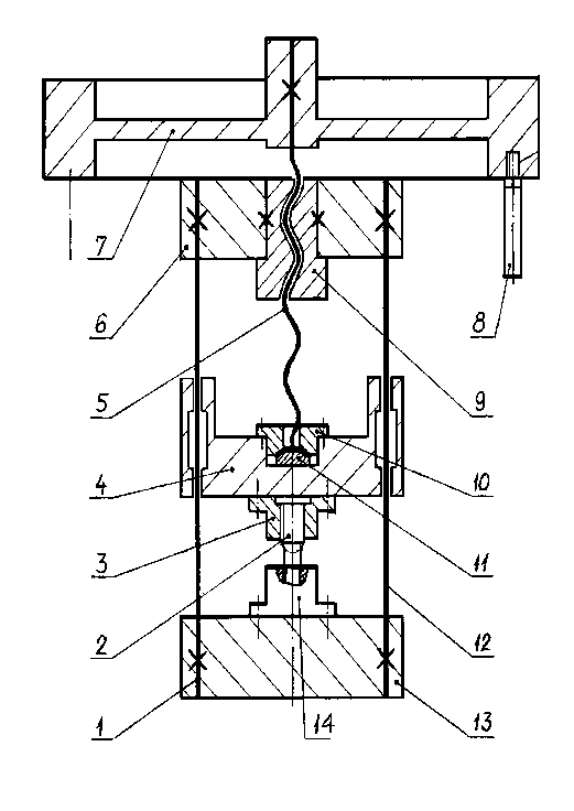
Кинематическая схема винтового пресса показана на рисунке 5.

Рисунок 5. Кинематическая схема винтового пресса

ЗАКЛЮЧЕНИЕ

За время прохождения практики мною была проделана работа в следующих направлениях:

1.      Сбор материала для написания дипломной работы.

2.      Расчет основных кинематических величин.

3.      Ознакомление с АО «Машиностроительный завод им. С.М. Кирова»

.        Анализ собранного материала.