Материал: Обладнання для очищення та охолодження молока на фермах

Внимание! Если размещение файла нарушает Ваши авторские права, то обязательно сообщите нам

Обладнання для очищення та охолодження молока на фермах

Зміст

молоко сепаратор очисник охолоджувач

Вступ

. Чим очищують молоко?

. Як все відбувається?

. Фільтр Ф-01М

. Закритий циліндричний фільтр А1-ОШФ

. Сепаратор-молокоочисник ОМА-3М

. Очисник-охолоджувач ОМ-1А

. Сепаратор Ж5-ОМ2-Е-С

Висновок

Список використаної літератури

Вступ

Тваринництво - це галузь сільського господарства що займається розведенням сільськогосподарських тварин для тваринницької продукції. Забезпечує населення продуктами харчування (молоко, яйця, м'ясо та інших.)

Сировиною для всіх молочних виробів є натуральне молоко. Його можна споживати свіжим або готувати з нього такі продукти, як молоко пастеризоване, молоко стерилізоване, вершки, кефір, сметану, різні види сирів, вершкове масло, молоко згущене і сухе та багато інших продуктів. Водночас молоко є сприятливим середовищем для розвитку найрізноманітніших мікроорганізмів. Молоко - секрет <#"864873.files/image001.jpg">

Рис. 1

Рис. 2.

Рис. 3.

На рис. 4. ФПЗ-3 закритий фільтр, ФПЗ-3-5Н- відкритий фільтр

Перевага циліндричних фільтрів у тому, що механічні домішки осідають на дно, тож меншою мірою забруднюється бічна фільтруюча поверхня-завдяки чому, зменшується обмивка і розчинення механічних домішок і змив їх бактерій в очищене молоко.

Не рідко фермери, для збереження якості молока, при доїнні корів відразу фільтрують молоко, перед тим як воно продовжить свій шлях на завод. При доїнні на установках з молокопроводом і на доїльних майданчиках молоко очищують очисники - розширена частина кінця молокопроводу, в яку вставляють чохол із спеціальної фільтрувальної тканини. Але не всі домішки залишаються в фільтрі: деяка частина все ж розмивається та розсмоктується, в результаті чого проходить через фільтруючий бар'єр в чисте молоко. Та все одно, більша частина залишається на стінках фільтру.

. Як все відбувається?

На фермах, лініях приймання холодного молока молокозаводів і молокоприймальних пунктів, а також на лініях пастеризації молока застосовують комбінований фільтр (Ф-01М).

Зернистий фільтр Ф-01М можна віднести до закритих циліндричним фільтрів. В якості фільтруючого матеріалу застосовують гранули титанового сплаву ВТ5-1 або білий електрокорунд "шліфзерна".

На рис.5, а наведено загальний вид фільтра, а на рис. 5, б - схема його підключення для фільтрування і промивання.

Фільтр працює наступним чином. Робота фільтра починається після включення насоса.

Після цього молоко надходить на верхню сітку попереднього очищення, а потім на зернистий шар тонкого очищення. Затримувані механічні домішки (частинки корму, пил, шерсть тварини тощо) поступово концентруються на верхній сітці і по висоті зернистого фильтрматеріалу.

Очищене молоко надходить в збірну ємкість. По закінченні фільтрування молоко, що залишилося, видаляють з фільтра.

В режимі промивання фільтр спочатку від'єднують від контуру на 5-10 хв. з метою запобігання забивання нижньої сітки залишками домішок з трубопроводів.

Потім фільтр під'єднують на режим промивки, помінявши при цьому місцями на штуцерних роз'ємах підвідний та відвідний шланги так, щоб напірна лінія була приєднана до нижнього штуцера фільтра.

. Фільтр Ф-01М

Рис. 5. Фільтр Ф-01М: А - загальний вигляд: 1 - корпус; 2 - зернистий філь - троматеріал; 3 - кришка; 4 - повітряна трубка; 5 - сітка з нержавіючої сталі з прокладкою; 6 - розсікач; 7-хомут; 8- шпилька з гайками; 9- опора; 10 - шланг; б - схема підключення для фільтрування і промивання: 1 - фільтр; 2- насос; 3 - триходовий кран; 4- шланг.

Регенерація фільтруючого матеріалу здійснюється висхідним потоком промивної рідини при витраті не менш 4 м3/год. Це супроводжується енергійним перемішуванням гранул зернистого шару і видалення з робочого об'єму фільтра утриманих домішок. Для регенерації фільтра використовують стандартні миючі розчини. У разі утворення повітряного міхура у верхній частині фільтру потрібно відкрити кран на верхній кришці для видалення повітря.

Перевагою конструкції фільтра є можливість його повного розбирання для чищення внутрішніх поверхонь корпусу і сіток від жирового нальоту, залишкових забруднень (волосся тварини, залишки корму тощо). Такий профілактичний розбір фільтра проводиться після 1-2 міс його експлуатації.

Технічні характеристики

Пропускна здатність, м. куб/год макс. 10

Якість фільтрування, мкм 40

Досягається чистота молока за ГОСТ 821889, група 1

Мінімальна температура фільтрованого молока, С 20

Кількість фільтрованого молока (до промивки фільтра), м. куб 5

Тиск рідини на вході у фільтр в режимі фільтрації і мийки, атм 2

Витрата миючих розчинів через фільтр при промиванні, м. куб/год 5-10

Час промивки фільтра, не менше 15 хв.

Максимальна температура фільтрованої і промивної рідини:

для фільтра з прозорим пластмасовим корпусом, З до 70

для фільтра з корпусом з нержавіючої сталі, З до 100

Габаритні розміри:

діаметр, мм 270

висота (без підставки), мм 540

Маса спорядженого фільтра, кг 15

Остаточне очищення виконують на закритих фільтраційних апаратах (трубчастих, дискових та циліндричних) і сепараторах-молокоочисниках. Використання сепараторів-молокоочисників дозволяє видаляти з молока не тільки механічні домішки, але і слиз, згустки фібрину, багато мікроорганізмів, соматичні клітини і т.д. Кількість осаду що утворюється при цьому, залежить від складу, якості молока, потужності очищувача і становить 0,1-0,3% маси очищеного молока. На таких очисниках молоко очищають парним, тобто при температурі 28-35°С, так як очищення охолодженого молока дає гірші результати.

Отже, закритий циліндричний фільтр А1-ОШФ (рис. 6.) складається з розподільного пристрою з двома корковими триходовими кранами і двох циліндрів з розташованими в них фільтруючими сітками з нержавіючої плетеного дроту. Молоко під тиском, створюваним насосом подається у верхній патрубок корпусу розподільного пристрою. Далі він через верхній отвір в конусі надходить у циліндр, обтікаючи сітку зверху, і виходить з циліндра через патрубок. Відфільтрований продукт проходить через нижній отвір корпусу і через нижній патрубок розподільного пристрою виходить в систему молокопроводів. Не припиняючи подачі продукту в міру засмічення фільтруючої сітки, корковий кран перемикають на інший циліндр. Під час роботи одного циліндра інший розбирають, очищають і миють.

. Закритий циліндричний фільтр А1-ОШФ

Рис. 6. А1-ОШФ

- циліндр; 2 - маховик заглушки; 3 - ручка; 4 - фільтруюча сітка; 5 - пробковий кран; 6 - кран; 7- регулювальний гвинт; 8 - стійка.

Технічна характеристика фільтра А1-ОШФ Продуктивність, кг/год 2500-4600

Тиск, МПа 0,2-0,25 Розміри осередку фільтрувальної сітки, мм1 х 1 і 2 х 2 Габаритні розміри, мм 1300 х 300 х 700 Маса, кг 89

. Сепаратор-молокоочисник ОМА-3М

Давайте згадаємо про вище згадані сепаратори-молокоочисники. Представником цієї групи є сепаратор-молокоочисник ОМА-3М.

ОМА-3М являє собою тарілчастий сепаратор напівзакритого типу з ручним періодичним вивантаженням осаду. Складається з барабана, приймально-відвідного пристрою і станини з механізмом приводу (Рис. 7). Механічні забруднення видаляються шляхом тонкошарової сепарації в обертаючомуся барабані молокоочисника. Молоко, що підлягає очищенню, по центральній трубці надходить у внутрішню порожнину тарілкотримача. Закритий вхід оберігає молоко від попадання сторонньої мікрофлори з навколишнього повітря. Через щілину, утворену між тарілкотримачем і підставкою барабана, молоко під дією відцентрової сили відкидається до стінок корпусу барабана. Тут найбільш важкі і великі частинки осідають на стінці корпусу, а молоко разом з найдрібнішими частинками надходить в пакет конічних тарілок. У просторі між тарілками молоко очищається від зважених частинок. Очищене молоко під тиском знову поступивши порцій проходить до центру і піднімається по каналах тарілкотримача в камеру напірного диска. Нерухомий напірний диск захоплює рідину що обертається, і під тиском виводить її з барабана у відвідну комунікацію. Тиск молока, що виходить з барабана сепаратора, забезпечує подачу його і подолання опорів в пастеризаторі без насоса. Чим довше працює сепаратор, тим більше заповнюється грязьовий простір, тому якість очищення з часом погіршується. Практично сепаратор нормально працює 1,5-2 год., причому цей термін залежить від ступеня забрудненості вихідного молока.

Рис. 7.

- манометр з мембранної приставкою; 2 - відводить комунікація; 3 - гайка для кріплення приймально-відвідного пристрою з кришкою; 4 - живильний патрубок; 5 - напірний диск; 6 - кришка сепаратора; 7 - кришка барабана; 8 - тримач тарілки; 9 - конічні тарілки; 10 - затяжне кільце барабана; 11 - підстава барабана; 12 - стопор; 13 - станина; 14 - центрируемые гвинтові пружини горловий опори; 15 - гнізда корпусу; 16 - веретено; 17 - шестерня; 18 - опорні кульки; 19 - пружина підп'ятника; 20 - стакан підп'ятника; 21 - покажчик рівня масла; 22 - гвинтове колесо; 23 - валик тахометра; 24 - гальмо (два); 25 - шламовое простір; 26 - запобіжна гайка.

Технічні характеристики:

Продуктивність 5000 дм3/год.

Електродвигун (1450 об/хв., 380 В) 4 кВт

Габаритні розміри:

Довжина 840 мм

Ширина 662 мм

Висота 1195 мм

Маса сепаратора:

Вага нетто 377 кг

Вага брутто 430 кг

Тиск на виході очищеного молока 2,5-3,0 кгс/см2

Тиск буферної води 1,5-3,0 кгс/см

Нині випускають безупинно діючі самоочисні сепаратори-молокоочисники. Особливість їх конструкції у тому, що з допомогою рухомого днища барабана, спеціального клапанного устрою на шляху подання і видалення буферної рідини і розвантажувальних щілин, осад постійно викидається з порожнини барабана. Сепараторний слиз - не однорідний, складається переважно з механічних частинок, білкового шару - білого кольору та бактеріального - рожево-коричневого кольору.

Щоб була більша імовірність того що молоко залишиться свіжішим довший відрізок часу, винайшли ще один фільтрувальний пристрій.

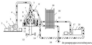
6. Очисник-охолоджувач ОМ-1А

Очисник-охолоджувач ОМ-1А (Рис. 8) призначений для очищення та поточного охолодження молока.

Рис. 8. - Конструктивно-функціональна схема очисника-охолодника молока ОМ-1А:

- місткість для молока; 2 - патрубок; 3 - молочний насос;4 - шланг; 5 - молочна трубка;6 - патрубок очищеного молока;7 - напрямний диск; 8 - тарілкотримач; 9 - очисний барабан; 10 - кришка; 11 - основа; 12 - веретено: 13 - пружинна опора; 14, 15 - водопроводи; 16 - патрубок охолодженого молока; 17 - водяний насос; 18 - плита; 19 - пластини; 20 - ванна

Він складається з відцентрового очисника, пластинчастого водяного охолоджувача, шлангів для молока та води.

До складу відцентрового очисника входять очисний барабан, приймально-відвідний пристрій, приводний механізм.

Пластинчастий охолодник має пакет пластин та дві плити. Крізь отвори пластин та плит проходять дві штанги. За допомогою болтів та гайок пластини і плити складають в один пакет. В кожній пластині є по чотири технологічні отвори: дна верхніх і два нижніх. Роздільна пластина, встановлена всередині пакета, має тільки два верхніх отвори. На пластини наклеєні гумові прокладки: які забезпечують відповідний зазор між пластинам, а також перекривають у кожній пластині ліві або праві отвори. При складанні пакета ліві і праві пластини чергують, що забезпечує утворення двох систем каналів. Кожна з цих систем з’єднується двома отворами пластин зверху і знизу. Пластини мають гофровану форму, що збільшує поверхню теплообміну і забезпечує інтенсивне перемішування молока, яке рухається між пластинами. Холодоагентом є вода, яка подається з водо- або теплоохолодної установки.

Робочий процес очисника-охолодника такий. Включають електродвигун привода і очисний барабан починає набирати необхідні оберти. Молоко в очисник подається насосом 3, на вихідному патрубку якого встановлений спеціальний штуцер, що пропускає 1000 л молока за годину. З приймально-відвідного пристрою молоко надходить у барабан очисника. Крізь центральну молочну трубку і канал тарілкотримача молоко потрапляє у простір між пакетом тарілок барабана та кришкою. Під дією відцентрової сили всі домішки виділяються з молока, відкидаються до кришки барабана і прилипають до неї, а молоко під тиском нових порцій вертикальними каналами між тарілкотримачем, а також кришкою барабана піднімається вверх. Під час проходження молока між тарілками відбувається додаткове його очищення від домішок. Домішки сповзають із тарілок і прилипають до стінки кришки барабана. Далі молоко проходить напрямний диск 7 і крізь патрубок 6 спрямовується до охолоджувача.


У процесі роботи очищувача на стінках кришки барабана поступово нагромаджується шар домішок, зазор між кришкою та барабаном зменшується і процес виділення домішок порушується. Тому через кожні 2,5 години роботи очищувач зупиняють, його барабан розбирають і миють.

Очищене молоко, що надходить до охолоджувача, спочатку заповнює простори через один між пластинами першої його половини (до роздільної пластини) і піднімається вверх. Потім крізь верхній отвір роздільної пластини молоко переходить у другу половину охолодника, заповнює через один простори між пластинами і опускається вниз. Охолоджене молоко виходить з патрубка.

Вода в охолодник подається з холодильної установки трубопроводом. Вона надходить в інші (не заповнені молоком) простори між пластинами спочатку другої половини охолодника, піднімається вверх, потім крізь верхній отвір роздільної пластини переходить у першу половину охолодника, опускається вниз і виходить з охолодника патрубком.

Теплообмін між потоками молока і води відбувається в зазорах між пластинами. Зустрічний рух потоків дозволяє максимально знизити температуру молока при тій же початковій температурі води. Гофрована форма пластин збільшує площу теплообміну, спричиняє перемішування води та молока в потоках і сприяє інтенсивному теплообміну. Кінцева температура молока залежить від початкової температури води.

Технічне обслуговування охолодника-очисника виконують у такій послідовності: До початку роботи установку промивають теплою водою (50-60°С). Включають насос для подачі води та молочний насос 3. Очищення молока починають з таким розрахунком, щоб закінчити його не пізніше ніж через 10-15 хв. після закінчення доїння корів.

Охолодник промивають після кожної зміни, а очисний барабан через кожні 2,5 год. роботи. При митті пластинчастого охолодника шланги 4 та 6 з'єднують між собою, у ванну заливають воду (30°С), шланг 2 опускають у ванну і включають насос 3. Вода насосом подається в охолодник проходить між пластинами шляхом руху молока і шлангом 16 відводиться на зливання. Після промивання водою охолодник протягом 15хв прополіскують мийним розчином у циркуляційному режимі. Потім у ванну заливають чисту воду і промивають нею установку протягом 10 хв. Деталі барабана-очисника, приймально-відвідного пристрою та молочного насоса миють вручну, спочатку в теплій воді, потім у розчині, знову у теплій воді, а прополіскують у чистій проточній воді.

Дезинфекцію очисника-охолодника проводять влітку через день, а взимку один раз на 5 днів. При дезинфекції використовують 0,1%-ний розчингіпохлориту натрію або гіпохлориту кальцію. Один раз на місяць пластинчастий охолодник розбирають і чистять вручну. Для цього відкручують гайки настягувальних болтах, відсувають плиту 21 до упору на штангах і по черзі чистять пластини. Потім збирають пластини в пакет, закручують гайкистягувальних болтів і промивають охолодник водою. Основу барабана миють на місці, не знімаючи з вала привода. Один раз у 15 днів її знімають, щоб промити чашу станини. У картері станини перший раз замінюють масло після 15 год роботи, другий - через 50 год., а потім через кожні 200-250 год. експлуатації.