Материал: Москатов Электроника 2010

Внимание! Если размещение файла нарушает Ваши авторские права, то обязательно сообщите нам

26 Москатов Е. А. Электронная техника. Начало. http://moskatov.narod.ru

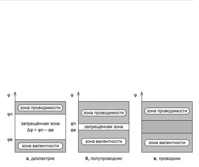
мости именуют диапазон энергий, в котором находится энергия электрона, который больше не связан с определѐнным атомом кристаллической решѐтки. Уровень Ферми – это такой энергетический уровень, на котором с вероятностью ½ находится электрон, и который постоянен при флюктуациях температуры. Зонная энергетическая диаграмма – это рисунок, на котором показаны энергетические зоны. Зонные энергетические диаграммы, которые характерны диэлектрикам, полупроводникам и проводникам, изображены на рис. 2.1.

Рис. 2.1. Зонные энергетические диаграммы На данной зонной диаграмме изображение над буквой (а) соответ-

ствует диэлектрикам, над буквой (б) – полупроводникам, а над буквой (в) – проводникам. По вертикальной оси отложена энергия электронов, а горизонтальная ось безразмерна. Между зонами проводимости и валентности диэлектриков большой незаполненный промежуток, и упорядоченное движение носителей заряда отсутствует. Между энергетическими зонами проводимости и валентности полупроводников расстояние не велико, и в зоне валентности допустимо появление дырок, а в зоне проводимости такого же числа электронов, что может обеспечить условия протекания тока. Между зонами проводимости и валентности расположена запрещѐнная зона. Энергетические зоны валентности и проводимости металлов

27 Москатов Е. А. Электронная техника. Начало. http://moskatov.narod.ru

взаимно перекрываются. В результате передача даже незначительной энергии способна привести к протеканию тока.

2.2. Электронно-дырочный переход

2.2.1. Получение электронно-дырочного перехода

Электронно-дырочным (или p-n) переходом называют область на границе двух полупроводников, обладающих различными типами проводимости. Толщина электронно-дырочного перехода обычно достигает от 100 нм до 1 мкм. На границе полупроводников электронного и дырочного типа концентрации носителей заряда неодинаковы, в результате чего в электронно-дырочном переходе возникает электрическое поле. Электроны переходят из области электронного типа в дырочную область, а дырки, наоборот, из дырочной области мигрируют в область электронного типа, то есть начинает протекать диффузионный ток. Когда концентрация основных носителей заряда больше, чем неосновных, то наибольшим будет ток, образованный упорядоченным движением основных носителей. Нейтрализация носителей зарядов в областях противоположного типа носит название рекомбинации носителей заряда. Рекомбинация электронов в дырочной области приводит к появлению в ней большого количества неподвижных отрицательных ионов, а возникшее электрическое поле будет ускоряющим для неосновных носителей заряда, и тормозящим и отталкивающим назад основных носителей заряда, которые будут вынуждены возвратиться обратно в область электронного типа. Аналогичным образом, рекомбинация дырок в электронной области приводит к образованию в ней большого количества неподвижных положительных ионов. Поэтому выравнивания концентраций носителей зарядов не возникнет. Участок грани-

28 Москатов Е. А. Электронная техника. Начало. http://moskatov.narod.ru

цы полупроводников между местом, где будет максимальная концентрация отрицательных ионов акцепторной примеси и местом, где будет максимальная концентрация положительных ионов донорной примеси и есть электронно-дырочный переход. Электроннодырочные переходы, обладающие примерно одинаковой концентрацией носителей зарядов в областях дырочного и электронного типов называют симметричными. Практическое применение симметричных p-n переходов довольно узко, а более широко применяют несимметричные электронно-дырочные переходы. В них концентрации носителей зарядов обладают отличием как минимум на несколько порядков.

Электронно-дырочный переход не получают простым соприкосновением двух разнотипных полупроводниковых брусков, так как в месте их соприкосновения не исключено наличие жировых пятен, пыли, чрезвычайно трудноудаляемой воздушной прослойки и прочего. А вместо этого электронно-дырочные переходы создают по специальным технологиям: диффузии, сплавления, эпитаксии, ионного легирования и ионной имплантации и многим другим.

Суть диффузии состоит в проникновении атомов паров примесей ввиду теплового движения на поверхность и внутрь кристаллов полупроводников, нагретых примерно до 950 °C … 1200 °C, причѐм концентрация примесей наиболее высока на поверхности, а наиболее низка в глубине кристаллов.

Сплавление заключено в наложении таблетки легирующего вещества на кристалл полупроводника и разогревании их до такой температуры, при которой наступит взаимное сплавление легирующего материала и полупроводника. Образованный таким образом электронно-дырочный переход называют резким, т.е. таким, при котором участок перехода концентраций примесей соизмерим с диффузионной длиной.

Эпитаксия – это выращивание плѐнки одного полупроводника на кристалле другого полупроводника. Кристалл полупроводника, на

29 Москатов Е. А. Электронная техника. Начало. http://moskatov.narod.ru

который осуществляют наращивание, называют подложкой. Подложку выполняют из полупроводника с кристаллической решѐткой, похожей на кристаллическую решѐтку наращиваемого полупроводника. Если выращиваемый полупроводник и полупроводник подложки – это химически одно и то же вещество, то процесс называют гомоэпитаксией, а если они различны – то гетероэпитаксией.

Процесс ионного легирования заключѐн во внедрении в кристалл полупроводника ионов примеси, которые были в вакууме разогнаны до определѐнной скорости и направлены на поверхность полупроводника.

Помимо рассмотренного электронно-дырочного перехода также выполняют электронно-электронные, дырочно-дырочные переходы, переходы металл-полупроводник и другие.

2.2.2. Прямое и обратное включения электроннодырочных переходов

Подсоединим электронно-дырочный переход к внешнему источнику питания так, чтобы отрицательное напряжение последнего было приложено к области электронного типа, а положительное – к области дырочного типа проводимости. Внешнее поле позволяет преодолеть заряд примесей, которые отталкивают носителей заряда от перехода. Основные носители заряда подступают гораздо ближе к границе полупроводников, и становится меньше ширина электрон- но-дырочного перехода и высота потенциального барьера. Если увеличим напряжение, прикладываемое к электронно-дырочному переходу, возрастѐт концентрация основных носителей зарядов и в области дырочного типа, и в области электронного, в результате чего значительно возрастѐт протекающий через переход диффузионный ток, который существенно превысит дрейфовый ток. Основные носители заряда преодолевают электронно-дырочный переход и попадают из области электронного типа в область дырочного типа

30 Москатов Е. А. Электронная техника. Начало. http://moskatov.narod.ru

проводимости, в которой они являются неосновными. Этот процесс называют инжекцией. Ставшие неосновными носители заряда рекомбинируют с основными носителями заряда этой области. Совершенно аналогично дырки из области дырочного типа преодолевают электронно-дырочный переход, инжектируются в область электронного типа проводимости и там рекомбинируют. Указанное включение электронно-дырочного перехода и ток, вызванный движением основных носителей заряда, называют прямым.

Теперь подключим электронно-дырочный переход к внешнему источнику питания так, чтобы положительное напряжение было приложено к области электронного типа, а отрицательное – к области дырочного типа. Внешнее поле ещѐ сильнее отталкивает носителей заряда от перехода, и возрастают и ширина электроннодырочного перехода, и высота потенциального барьера. Прямой ток через электронно-дырочный переход не течѐт. Электроны из области дырочного типа и дырки из области электронного типа будут под действием электрического поля направлены сквозь p-n переход в области тех типов проводимости, в которых они станут основными. Этот процесс носит название экстракции. Через электроннодырочный переход протекает маленький дрейфовый ток, называемый обратным, вызванный движением неосновных носителей заряда. Обратный ток почти не зависит от приложенного к электроннодырочному переходу напряжения до определѐнного предела, после которого он начнѐт возрастать из-за генерации носителей заряда в области границы разнотипных полупроводников. При увеличении температуры и обратный ток, и прямой ток возрастают, причѐм обратный ток увеличивается гораздо быстрее прямого тока. При уменьшении температуры существенного снижения токов не происходит.

Согласно сказанному, сделаем важное заключение: рассмотренный идеальный электронно-дырочный переход в прямом включении